找回密码
 立即注册
搜索
查看: 69|回复: 0

[人教版] (必修1)第四章第1节被动运输(导学案2)

[复制链接]

4万

主题

224

回帖

19万

积分

管理员

积分
199048
发表于 2026-4-11 16:10:54 | 显示全部楼层 |阅读模式
第四章 第1节 被动运输       
班级:_____________   小组编号:__________    姓名:_______________
一、学习目标
1.水进出细胞的原理。 
2.探究植物细胞的吸水和失水。(重、难点) 
3.自由扩散和协助扩散。(重点)
二、预习导学(课前完成)
【知识一:水进出细胞的原理】
1.渗透作用:
(1)概念:水分子(或其他溶剂分子)通过_________的扩散。
(2)方向:水分子从_________________到_________________的一侧渗透
2.水分子进出动物细胞[来源:学科网]
(1)外界溶液溶质的浓度比细胞质浓度_____时,细胞吸水膨胀。
(2)外界溶液溶质的浓度比细胞质浓度_____时,细胞失水皱缩。
(3)外界溶液溶质的浓度比细胞质浓度_____时,细胞形态不变。
3.水分子进出植物细胞
(1)细胞壁是___________的,伸缩性比较_______。
(2)原生质层是指_________和_______________以及两层膜之间的___________。
(3)水进出细胞主要是指水经过___________进出__________。
(4)植物细胞失水时,__________就会与___________逐渐分离开来,发生了________。
当细胞液浓度大于外界溶液的浓度时,外界溶液中的_____透过___________进入细胞液中,整个原生质层会慢慢恢复成原来状态,发生_________________。
【知识二:被动运输】
1.物质以___________方式进出细胞,___需要消耗细胞内化学反应所释放的_______,称为被动运输。
2.自由扩散:氧气、二氧化碳等气体和甘油、乙醇、苯等_______性的小分子有机物。通过____________进出细胞。
3.协助扩散_______和一些小分子有机物如_________、________等,借助细胞膜上的_______蛋白进出细胞的方式称______________
4.方框内填上相应的物质进出细胞的方式

7cfae67f721065bf70e17134684e72b7.png
5.载体蛋白:只容许与_________________相适应的分子或离子通过,每次转运时都会发生_________________。
6.通道蛋白:只容许与____________________相适配、__________相适宜的分子或离子通过。分子或离子通过通道蛋白时,____需要与通道蛋白结合。
评价:_______   
三、合作研学(当堂完成)

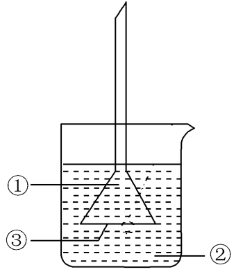
b601bc2d1ff60f7bc54567bc7b27ca98.png 1、渗透装置
(1)图中的_____(填数字序号)是半透膜
(2)若图中①为30%的蔗糖溶液,②为10%的蔗糖溶液
漏斗内的页面______(填“上升”、“下降”或“不变”)
(3)若将图中的③换成纱布,题(2)中的漏斗内的液
面______(填“高于”、“低于”或“相平”)烧杯内的
液面。
2.水分进出细胞
(1)动物细胞【红细胞细胞分别置于10%的盐水、生理盐水(0.9%盐水)、蒸馏水】

637490b91eab4639fb70fce41730a4ad.png
637490b91eab4639fb70fce41730a4ad.png
3d5bfd93ce76bc6ec5a1cbc843edafbc.png                  

                ______溶液               ______溶液             ______溶液
(2)植物细胞
【例1】下图甲和乙分别是两种状态下的植物细胞。下列相关叙述中错误的是(  )

fa92f17ee1d01c136e67f3725ab06d93.png
A.图甲→图乙是质壁分离形成的过程,该过程中细胞需要失水
B.图甲状态的出现,说明细胞壁和原生质层的伸缩性不同
C.将成熟的植物细胞置于一定浓度的KNO3溶液中,会自动发生图甲→图乙过程
D.根尖处只有成熟区的细胞才会发生图甲→图乙的变化
3.被动运输
(1)比较自由扩散和协助扩散
项目
自由扩散
协助扩散
方向[来源:Zxxk.Com]
__________
高→低
是否需要能量
不需要
__________
能否需要载体蛋白
__________
需要[来源:Zxxk.Com]
影响速率的因素
浓度差大小
_________________
(2)坐标曲线         

aa528bf50a4bb7a7f5e8e92d2cdb86eb.png
左图表示__________(填自由扩散、协助扩散),影响运输速率的因素主要是_____________。
<Object: word/embeddings/oleObject1.bin>
左图表示__________(填自由扩散、协助扩散),a点限制运输速率的因素主要是_____________,b点限制运输速率的因素主要是_____________。
四、课堂检测(当堂完成)
【选择题】
(  )1. 下列属于渗透作用发生条件的是        
A.有半透膜    B.半透膜两侧有浓度差    C.无条件   D.AB同时存在
(  )2. 成熟植物细胞中原生质层是指
细胞膜 ②细胞壁 ③液泡膜 ④细胞膜和液泡膜之间的细胞质
A.②③④          B.①②③          C.①③④          D.①②④

4e596cfda521c63ba32061c3cc14bb0d.jpg (  )3. 如图为水分进出哺乳动物成熟红细胞
示意图。下列说法正确的是        
A.1中外界溶液的浓度与细胞质的浓度大致相等
B.提取红细胞膜时,可用图1中所对应的外界溶液
C.提取红细胞中的血红蛋白时,可用图3中所对应的外界溶液
D.将去除细胞壁的植物细胞放入蒸馏水中,最终将出现类似图3所示的结果

4563f597f82f0e1456b287a6b8e98728.jpg (  )4. 根据图示判断下列说法错误的是        
A.由甲图可以判断物质的跨膜运输方式是协助扩散
B.甲图中随着细胞外物质浓度的降低,运输速率会变慢
C.甲图中箭头表示当细胞外物质浓度高于细胞内时,
物质从细胞膜外向细胞膜内扩散
D.乙图说明自由扩散过程受物质浓度的影响
【非选择题】

e4c62fa06348ce6e544495da31508673.jpg 5. 成熟的植物细胞在较高浓度的外界溶液中,会发生质壁分离现象,a是发生质壁分离的图像,b是显微镜下观察到的某一时刻的植物细胞,请据图回答下列问题:
(1)a中细胞的质壁分离指的是细胞壁
__________的分离;b细胞在蔗糖
溶液中质壁分离后,在该实验中,质壁
之间充满的是__________
(2)并不是该植物的所有活细胞均可
发生质壁分离,能发生质壁分离的细胞
还必须是__________
(3)b是某同学观察植物细胞质壁分
离与复原实验时拍下的显微照片,
此时细胞液浓度与外界溶液浓度的关系
__________________________________________________
(4)将形状、大小相同的红心萝卜A和红心萝卜B幼根各5段分别放在不同浓度的蔗糖溶液(),一段时间后,取出红心萝卜的幼根称重,结果如图c所示,据图分析:
红心萝卜B比红心萝卜A的细胞液浓度__________
在甲蔗糖溶液中加入适量的清水,一段时间之后,其细胞液浓度会__________(填“升高”“不变”或“降低”)。              
课堂检测参考答案
D  D   A    A
答案: 答案:(1)原生质层 蔗糖溶液 (2)成熟的植物细胞 (3)大于、等于或小于 (4)①低 ②降低
第四章第一节
【知识一:水进出细胞的原理】
1.(1)半透膜(2)水的相对含量高的一侧;相对含量低的一侧
2.(1)低(2)高(3)相同
3.(1)全透性;小(2)细胞膜;液泡膜;细胞质
(3)原生质层;液泡(4)原生质层;细胞壁;质壁分离;水;原生质层;质壁分离的复原
【知识二:被动运输】
1.扩散;不;能量
2.脂溶性;自由扩散
3.离子;葡萄糖;氨基酸;转运蛋白;协助扩散
4.自由扩散;协助扩散
5.自身结合部位;自身构象的改变
6.自身通道的直径和形状;大小和电荷;不
合作研学
1.(1)③(2)上升(3)相平
2.10%盐水;蒸馏水;生理盐水
例1:A
3.(1)高-低;不需要;不需要;浓度差大小和转运蛋白数量
(2)自由扩散;物质浓度;协助扩散;物质浓度;转运蛋白数量
课堂检测参考答案
D  C  A    A
答案: 答案:(1)原生质层 蔗糖溶液 (2)成熟的植物细胞 (3)大于、等于或小于 (4)①低 ②降低
您需要登录后才可以回帖 登录 | 立即注册

本版积分规则

Archiver|手机版|小黑屋|5432教案网 ( 蜀ICP备2022024372号-1 |川公网安备51152402000101号 )|网站地图

GMT+8, 2026-5-28 23:01 , Processed in 2.690108 second(s), 32 queries .

Powered by Discuz! X3.5

© 2001-2026 Discuz! Team.

快速回复 返回顶部 返回列表