找回密码
 立即注册
搜索
查看: 3|回复: 0

[人教版] (选必2)2.3.2 涡流、电磁阻尼和电磁驱动(导学案2)

[复制链接]

2万

主题

224

回帖

14万

积分

管理员

积分
141623
发表于 10 小时前 | 显示全部楼层 |阅读模式
2.3.2涡流、电磁阻尼和电磁驱动学案
一、自主预习
1. 当导体在磁场中运动时,感应电流会使导体受到__________,安培力的方向总是阻碍导体的运动,这种现象称为__________。
2.交流感应电动机就是利用__________的原理工作的。
  • 课堂探究
情景设问
  仔细观察电动机、变压器铁芯,它们的铁芯都不是整块金属,而是由许多薄片叠合而成的。那么为什么要这样做呢?用一个整块的金属做铁心不是更省事儿?

e4c8f140f0028024e8bbe137a41e8c9d.png
新知探究
考点电磁阻尼
(1)定义:当导体在磁场中运动时,导体中会产生感应电流,感应电流会使导体受到安培力,安培力总是阻碍导体运动,这种现象称为电磁阻尼。
(2)应用:磁电式仪表中利用电磁阻尼使指针迅速停下来,便于读数。
    如图 2.3-7 所示,一个单匝线圈落入磁场中,分析它在图示位置时感应电流的方向
和所受安培力的方向。安培力对线圈的运动有什么影响?

74881bab4e56dc68055222494e1e5f6a.png
   思考与讨论:磁电式仪表的线圈常常用铝框做骨架,把线圈绕在铝框上,指针也固定在铝框上(图 2.3-8)。 假定仪表工作时指针向右转动,铝框中的感应电流沿什么方向?由于铝框转动时其中有感应电流,铝框要受到安培力。安培力是沿什么方向的?安培力对铝框的转动产生什么影响?

4c9d7c3b2af997ed23337cb9b0e246db.png
取一只微安表,用手晃动表壳,观察表针相对表盘摆动的情况。用导线把微安表的两个接线柱连在一起(图 2.3-9),再次晃动表壳,表针相对表盘的摆动情况与刚才有什么不同?怎样解释这种差别?为什么灵敏电流表在运输时总要用导体把两个接线柱连在一起?

a605b215181623e4cf50cdf85f8ae77c.png
考点二:电磁驱动
观察铝框的运动
(1)定义:磁场相对于导体转动时,导体中产生感应电流,感应电流使导体受到安培力的作用, 安培力使导体运动起来,这种作用称为电磁驱动。
(2)应用:交流感应电动机。
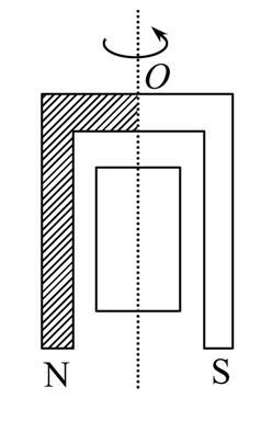
【实验情境】
 某同学做了一个如图所示的实验:一个铝框放在蹄形磁铁的两个磁极间,可以绕支点O自由转动。

9ba0498213b6757c715987f253ec60f2.jpg
【问题探究】
转动磁铁,请你观察铝框的运动并思考:
(1)怎样解释铝框的运动?
铝框会跟随着磁铁转动。原因是磁铁转动,穿过铝框的磁通量发生变化,根据楞次定律,铝框中会产生感应电流,从而铝框受到安培力的作用,在安培力的驱动下,铝框会跟随着磁铁转动。
(2)铝框转动的角速度能否等于磁铁转动的角速度?
电磁驱动中,感应电流的作用是阻碍磁铁与铝框的相对运动,但不能阻止这种相对运动,所以铝框转动的角速度一定小于磁铁转动的角速度。
思考与讨论:电磁阻尼和电磁驱动的区别与联系:        
解析:如图

9da49b1bddb2b9c90e33c7c8ea85f02d.png
三、典例精讲
例题展示
1
如图所示,在光滑水平桌面上放条形磁铁,分别将大小相同的铁球、铝球和木球放在磁铁的一端且给它们一个相同的初速度,让其向磁铁滚去,观察小球的运动情况是(  )
A.都做匀速运动

8412c0c8e4695d239f1a114ef22ce9cc.jpg B.甲、乙做加速运动
C.甲做加速运动,乙做减速运动,丙做匀速运动
D.甲做减速运动,乙做加速运动,丙做匀速运动
2:著名物理学家弗曼曾设计过一个实验,如图所示,在一块绝缘圆盘上中部安一个线圈,并接有电源,圆盘的四周固定有许多带负电的小球,整个装置支撑起来。忽略各处的摩擦,当电源接通的瞬间,下列关于圆盘(俯视)的说法中正确的是        (  )

3a46f0edf0c52292af5f87d8723b371c.jpg A.圆盘将逆时针转动
B.圆盘将顺时针转动
C.圆盘不会转动
D.无法确定圆盘是否会动
四、核心素养专练
核心素养专练
1. 如图所示是一种冶炼金属的感应炉的示意图,此种感应炉应接怎样的电源(  )

ddb4a741f8020d96b54e504a2383de61.jpg A.直流低压
B.直流高压
C.低频交流电
D.高频交流电

a6b2883620c3894cbf9d83e1a1b1b054.jpg 2.如图所示,O点正下方有一个具有理想边界的磁场,铜环在A点由静止释放向右摆至最高点B。不考虑空气阻力,则下列说法正确的是        (  )
A.AB两点在同一水平线
B.A点高于B
C.A点低于B
D.铜环将做等幅摆动
3. 金属探测器已经广泛应用于安检场所,关于金属探测器的论述正确的是(  
A.金属探测器可用于食品生产,防止细小的砂石颗粒混入食品中
B.金属探测器探测地雷时,探测器的线圈中产生涡流
C.金属探测器探测金属时,被测金属中感应出涡流
D.探测过程中金属探测器与被测物体相对静止与相对运动探测效果相同
4. 物理学的基本原理在生产生活中有着广泛应用.在下面器件中,利用电磁感应原理工作的是(  
A.回旋加速器    B.电磁炉    C.质谱仪    D.示波管
五、参考答案
参考答案
自主预习
1. 安培力电磁阻尼
2. 电磁驱动
典例精讲
1. 铁球将加速运动,其原因是铁球被磁化后与磁铁之间产生相互吸引的磁力;铝球将减速运动,其原因是铝球内产生了感应电流,感应电流产生的磁场阻碍其相对运动;木球将匀速运动,其原因是木球既不能被磁化,也不能产生感应电流,所以磁铁对木球不产生力的作用
故选:C。
2. 线圈接通电源瞬间,则变化的磁场产生变化的电场,从而导致带电小球受到电场力,使其转动。接通电源瞬间,由于金属小球带负电,再根据电磁场理论可知,变化的磁场会产生变化电场,因此向上磁场变大,则产生顺时针方向的电场,带负电的小球受到的电场力与电场方向相反,则有逆时针方向的电场力,故圆盘将沿逆时针方向运动,A正确
故选:A
核心素养专练
1线圈中的电流做周期性的变化,在附近的导体中产生感应电流,从而在导体中产生大量的热,涡流现象也是电磁感应;而交流电的频率越大,产生的热量越多,D正确,ABC错误
故选:D
2.由于铜环刚进入离开磁场过程中,会产生感应电流,一部分机械能转化为电能,所以铜环运动不到与A点等高点,B点低于A,B正确。
故选:B
3.金属探测器在探测金属时,由于在被测金属中产生的涡流从而使报警器工作.
解:A、金属探测器只能探测金属,不能用于食品生产,防止细小的砂石颗粒混入食品中;故A错误;
B、金属探测器探测金属时,被测金属中感应出涡流;故B错误,C正确;
D、探测过程中工作时金属探测器应与被测物体相对运动;相对静止时无法得出探测效果;故D错误;
故选:C
4.回旋加速器利用磁场使带电粒子旋转,电场使粒子加速.电磁炉是利用电磁感应原理.质谱仪是利用电场加速,磁场使粒子偏转.示波器利用了电场加速和偏转的原理.
解:A、回旋加速器利用磁场使带电粒子旋转,电场使粒子加速.故A错误.
B、电磁炉是利用电磁感应原理使产生涡流,将电能最终转化成内能.故B正确.
C、质谱仪是利用电场加速,磁场使粒子偏转,不是电磁感应现象.故C错误.
D、利用了电场加速和电场偏转的原理.故D错误.
故选B
您需要登录后才可以回帖 登录 | 立即注册

本版积分规则

Archiver|手机版|小黑屋|5432教案网 ( 蜀ICP备2022024372号-1 |川公网安备51152402000101号 )|网站地图

GMT+8, 2026-4-9 17:13 , Processed in 0.797944 second(s), 31 queries .

Powered by Discuz! X3.5

© 2001-2026 Discuz! Team.

快速回复 返回顶部 返回列表