找回密码
 立即注册
搜索
查看: 3|回复: 0

[人教版] (选必2)2.1.2 楞次定律(导学案2)

[复制链接]

2万

主题

224

回帖

14万

积分

管理员

积分
141623
发表于 10 小时前 | 显示全部楼层 |阅读模式
2.1.2楞次定律学案
一、自主预习        
1. 如图中,竖直放置的直导线旁有一通电的环形线圈,其环面与直导线在同一平面。当导线通以电流I时,环形线圈向右平移,则环形线圈里电流的方向是____(选填“逆时针”或“顺时针”),直导线受到环形线圈的作用力方向是______。

32c945be193ab4515c0f5755fd29ccc2.png
2.伸开右手,使拇指与其余四个手指_________,并且都与手掌在同一个平面内;让磁感线从_________进入,并使拇指指向_________的方向,这时_________所指的方向就是感应电流的方向
  • 课堂探究
情景设问
   左手定则用于判断安培力和洛伦兹力的方向,闭合电路的部分导体切割磁感线时产生的感应电流方向要如何判断呢?

67fa61233ae8a7a9031d21edb3be0e06.png
新知探究
考点右手定则
右手定则:伸开右手,使拇指与其余四指垂直,并且都与手掌在同一平面内;让磁感线从掌心进入, 拇指指向导体运动的方向, 四指所指的方向就是感应电流的方向。
右手定则

9fb4c567f009e2b2c6ef9814d2c8566e.png
思考与讨论:适用范围
闭合电路一部分导体切割磁感线产生感应电流。
考点二:楞次定律、右手定则、左手定则
楞次定律与右手定则的区别及联系:

e94cc1253bcad3ac70e3af7935b8600a.png

adf231521a41bbfacfbaa8860831ff02.png 右手定则和左手定则的区别:
特别提醒
1)判断感应电流方向时可根据具体情况选取楞次定律或右手定则;
2)区分右手定则和安培定则:右手定则判断电流的方向;安培定则判断电流产生磁场的方向。
电磁感应现象中导体运动问题的分析方法
1)确定所研究的闭合电路;
2)明确闭合电路所包围的区域磁场的方向及磁场的变化情况;
3)确定穿过闭合电路的磁通量的变化或导体是否切割磁感线;
4)根据楞次定律或右手定则判定感应电流的方向;
5)根据左手定则或“来拒去留”“增反减扩”等判断导体所受安培力及运动的方向。
楞次定律判断导体运动问题的应用技巧在电磁感应中判断导体的运动常有以下两种方法:
1)程序法:首先根据楞次定律判断出感应电流的方向;然后根据感应电流处原磁场分布情况,运用左手定则判断出导体所受的安培力方向,最终确定导体的运动情况。
2)楞次定律广泛含义法:感应电流的效果总是要反抗产生感应电流的原因,表现为
①阻碍导体的相对运动(来拒去留);
②通过改变线圈面积来“反抗”(扩大或缩小)。
两种方法中,后一种要灵活快速准确。
思考与讨论:
在图 2.1-7 中,假定导体棒 CD 向右运动。

07443142379a0a649f00ef1382d8324c.png
1. 我们研究的是哪个闭合导体回路?
2. 当导体棒 CD 向右运动时,穿过这个闭合导体回路的磁通量是增大还是减小?
3. 感应电流的磁场应该是沿哪个方向的?
4. 导体棒 CD 中的感应电流是沿哪个方向的?
解析:
1.我们用楞次定律研究的是CDEF形成的闭合回路。
2.当导体棒CD向右运动时,穿过这个闭合导体回路的磁通量增大
3.感应电流的磁场应该是垂直纸面向外的。
4.从C向D。
归纳推理:
归纳推理是由具体结论推理出一般规律的方法。
楞次定律的得出就运用了归纳推理。通过研究不同磁极插入和拔出线圈等的实验现象,逐步归纳推理得出反映感应电流方向的规律。
三、典例精讲
例题展示
1
如图所示,匀强磁场与圆形导体环平面垂直,导体ef与环接触良好,当ef向右匀速运动时(  )

5c7e129c87daba94e69a7f350d77fd47.png A.圆环中磁通量不变,环中无感应电流产生
B.整个环中有顺时针方向的电流
C.整个环中有逆时针方向的电流
D.环的右侧有逆时针方向的电流,环的左侧有顺时针方向的电流
2
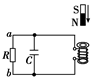
电阻R、电容器C线圈连成闭合回路,条形磁铁静止于线圈的正上方,N极朝下,如图所示,现使磁铁开始下落,在N极接近线圈上端的过程中,流过R的电流方向和电容器极板的带电情况是(  )
A.从ab,上极板带正电

b24fe51a2240ee0eac8858a5463a99fb.png B.从ab,下极板带正电
C.从ba,上极板带正电
D.从ba,下极板带正电
四、核心素养专练
核心素养专练
1. 如图所示,若套在条形磁铁上的弹性金属导线圈Ⅰ突然缩小为线圈Ⅱ,则关于线圈的感应电流及其方向(从上往下看)是(  )

b3ea76667f2f386895266e5ed473ec15.png A.有顺时针方向的感应电流
B.有逆时针方向的感应电流
C.有先逆时针后顺时针方向的感应电流
D.无感应电流
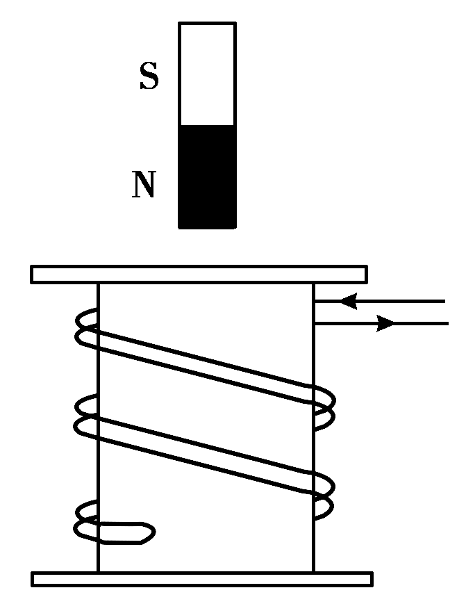
2.如图所示,把一条形磁铁从图示位置由静止释放,穿过采用双线绕法的通电线圈,此过程中条形磁铁做(  )

8038f78ac16e126cf4236a217944b4ed.png A.减速运动
B.匀速运动
C.自由落体运动
D.变加速运动
3. 如图所示,固定的水平长直导线中通有直流电流I,矩形线框与导线在同一竖直平面内,且一边与导线平行。线框由静止释放,在下落过程中 (  )

66bc2baccac2d1ed95d9320eb9d74f89.png A.穿过线框的磁通量保持不变
B.线框中感应电流方向保持不变
C.线框所受安培力的合力为零
D.线框的机械能不断增大
4.闭合线圈abcd动到如图所示的位置时,bc边所受到的磁场力的方向向下,那么线圈的运动情况是 (  )

920f67b7c83ba4caa8a56e35cea00f24.png A.向左平动进入磁场
B.向右平动离开磁场
C.向上平动
D.向下平动

五、参考答案
参考答案
自主预习
1. 顺时针  水平向右
2. 垂直;掌心;导线运动;四指
典例精讲
1. 导体ef向右切割磁感线,由右手定则可判断导体ef中感应电流由ef.而导体ef分别与导体环的左右两部分构成两个闭合回路.故环的右侧有逆时针方向的电流.环的左侧有顺时针方向的电流.
故选:D
2. N极接近线圈上端的过程中,通过线圈的磁感线方向向下,磁通量增大,由楞次定律可判定流过线圈的电流方向为逆时针(俯视),外电路电流由b流向a,同时线圈作为电源,下端应为正极,则电容器下极板电势高,带正电.选项D正确.
答案 D
核心素养专练
1.穿过线圈的磁通量包括磁体内全部和磁体外的一部分,合磁通量是向上的.当线圈突然缩小时合磁通量增加,原因是磁体外向下穿过线圈的磁通量减少.由楞次定律判断,感应电流的方向为顺时针方向。
故选:A。
2.双线绕法得到的两个线圈通电时,由安培定则知,两线圈的磁场等值反向相互抵消,合磁场为零,对磁铁无作用力.当磁铁下落时,穿过两线圈的磁通量同向增加,根据楞次定律,两线圈中产生的感应电流等值反向,也互相抵消,线圈中无感应电流,线圈对磁铁没有作用力.磁铁下落过程中只受重力,又从静止开始,所以磁铁做自由落体运动,故C对,A、B、D错
答案 C。
3.线框下落过程中,穿过线框的磁通量减小,选项A错误;由楞次定律可判断出感应电流方向一直沿顺时针方向,选项B正确;线 框受到的安培力的合力竖直向上,但小于重力,则合力不为零,选项C错误;在下落过程中,安培力对线框做负功,则其机械能减小,选项D错误。
故选:B
4.当bc受力向下时,说明感应电流方向由b指向c,当向左进入磁场时,磁通量增加,感应电流的磁场方向应该与原磁场方向相反,垂直纸面向里,用右手螺旋定则可以判断感应电流方向为顺时针方向。故只有A符合题意。
故选:A。
您需要登录后才可以回帖 登录 | 立即注册

本版积分规则

Archiver|手机版|小黑屋|5432教案网 ( 蜀ICP备2022024372号-1 |川公网安备51152402000101号 )|网站地图

GMT+8, 2026-4-9 17:18 , Processed in 1.421756 second(s), 32 queries .

Powered by Discuz! X3.5

© 2001-2026 Discuz! Team.

快速回复 返回顶部 返回列表