找回密码
 立即注册
搜索
查看: 1|回复: 0

(必修3)9.4 静电的防止与利用(导学案3)

[复制链接]

2万

主题

224

回帖

14万

积分

管理员

积分
141330
发表于 9 小时前 | 显示全部楼层 |阅读模式
9.4  静电的防止与利用
【学习目标】
  • 理解静电平衡状态的形成过程,知道处于静电平衡的导体内部电场强度处处为0
  • 解尖端放电、静电屏蔽现象,了解静电的防止的原理3. 知道静电吸附原理,了解静电吸附在静电除尘等技术中的应用4. 关注生活、生产中的静电现象,体会物理学与生产和生活的紧密联系
开启新探索生活中的静电现象
CABDE0自然界到处都有静电。梳头、脱衣、静电复印、静电除尘、生产中的切割等都可能产生静电。静电现象有利、有弊,在生产生活中,合理利用,同时,也要注意避免静电带来的危害。
【质疑提升1什么是静电平衡?静电平衡时导体内部的电场有怎样的特点?
  • 把一个不带电的金属导体放在一匀强电场中,导体内的电荷分布会不会出现变化?如果变化,会发生怎样的变化?
  • 由于电子不断移动,在导体两侧出现正负电荷逐步积累,这些等量异种电荷的积累会出现怎样的结果?
  • 金属导体内的电子会一直移动下去吗,为什么?
  • 什么是静电平衡?处于静电平衡中的导体,其内部电场强度有怎样的特点?
      答:把不带电的金属导体放入电场中,在原电场与感应电荷形成电场的共同作用下,自由电子不断运动。当导体内部各点的电场强度为时,导体内的自由电子不再发生定向移动,这时,我们说,导体达到静电平衡状态。
特点:处于静电平衡中的导体,其内部电场强度。
  • 如图所示,金属球A的半径为R,球外一个点电荷带电量为-q,到球心O的距离为L,则金属球左侧感应出极性为      的电荷。感应电荷在球心O产生电场的电场强度大小为________、方向为___________。

3853a4e00a9d2b38cb23ac675dc18175.png 【质疑提升2尖端放电
  • 处于静电平衡状态的导体,电荷的分布有怎样的特点?
答:处于静电平衡状态的导体,由于导体内部,所以,导体内部没有净电荷,电荷只分布在表面。并且越尖锐的位置,电荷的密度越,周围的电场强度越。
  • 阅读课本,理解什么是电离?为什么会电离?
   答:导体尖端周围的强电场使空气中的发生剧烈运动,并与空气分子碰撞从而使空气分子中的正负电荷,这个现象叫做空气的电离。
  • 阅读课本,理解什么是尖端放电?
   答:由空气电离产生的正负电荷中,那些所带电荷极性与导体尖端的电荷极性的粒子,由于被而奔向尖端,与尖端上的电荷,这种现象叫做尖端放电。
  • 阅读课本,说明避雷针的使用方法和原理。

a2b409f32f1aeb78e04475151c6b38e4.png 【质疑提升3静电屏蔽
  • 结合静电平衡思考,如果放入静电场中的是一个空腔导体,电荷分布又有怎样的特点?空腔内的电场强度又有怎样的特点?
  • 阅读课本,说说什么是静电屏蔽?
答:把一个电学仪器放在的金属壳里,即使壳外有电场,但由于壳内电场强度保持为,外电场对壳内的仪器产生影响。金属壳的这种作用叫做静电屏蔽。
静电屏蔽是导体静电平衡的结果。
  • 结合生活实际,你知道哪些静电屏蔽的应用?
【质疑提升4静电的防止和应用
  • 静电现象广泛的出现在生产生活之中,存在我们的周围。静电有利有弊,合理应用、注意防止。你知道哪些是应用静电、哪些是防止静电?你知道哪些防止静电、减小静电的方法?
  • 阅读课本,课本中提及哪些是应用静电的实例、哪些是防止静电的实例?
   答:应用实例:

4001873f00a9b93dacf75cd72738f4c9.png            防止实例:
  • 阅读静电除尘部分,说明,板状收集器A、线状电离器B哪个位置的电场强度大,易将空气中的分子电离?该装置除尘的原理?
【学以致用】
1.如图所示,将原来不带电的金属导体杆放到一个电荷量为+Q的小球旁边,则(  )

67a1ef741430d78acec847d963dbe05b.png A.导体左端感应出负电荷,右端感应出正电荷
B.导体杆内abc三点的场强关系是 Ea<Eb<Ec
C.导体杆内abc三点的场强大小关系是Ea>Eb>Ec
D金属导体的感应电荷在导体杆内abc三点产生的场强大小关系是E’a<E’b<E’c
2.生活中静电现象很普遍,有些有利,有些有害。下列关于静电防止与利用的说法正确的是(  )
A.油罐车尾部都有一条拖在地上的铁链,这根铁链的作用是为了利用静电
B.手术室地砖要用导电材料制成,医生要穿由导电材料制成的鞋子和外套,都是为了利用静电
C.在高大的建筑物顶端装上避雷针是为了防止静电造成危害
D.静电复印机在工作时要防止静电的产生
【素养提升专练】
  • 如图所示,一个原来不带电的半径为r的空心金属球放在绝缘支架上,右侧放一个电荷量为+Q的点电荷,点电荷到金属球的球心距离为3r。达到静电平衡后,下列说法正确的是(    )

a965dc6741f3da11b3851cedb7d5ae28.png A.金属球的左侧感应出负电荷,右侧感应出正电荷
B.点电荷Q在金属球内产生的电场的场强处为零
C.感应电荷在金属球球心处产生的电场强度大小为k<Object: word/embeddings/oleObject1.bin>
D.金属球球心的电场强度大小为k<Object: word/embeddings/oleObject2.bin>

3eec022ca7724719b05624b10f5940ad.png 2.  如图所示,在一电场强度为E的匀强电场中放有一个球形金属空腔导体,图中ab分别为导体壳壁内 部与空腔中的两点,则(  )
  • a点的电场强度为零        
  • b点的电场强度不为零
  • a点的电场强度不为零,b点的电场强度为零        
  • a、b两点的电场强度都不为零

beee71af38314006149070c71f1558c6.png 3. 把一个导体放入匀强电场中,静电平衡时(   
A.把一个负电荷从A移动到B,电场力做正功
B.三点的场强相比,EA=EB=EC
C.三点的场强相比,EA=EB<EC
D.导体内感应电荷的电场方向向
4.  关于物理学史和物理知识在生活中的应用,说法正确的有 (  )
A库仑提出电荷周围有电场,并用电场线描述它
B.库仑发现了库仑定律,并用库仑扭秤实验测出了静电力常量k
C.印染厂应保持空气干燥,避免静电积累带来的潜在危害
D.燃气灶的电子点火器是利用了尖端放电原理
5 以下实例中属于应用静电现象的是(  )
A.建筑物上安装避雷针
B.通过复印机把文件、资料等快速复印下来
C.机械设备要良好地接地
D.保持印染车间的空气有一定的湿度
6 生活中存在静电现象,有些是静电的应用,有些是要防止静电;下列关于静电说法正确的是(  )
A.在地毯中夹杂0.05~0.07mm的不锈钢丝导电纤维,是防止静电危害
B.干净的人造纤维服装,穿不了多大工夫就会蒙上一层灰尘,是静电吸引尘埃的缘故
C.在地毯上行走的人,与地毯摩擦,当他伸手拉金属门把手时,会产生火花放电
D.油罐车有一条拖在地上的铁链,这根铁链是油罐车的标记,没有其他作用

8cebd4a26505aaf30ed1e4ddae235e3c.png 7 以下各种现象中不属于静电屏蔽的是(  )
A.避雷针
B.高压带电作业的工人要穿戴金属织物的工作服
C.电子设备外套金属网罩
D.野外高压输电线上方有两条与大地相连的导线

4678b328882fdacc6b487eb0ec4b6ddb.png 8 如图所示,用金属网把验电器罩起来,再使带电金属球靠近验电器,则下面关于验电器箔片的说法正确的是(  )
A.箔片张开
B.箔片不张开
C.箔片张开的原因是金属网罩发生了静电感应而被屏蔽

7b84b9d00131cbd35a807436b948dd79.png D.箔片不张开的原因是金属网罩发生了静电感应而被屏蔽
9 如图所示,电力工作人员在几百万伏的高压线上进行带电作业,电工全身穿戴带电作业用的屏蔽服,屏蔽服是用导电金属材料与纺织纤维混纺交织成布后再做成的服装,下列说法正确的是(  )
    A.采用金属材料编织衣服的目的是使衣服不易拉破
B.采用金属材料编织衣服的目的是利用静电屏蔽
C.电工穿上屏蔽服后,高压线周围的电场仍对人有较大影响

658fbe365ac4a4e3f1619116483c5057.png D.屏蔽服中的金属网不能起到屏蔽作用
10. 静电喷涂是利用静电现象制造的,其喷涂原理如图所示,则以下说法正确的是(  )
A.涂料微粒可能带正电,也可能带负电
B.涂料微粒一定带正电
C.涂料微粒一定带负电

1ebe254f103829072617cdeccfb8738f.png D.涂料微粒可以不带电
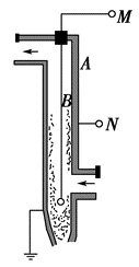
11. 物理兴趣小组制作了如图所示的静电除尘装置,在MN两点间加高压电源时,金属管内空气电离,电离的电子在静电力的作用下运动,遇到烟气中的煤粉,使煤粉带负电荷,因而煤粉被吸附到管壁上,排出的烟就清洁了。为了除尘,就此示意图,某同学让M接高压电源的________极,N接高压电源________极,由电场的分布特点可以知,M处电场强度________N处电场强度(填“大于”,“等于”或“小于”)。

9b74c0a7e6046ffabf7ea57c24abcb8d.png 12. 在真空中有两个点电荷AB,电荷量分别为+QQ,它们相距为a,如果在两个点电荷连线的中点O处,有一个半径为r2r<a)的不带电空心金属球壳,球心在O处,如图所示。则金属球壳上的感应电荷在球心O处产生的电场强度?
您需要登录后才可以回帖 登录 | 立即注册

本版积分规则

Archiver|手机版|小黑屋|5432教案网 ( 蜀ICP备2022024372号-1 |川公网安备51152402000101号 )|网站地图

GMT+8, 2026-4-8 16:19 , Processed in 1.190815 second(s), 35 queries .

Powered by Discuz! X3.5

© 2001-2026 Discuz! Team.

快速回复 返回顶部 返回列表