找回密码
 立即注册
搜索
查看: 7|回复: 0

[人教版] (必修3)13.4 电磁波的发现及应用(教案1)

[复制链接]

4万

主题

224

回帖

19万

积分

管理员

积分
192574
发表于 2026-4-8 06:08:25 | 显示全部楼层 |阅读模式
电磁波的发现及应用
【教学目标】
1.了解电磁波的产生与传播。
2.知道光是一种电磁波,以及电磁波在真空中的传播速度。
3.知道波长与频率、波速的关系。
4.认识电磁波谱。
5了解电磁波在科技、经济、社会发展中的作用。
【教学重点】
电磁波的产生与传播理解磁场与电场之间的关联
【教学过程】
一、新课导入
教师:古人都渴望顺风耳千里眼,而现今故事已经成为现实,人与人之间的交流也是越来越便捷(展示图片大家看到的画面是“神舟六号”发射场面。“神舟六号”上天后,人们是怎样知道它到达预定的地点呢?
学生回答:无线电波。
教师:无线电广播、电视、人造卫星、导弹、宇宙飞船等,传递信息和跟地面的联系都要利用电磁波。现代社会的各个部门,几乎都离不开“电磁波”,可以说“电”作为现代文明的标志,“电磁波”就是现代文明的神经中枢,或者叫现代化的代名词。
那么,电磁波是什么?它是怎样产生的?它有什么性质?怎样利用它传递信号?今天我们就来认识一下电磁波。
二、新课教学
(一)麦克斯韦电磁场理论
师首先向学生介绍麦克斯韦的生平简介,激发学生的好奇心和求知欲。
麦克斯韦(James Clark Maxwell1831~1879)是英国的理论物理学家、数学家。1831613日生于英国爱丁堡。他的父亲是一个科学家,他从小就受到科学的熏陶,15岁时向英国皇家学会递交数学论文,发表在《爱丁堡皇家学会学报》上,第一次显露出他出众的才华。1847年,考入爱丁堡大学学习数学和物理学。1850年转入剑桥大学,1854年毕业后留校工作。1871年,麦克斯韦任剑桥物理实验室主任,1874年,他主持建立的卡文许实验室竣工,任该实验室首任主任。1879115日,麦克斯韦在剑桥逝世。
麦克斯韦在电磁场理论方面的工作深受法拉第的影响。他信服法拉第的思想,决心为法拉第的场的概念提供数学方法的基础。尤其是他在伦敦皇家学院任教期间,有机会拜访了法拉第以后,更加强了他的这种信念。年轻的麦克斯韦以他卓越的数学才能和严密的逻辑推理,对法拉第的直观形象的电磁场理论加以高度概括,并总结了当时电磁学的研究成果,建立了电磁场方程,确立了电磁场理论。
师:我们现在粗略地介绍一下麦克斯韦的电磁场理论。
1.变化的磁场产生电场
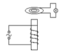
演示实验
装置如图所示,当穿过螺线管的磁场随时间变化时,上面的线圈中产生感应电动势,引起感应电流使灯泡发光。

23eae59c8dea59f45034381d7b790579.png
提问:小灯泡为什么能发光?
学生回答由于交变电流产生的磁场在不断变化,所以穿过线圈的磁通量不断变化,在线圈中产生感应电动势,形成感应电流,小灯泡发光。
提问:电路(线圈)中的电荷为什么能够定向移动呢?
学生回答受电场力。
教师总结:上述实验表明,变化的磁场在线圈里形成电场。
提问:若线圈断开,线圈中有电流、电场吗?
学生回答有电场,无电流。
提问:若线圈被拿走,它原来所处的空间有电场吗?
学生对此问题可能难以回答,但这时提出变化的磁场能在其空间产生电场已是水到渠成的时候。
师:由上面的电磁感应现象,我们可以很自然的提出一个假设:变化的磁场产生电场。
麦克斯韦认为线圈只不过用来显示电场的存在,线圈不存在时,变化的磁场同样在周围空间产生电场,这是一个普遍规律,跟闭合电路是否存在无关(如图甲、乙所示)。

9ba0f7539a0b29bae234bdea51f2024b.png
2.变化的电场产生磁场
师:麦克斯韦根据电现象与磁现象的相似性和变化的磁场能产生电场的现象,提出了另一个大胆的假设:变化的电场也能产生磁场。
演示课件中的动画加深麦克斯韦的电磁场理论理解。

3ae1647e0de9dcf37604f71f0babb3d6.png
师:总结上述两个结论,麦克斯韦认为,变化的电场和磁场是互相联系的,形成一个统一的电磁场。
麦克斯韦根据自己的理论进一步预言,如果在空间某区域中有周期性变化的电场,那么,这个变化的电场就在它周围空间产生周期性变化的磁场,这个变化的磁场又在它周围空间产生新的周期性变化的电场……可见,变化的电场和变化的磁场是相互联系的,形成一个不可分离的统一体,这就是电磁场。
电场和磁场只是这个统一的电磁场的两种具体表现。这种变化的电场和变化的磁场总是交替产生,并且由发生的区域向周围空间传播。于是一个伟大的预言诞生了――空间可能存在电磁波。

801859ea6907ba656193ed7220096282.png
(二)电磁波
教师:讲解电磁波的产生
电磁波的传播靠的是电场和磁场的相互激发,所以不需要介质,可以在真空中传播。
1.电磁波形成示意图:

cd0ea3653a0854985fca17442dd5d102.png
师:机械波有横波和纵波之分,且能够传递能量;能发生反射、折射、干涉和衍射;靠介质传播,波速v=λf
2.类比机械波的特点,我们可以得出电磁波的特点:
1)电磁波中的电场和磁场互相垂直,并且都与波的传播方向垂直,即电磁波是横波。光是一种电磁波。在前面学习的光的偏振现象已经证明了这一点。如图所示。

2596162488471ab1f8f1349cca297374.png
2)电磁波可以在真空中传播,向周围空间传播电磁能,在传播过程中,电磁波能发生反射、折射、干涉和衍射。
3)三个特征量的关系:v=λf。在真空中v=3.0×108m/s
教师与学生一起比较电磁波与机械波。
3.电磁波与机械波比较
1)传播条件:机械波传播需要介质,而电磁波不需要介质。
2)传播规律:都遵循“V=λf=λ/T”这个关系式;且电磁波也能发生反射、折射、衍射、干涉等现象。
3)传播本质:机械波传播的是机械能,电磁波传播的是电磁能。
(三)电磁波谱
教师我们知道机械波有很多种,频率各有不同。电磁波频率分为也非常广。线电波、红外线、可见光、紫外线X射线γ射线都是电磁波。按照电磁波的波长或者频率大小的顺序把它们排列起来就是电磁波谱。
教师展示电磁波谱图

dce95ad7f4633e50d9679d4895c7d4f7.png
教师:由于电磁波具有不的波长(频率因此具有不同的特性,利用这些特性,电磁波在生产生活中有着广泛的应用。
①无线电波中的中长短波:广播及其他信号传输;
无线电中的微波:卫星通信、电视等;
红外线:加热理疗;
可见光看清世界认识世界;
紫外线:消毒;
X射线诊断病情
γ射线:摧毁病变细胞
电磁波的能量
教师我们看不见电磁波,但是电磁波无处不在,生活中常常用微波炉来加热食物,说明电磁波具有能量,而且我们可以用仪器探测到电磁波的存在说明电磁波是一种真实存在的物质
(五)电磁波通信
教师:刚才讲到无线电波能够用于通信。那么电磁波是怎么完成通信的呢?
1.无线电广播
1)调制器把音频信号加载到高频电磁波上。
2)调谐器选出特定频率的信号。
3)扬声器把音频信号转换成声音。
2.电视
1)摄影机把图像变成电信号
2)发射机把电信号加载到频率很高的电磁波上
3)发射天线将高频信号发射到空中
4)电视机的接收天线把高频信号接收下来
5)电视机把图像信号取出并放大
6)显像管将图像信号还原为图像。
3.移动电话
移动电话既是无线电发射台又是无线电接收台,既可以发射电磁波,又可以接收电磁波。
、新堂练习
1.下列关于电磁波的说法中正确的是(    )
A.只要电场和磁场发生变化就能产生电磁波
B.电磁波传播需要介质
C.停止发射电磁波发射出去的电磁波仍能独立存在
D.电磁波具有能量电磁波的传播是伴随着能量向外传递的
2.电磁场理论预言了什么(    )
A.预言了变化的磁场能够在周围空间产生电场
B.预言了变化的电场能够在周围空间产生磁场
C.预言了电磁波的存在电磁波在真空中的传播速度为光速
D.预言了电能够产生磁磁能够产生
3.对于声波和电磁波的比较下面说法中正确的是(    )
A.它们都能发生反射现象
B.声音是由物体振动产生的电磁波是由变化的电磁场产生的
C.光是一种电磁波B超利用的是声波
D.它们都能在真空中传播
4.下列关于电磁波的说法中正确的是(   
A.电磁波传播时需要介质
B.电磁波是沿某一特定方向在空间传播的
C.宇航员在月球上面对面交谈时是靠移动无线电话来实现的
D.水波、声波是自然现象而电磁波是人工制造出的现象
5关于电磁波的产生原因以下说法中正确的是(   
A.只要电路中有电流通过,电路的周围就有电磁波产生
B.电磁波就是水波
C.电磁波只能在通电导体内传播
D.只要有变化的电流,周围空间就存在电磁波
6关于电磁波的波长,下面叙述中正确的是(   
A.频率越高的电磁波,波长越短
B.电磁波的波长都是3×108 mm
C.频率越低的电磁波,波长越短
D.电磁波的波长与频率有关
您需要登录后才可以回帖 登录 | 立即注册

本版积分规则

Archiver|手机版|小黑屋|5432教案网 ( 蜀ICP备2022024372号-1 |川公网安备51152402000101号 )|网站地图

GMT+8, 2026-4-22 22:38 , Processed in 0.771228 second(s), 31 queries .

Powered by Discuz! X3.5

© 2001-2026 Discuz! Team.

快速回复 返回顶部 返回列表