找回密码
 立即注册
搜索
查看: 1|回复: 0

(必修2)6.4生活中的圆周运动(解析版)(导学案1)

[复制链接]

2万

主题

224

回帖

14万

积分

管理员

积分
140701
发表于 8 小时前 | 显示全部楼层 |阅读模式
6.4生活中的圆周运动
【学习目标】
  • 进一步理解圆周运动的规律,在具体问题中会分析向心力的来源.
  • 会求非匀速圆周运动中物体在特殊点的向心力和向心加速度.
  • 知道离心现象,会根据离心运动的条件判断物体的运动,了解离心运动的应用和防止.
  • 【知识要点】
一、汽车过拱形桥
1.汽车过拱形桥(如图)

45b38ff39f6eeeb21bd3cb86b4a10570.png
  • 汽车过凹形桥(如图)

二、旋转秋千(圆锥摆模型)
1.运动特点:人及其座椅在水平面内做匀速圆周运动,悬线旋转形成一个圆锥面.

b6fda251a831ae0466a706edcfe386d5.png
图1
2.运动分析:将“旋转秋千”简化为圆锥摆模型(如图1所示)
(1)向心力:Fmgtan_α
(2)运动分析:F2r2lsinα
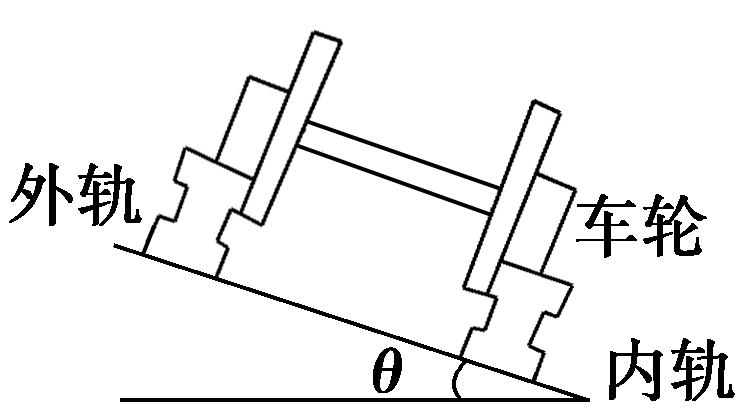
三、火车转弯
1.向心力来源:在铁路转弯处,内、外铁轨有高度差,火车在此处依据规定的速度行驶,转弯时,向心力几乎完全由重力G支持力N的合力提供,即Fmgtan_α.

f9e76adcfc46c07b8d9004e3e7d89b42.png
(1)当vv0时,FF,即转弯时所需向心力等于支持力和重力的合力,这时内、外轨均无侧压力,这就是设计的限速状态.
(2)当v>v0时,F>F,即所需向心力大于支持力和重力的合力,这时外轨对车轮有侧压力,以弥补向心力不足的部分.
(3)当v<v0时,F<F,即所需向心力小于支持力和重力的合力,这时内轨对车轮有侧压力,以抵消向心力过大的部分.
四、离心运动
1.离心运动:在做圆周运动时,由于合外力提供的向心力消失不足,以致物体沿圆周运动的切线方向飞出或远离圆心而去的运动叫做离心运动.
2.离心运动的应用与防止
(1)应用:离心机械比如洗衣机的脱水筒离心机.
(2)防止:汽车行驶在转弯的地方,不允许超过限定值,以免因为离心运动造成交通事故.
【题型分类】
题型一汽车过拱形桥问题
例1 一辆质量m=2 t的轿车,驶过半径R=90 m的一段凸形桥面,g=10 m/s2,求:
(1)轿车以10 m/s的速度通过桥面最高点时,对桥面的压力是多大?
(2)在最高点对桥面的压力等于轿车重力的一半时,车的速度大小是多少?
解析 (1)轿车通过凸形桥面最高点时,受力分析如图所示:

cedb4f8fe7818e5a633fd260f1bf2f66.png
根据牛顿第三定律,轿车在桥面最高点时对桥面压力的大小为1.78×104 N.
答案 (1)1.78×104 N (2)21.2 m/s
【同类练习】
1.如图所示,汽车以一定的速度经过一个圆弧形桥面的顶点时,关于汽车的受力及汽车对桥面的压力情况,以下说法不正确的是(  )

712c61395a871aecee29d1a128a8cb30.png
A.在竖直方向汽车受到三个力:重力、桥面的支持力和向心力
B.在竖直方向汽车可能只受两个力:重力和桥面的支持力
C.在竖直方向汽车可能只受重力
D.汽车对桥面的压力小于汽车的重力

2c9ad6ec5baf76032441e893850fc331.png
A.15 m/s         B.20 m/s
C.25 m/s          D.30 m/s
题型圆锥摆模型
例2 如图6所示,固定的锥形漏斗内壁是光滑的,内壁上有两个质量相等的小球AB,在各自不同的水平面做匀速圆周运动,以下物理量大小关系正确的是(  )

b623360a32bf4a2acab1c69cdca76dc4.png
A.速度vAvB
B.角速度ωAωB
C.向心力FAFB
D.向心加速度aAaB
答案 A

f98ebe3f255d0fc4e179169d811e7590.png
【同类练习】
1.两个质量相同的小球,在同一水平面内做匀速圆周运动,悬点相同,如图9所示,A运动的半径比B的大,则(  )
A.A所需的向心力比B的大
B.B所需的向心力比A的大
C.A的角速度比B的大
D.B的角速度比A的大
答案 A
题型三、火车转弯

ee957762b3cb87aa85cce587415511d2.png
  • 内轨对内侧车轮轮缘有挤压
  • B.外轨对外侧车轮轮缘有挤压

d8caff9f89d243f6a958fa176845b20d.png
答案 C
【同类练习】
1.在高速公路的拐弯处,通常路面都是外高内低。如图所示,在某路段汽车向左拐弯,司机左侧的路面比右侧的路面低一些。汽车的运动可看作是半径为R的圆周运动。设内外路面高度差为h,路基的水平宽度为d,路面的宽度为L。已知重力加速度为g。要使车轮与路面之间的横向摩擦力(即垂直于前进方向)等于零,则汽车转弯时的车速应等于(  )

17716aaeef016ac67a4d3ce27ecf67ff.png
  • 题型四、对离心运动的理解
  • 例4 如图所示,高速公路转弯处弯道圆半径R=100 m,汽车轮胎与路面间的动摩擦因数μ=0.23.最大静摩擦力与滑动摩擦力相等,若路面是水平的,问汽车转弯时不发生径向滑动(离心现象)所允许的最大速率vm为多大?当超过vm时,将会出现什么现象?(g=9.8 m/s2)

21fc7294c3f9602bb9db2cef628918ec.png
答案 54 km/h 汽车做离心运动或出现翻车事故
【同类练习】
1.有一列重为100 t的火车,以72 km/h的速率匀速通过一个内外轨一样高的弯道,轨道半径为400 m。(g取10 m/s2)
(1)试计算铁轨受到的侧压力大小;
(2)若要使火车以此速率通过弯道,且使铁轨受到的侧压力为零,我们可以适当倾斜路基,试计算路基倾斜角度θ的正切值。
解析 (1)火车速度v=72 km/h=20 m/s,外轨对轮缘的侧压力提供火车转弯所需要的向心力,所以有:
由牛顿第三定律可知铁轨受到的侧压力大小等于1×105 N。
(2)火车过弯道,重力和铁轨对火车的支持力的合力正好提供向心力,如图所示,

c087c4d86044e02122a47031e019e27f.png
答案 (1)1×105 N (2)0.1
【成果巩固训练】
1.火车轨道在转弯处外轨高于内轨,其高度差由转弯半径与火车速度确定.若在某转弯处规定行驶速度为v,则下列说法中正确的是:(    )

8a34d8fd99db7cc6e9b598dc7e11491c.png
A.当速度大于v时,轮缘挤压内轨
B.当速度小于v时,轮缘挤压外轨
C.若要提高规定速度v,可以通过减小内外轨道高度差来实现
D.当以v的速度通过此弯路时,火车重力与轨道面支持力的合力提供向心力
【答案】D
【解析】
火车转弯时,为了保护铁轨,应避免车轮边缘与铁轨间的摩擦,故火车受到重力和支持力的合力完全提供向心力,设此时火车的速度为<Object: word/embeddings/oleObject1.bin>,则根据牛顿第二定律得:<Object: word/embeddings/oleObject2.bin>,解得:<Object: word/embeddings/oleObject3.bin>,<Object: word/embeddings/oleObject4.bin>为内外轨道的高度差,<Object: word/embeddings/oleObject5.bin>为路面的宽度;

dc46068d63fe1e70a7d01ef244dc9dc8.png
A、若速度大于规定速度,重力和支持力的合力不够提供,此时外轨对火车有侧压力,轮缘挤压外轨,故选项A错误;
B、若速度小于规定速度,重力和支持力的合力提供偏大,此时内轨对火车有侧压力,轮缘挤压内轨,故选项B错误;
C、若要提高规定速度v,可以通过增加内外轨道高度差来实现,故选项C错误;
D、当火车以<Object: word/embeddings/oleObject6.bin>的速度通过此弯路时,火车重力与轨道面支持力的合力恰好提供向心力,内外轨都无侧压力,故选项D正确;
2.在修筑铁路时,弯道处的外轨会略高于内轨,当火车以规定的行驶速度拐弯时,内、外轨均不会受到轮缘的挤压,设此时的行驶速度大小为v,重力加速度为g,以下说法中正确的是(   )

2a215f8ab189ed782a04fd9079cebf08.png
A.该弯道的半径<Object: word/embeddings/oleObject7.bin>
B.当火车质量改变时,规定的行驶速度也相应改变
C.当火车速率小于v时,外轨将受到轮缘的挤压
D.火车在转弯过程是火车受到的重力、轨道的支持力的合力提供转弯的向心力
【答案】D
【解析】
火车拐弯时不侧向挤压车轮轮缘,靠重力和支持力的合力提供向心力,设转弯处斜面的倾角为θ,根据牛顿第二定律得:mgtanθ=m<Object: word/embeddings/oleObject8.bin>,解得:<Object: word/embeddings/oleObject9.bin>,故A错误,D正确;根据牛顿第二定律得mgtanθ=m<Object: word/embeddings/oleObject10.bin>,解得:v=<Object: word/embeddings/oleObject11.bin>,可知火车规定的行驶速度与质量无关,故B错误;当火车速率小于v时,重力和支持力的合力偏大与所需的向心力,此时内轨对火车有侧压力,轮缘挤压内轨.故C错误.故选D.
3.公路急转弯处通常是交通事故多发地带.某公路急转弯处是一圆弧,当汽车行驶的速率为v0时,汽车恰好没有向公路内外两侧滑动的趋势.则在该弯道处(    )

523ae616bcb8a45fda977ffa0279e746.png
A.当路面结冰时,与未结冰时相比, v0的值变小
B.当路面结冰时,与未结冰时相比, v0的值不变
C.车速只要低于v0,车辆便会向内侧滑动
D.车速虽然高于v0,车辆便会向外侧滑动
【答案】B
【解析】
AB.车速为v0时,汽车恰好没有向公路内外两侧滑动的趋势,即汽车只受重力和支持力;路面结冰时,若汽车只受重力和支持力,汽车受力情况不变,则v0的值不变.故A项错误,B项正确.
C.车速低于v0,车辆会受到地面对其向外的静摩擦力,阻碍其向内侧滑动;车速略低于v0,车辆不会向内侧滑动.故C项错误.
D.车速高于v0,车辆会受到地面对其向内的静摩擦力,阻碍其向外侧滑动;车速略高于v0,车辆不会向外侧滑动.故D项错误.
4.如图所示,用细线吊着一个质量为m的小球,使小球在水平面内做圆锥摆运动,关于小球受力的说法,正确的是  (     )

c43585ef809051b8e16fdbbe865d3786.png
A.受重力、拉力、向心力        B.受重力、拉力
C.只受重力        D.以上均不对
【答案】B
【解析】
由图可知,重力和绳子的拉力的合力提供向心力,物体实际受到的力为重力与绳子的拉力 ,B对.
5.如图,长为l的细线悬挂一小球,小球的质量为m,使小球在竖直平面内运动,细线与竖直方向夹角为θ,则(   )

c7ec33199d40c9e9889a7ffa45bf8e66.png
A.θ最大时,细线对小球的拉力小于mg
B.只要θ≠0,细线对球的拉力都小于mg
C.θ=0,细线对球的拉力等于mg
D.θ=0,细线对球的拉力小于mg
【答案】A
【解析】
试题分析: 在最高点处时,小球受重力、绳的拉力,沿绳方向受力平衡,故此时绳的拉力,A对;当在最低点时,由牛顿第二定律知:
3a8ef6fc690300f680e1fc0f79a83061.png ,故此时拉力大于mg,CD错。由上分析知由最高点的小于重力,到最低点的比重力大,可知在向最低点运动过程中,细绳拉力已大于重力,B错。
6.关于如图abcd所示的四种圆周运动模型,说法正确的是(  )

e34573ad1bb7035e077c0f6f856ab319.png
A.如图a所示,汽车安全通过拱桥最高点时,车对桥面的压力大于车的重力
B.如图b所示,在固定圆锥筒内做匀速圆周运动的小球,受重力、弹力和向心力
C.如图c所示,轻质细杆一端固定一小球,绕另端0在竖直面内做圆周运动,在最高点小球所受合力可能为零
D.如图d所示,火车以某速度经过外轨高于内轨的弯道时,车轮可能对内外轨均无侧向压力
【答案】CD
【解析】
【分析】
A.图a汽车安全通过拱桥最高点时,重力和支持力的合力提供向心力,方向向下,所以支持力小于重力,根据牛顿第三定律,车对桥面的压力小于车的重力,故A错误;
B. 图b沿固定圆锥筒内做匀速圆周运动的小球,受重力和弹力作用,故B错误;
C.图c中轻质细杆一端固定的小球,在最高点速度为零时,小球所受合力为零,故C正确;
D. 图d中火车以某速度经过外轨高于内轨的弯道时,受到的重力和轨道的支持力的合力恰好等于向心力时,车轮对内外轨均无侧向压力,故D正确.
故选:CD
7.公路急转弯处通常是交通事故多发地带.如图所示,某公路急转弯处是一圆弧,当汽车行驶的速率为vc时,汽车恰好没有向公路内外两侧滑动的趋势,则在该弯道处

08c65e8220ab73ec46958d82508684c8.jpg
A.路面外侧高内侧低
B.车速只要低于vc,车辆便会向内侧滑动
C.车速虽然高于vc,但只要不超出某一最高限度,车辆便不会向外侧滑动
D.当路面结冰时,与未结冰时相比,vc的值变小
【答案】AC
【解析】
路面应建成外高内低,此时重力和支持力的合力指向内侧,可以提供圆周运动向心力,故A正确.车速低于v0,所需的向心力减小,此时摩擦力可以指向外侧,减小提供的力,车辆不会向内侧滑动.故B错误.当速度为v0时,静摩擦力为零,靠重力和支持力的合力提供向心力,速度高于v0时,摩擦力指向内侧,只有速度不超出最高限度,车辆不会侧滑.故C正确.当路面结冰时,与未结冰时相比,由于支持力和重力不变,则v0的值不变.故D错误.故选AC.
8.一个内壁光滑的圆锥形筒的轴线垂直水平面,圆锥筒固定,有质量相等的小球AB沿着筒的内壁在水平面内做匀速圆周运动,如图所示,则(  )

96bde0a5486aa05901edf585c8e021da.png
A.A的角速度等于球B的角速度
B.A的线速度大于球B的线速度
C.A的运动周期小于球B的运动周期
D.A与球B对筒壁的压力相等
【答案】BD
【解析】
小球AB紧贴着内壁分别在水平面内做匀速圆周运动. 由于AB的质量相同,小球AB在两处的合力相同,即它们做圆周运动时的向心力是相同的.
由公式<Object: word/embeddings/oleObject12.bin>,由于球A运动的半径大于B球的半径,Fm相同时,半径大的角速度小,球A的角速度小于球B的角速度,故A错误.
由向心力的计算公式<Object: word/embeddings/oleObject13.bin>,由于球A运动的半径大于B球的半径,Fm相同时,半径大的线速度大,球A的线速度大于球B的线速度,故B正确;
由周期公式<Object: word/embeddings/oleObject14.bin>,所以球A的运动周期大于球B的运动周期,故C错误.
A对筒壁的压力等于球B对筒壁的压力,所以D正确.
9.有一辆质量为800kg的小汽车驶上圆弧半径为50m的拱桥,如图所示.汽v车到达桥顶时速度为5m/s.取重力加速度g=10m/s2

095282220b58cfc5c2e85854cde460ed.png
(1)画出汽车经过桥顶时,在竖直方向上的受力示意图;
(2)求汽车经过桥顶时,汽车对桥的压力的大小;
(3)汽车对桥面的压力过小是不安全的,请分析说明汽车在经过该拱桥时,速度大些比较安全,还是小些比较安全.
【答案】(1)如图所示;
48db75b1dce2902c0b4f2bb6a966b6ec.png (2)7600N;(3)速度小些比较安全.
【解析】
(1)汽车经过桥顶时,在竖直方向上的受力情况如图所示:
48db75b1dce2902c0b4f2bb6a966b6ec.png (2)以汽车为研究对象,根据牛顿第二定律<Object: word/embeddings/oleObject15.bin>代入数据解得     FN=7600 N根据牛顿第三定律,汽车对桥顶的压力大小FN′=FN=7600 N.(3)汽车对桥面的压力<Object: word/embeddings/oleObject16.bin>,汽车的行驶速度越小,桥面所受压力越大,汽车行驶越安全.
10.某高速公路的一个出口路段如图所示,情景简化:轿车从出口A进入匝道,先匀减速直线通过下坡路段至B点(通过B点前后速率不变),再匀速率通过水平圆弧路段至C点,最后从C点沿平直路段匀减速到D点停下。已知轿车在A点的速度<Object: word/embeddings/oleObject17.bin>,AB长<Object: word/embeddings/oleObject18.bin>;BC为四分之一水平圆弧段,限速(允许通过的最大速度)<Object: word/embeddings/oleObject19.bin>,轮胎与BC路段间的动摩擦因数<Object: word/embeddings/oleObject20.bin>,最大静摩擦力可认为等于滑动摩擦力,CD段为平直路段,长为<Object: word/embeddings/oleObject21.bin>,重力加速度g取<Object: word/embeddings/oleObject22.bin>。
(1)若轿车到达B点速度刚好为<Object: word/embeddings/oleObject23.bin>,求轿车在AB下坡段加速度的大小;
(2)为保证行车安全,车轮不打滑,求水平圆弧段BC半径R的最小值;
(3)轿车从A点到D点全程的最短时间。

6a2cee2113dc41b06c193ee2aa886878.png
【答案】(1)<Object: word/embeddings/oleObject24.bin>;(2)20m;(3)<Object: word/embeddings/oleObject25.bin>。
【解析】
(1)初速度<Object: word/embeddings/oleObject26.bin>,AB长<Object: word/embeddings/oleObject27.bin>,<Object: word/embeddings/oleObject28.bin>,对AB段匀减速直线运动有
<Object: word/embeddings/oleObject29.bin>
代入数据解得<Object: word/embeddings/oleObject30.bin>。
(2)轿车在BC段做圆周运动,静摩擦力提供向心力,有
<Object: word/embeddings/oleObject31.bin>
为了确保安全,则要满足<Object: word/embeddings/oleObject32.bin>,解得<Object: word/embeddings/oleObject33.bin>,即<Object: word/embeddings/oleObject34.bin>。
(3)设AB段时间为<Object: word/embeddings/oleObject35.bin>,BC段时间为<Object: word/embeddings/oleObject36.bin>,CD段时间为<Object: word/embeddings/oleObject37.bin>,全程所用最短时间为t。则通过L1
<Object: word/embeddings/oleObject38.bin>

<Object: word/embeddings/oleObject39.bin>
<Object: word/embeddings/oleObject40.bin>
<Object: word/embeddings/oleObject41.bin>
联立解得<Object: word/embeddings/oleObject42.bin>。

您需要登录后才可以回帖 登录 | 立即注册

本版积分规则

Archiver|手机版|小黑屋|5432教案网 ( 蜀ICP备2022024372号-1 |川公网安备51152402000101号 )|网站地图

GMT+8, 2026-4-7 19:27 , Processed in 0.769317 second(s), 31 queries .

Powered by Discuz! X3.5

© 2001-2026 Discuz! Team.

快速回复 返回顶部 返回列表