找回密码
 立即注册
搜索
查看: 1|回复: 0

(必修2)5.2运动的合成与分解(解析版)(导学案1)

[复制链接]

2万

主题

224

回帖

14万

积分

管理员

积分
140701
发表于 8 小时前 | 显示全部楼层 |阅读模式
5.2运动的合成与分解
【学习目标】
1.知道什么是运动的合成与分解,理解合运动与分运动等有关物理量之间的关系.
2.会确定互成角度的两分运动的合运动的运动性质.
3.会分析小船渡河问题.
【知识要点】
一、位移和速度的合成与分解
1.合运动和分运动:一个物体同时参与两种运动时,这两种运动是分运动,而物体的实际运动叫做合运动.
2.位移的合成与分解:一个物体同时发生两个方向的分位移与这个物体的合位移的效果可以相互替代.由分位移求合位移叫做位移的合成;由合位移求分位移叫做位移的分解.位移的合成与分解遵循矢量合成的平行四边形定则.
3.速度的合成与分解:物体同时发生的两个方向上的分速度与这个物体的合速度的效果也可以相互替代,速度的合成与分解也遵循平行四边形定则.
注:合运动与分运动的关系
(1)等时性:合运动与分运动经历的时间相等,即同时开始,同时进行,同时停止.
(2)独立性:一个物体同时参与了几个分运动,各分运动独立进行、互不影响,因此在研究某个分运动时,就可以不考虑其他分运动,就像其他分运动不存在一样.
(3)等效性:各分运动的相应参量叠加起来与合运动的参量相同.
3.合运动性质的判断
分析两个直线分运动的合运动的性质时,应先根据平行四边形定则,求出合运动的合初速度V0和合加速度a,然后进行判断.
(1)判断是否做匀变速运动
①若a=0时,物体沿合初速度v0的方向做匀速直线运动.
②若a≠0且a恒定时,做匀变速运动.
③若a≠0且a变化时,做非匀变速运动.
(2)判断轨迹的曲直
①若a与速度共线,则做直线运动.
②若a与速度不共线,则做曲线运动.
二、小船渡河问题
小船渡河问题一般有渡河时间最短和航程最短两类问题:

41fddd04b908c4b0e89f43b9242e9611.png
图3

1fc225e525e04a5ef9d905c7fa0b8b37.png
图4
三、关联物体速度的分解
绳、杆等连接的两个物体在运动过程中,其速度通常是不一样的,但两者的速度是有联系的(一般两个物体沿绳或杆方向的速度大小相等),我们称之为“关联”速度.解决此类问题的一般步骤如下:
第一步:先确定合运动,物体的实际运动就是合运动.
第二步:确定合运动的两个实际作用效果,一是沿牵引方向的平动效果,改变速度的大小;二是沿垂直于牵引方向的转动效果,改变速度的方向.
第三步:按平行四边形定则进行分解,作好运动矢量图.
第四步:根据沿绳或杆牵引方向的速度相等列方程.
例如,小车通过跨过滑轮的绳牵引小船B,某一时刻绳与水平方向的夹角为θ,如图所示.

614b3cf3df29a217e11aceba47e918ea.png
小船速度vB有两个效果(两个分运动):一是沿绳方向的平动,二是垂直绳方向的转动.将vB沿着这两个方向分解,其中v1vBcos θvAv2vBsin θ.
【题型分类】
题型一、运动的合成与分解
【例1】质量m=2 kg的物体在光滑水平面上运动,其分速度vxvy0随时间变化的图线如图(a)、(b)所示,求:

77789cffa2c3baf59bb556032082d215.png
  • 物体所受的合外力;
  • (2)物体的初速度;
(3)t=8 s时物体的速度;
(4)t=4 s内物体的位移.
(2)由题图可知vx0=3 m/s,vy0=0,则物体的初速度为v0=3 m/s,方向沿x轴正方向.
设位移方向与x轴正方向的夹角为α,则
答案 (1)1 N,沿y轴正方向
(2)3 m/s,沿x轴正方向
(3)5 m/s,与x轴正方向的夹角为53°
【同类练习】
1.在长约80cm-100cm一段封闭的玻璃管中注满清水,水中放一个用红蜡做成的小圆柱体(小圆柱体恰能在管中匀速上浮),将玻璃管的开口端用胶塞塞紧,然后将玻璃管竖直倒置,在红蜡烛匀速上浮的同时使玻璃管紧贴黑板面在水平方向上匀加速移动,你正对黑板面将看到红蜡块相对于黑板面的移动轨迹可能是下列选项中的(    )

b9781373aa06f3cc4d41df2c04f3e7c8.jpg
【答案】C
【解析】蜡块参加了两个分运动,竖直方向在管中以速度<Object: word/embeddings/oleObject1.bin>匀速上浮,水平方向向右匀加速直线运动,速度<Object: word/embeddings/oleObject2.bin>不断变大,将<Object: word/embeddings/oleObject3.bin><Object: word/embeddings/oleObject4.bin>合成,如图

f71cce8956343f0b4476fc7aaaaf0001.jpg
由于曲线运动的速度沿着曲线上该点的切线方向,又由于<Object: word/embeddings/oleObject5.bin>不变,<Object: word/embeddings/oleObject6.bin>不断变大,故<Object: word/embeddings/oleObject7.bin>不断变小,即切线方向与水平方向的夹角不断变小,故C正确。
2.关于运动的合成,下列说法中正确的是(  )
A.两个直线运动的合运动,一定是直线运动
B.两个直线运动的合运动,可能是曲线运动
C.两个互成角度的匀速直线运动的合运动,一定是匀速直线运动
D.两个互成角度的匀加速直线运动的合运动,一定是匀加速直线运动
答案 BC
解析 两个匀速直线运动的合成,就是其速度的合成,其合速度是确定的,等于两个分速度的矢量和,加速度为零,即合力为零,故合运动一定是匀速直线运动,C对;两个分运动的合加速度方向与合速度的方向不一定在同一直线上,既有可能做曲线运动,也有可能做直线运动,不是“一定”,而是“可能”,故A、D错,B对.
题型二、小船渡河问题
例2 已知某船在静水中的速率为v1=4 m/s,现让船渡过某条河,假设这条河的两岸是理想的平行线,河宽为d=100 m,河水的流动速度为v2=3 m/s,方向与河岸平行.试分析:
(1)欲使船以最短时间渡过河去,船的航向怎样?最短时间是多少?到达对岸的位置怎样?船发生的位移是多大?
(2)欲使船渡河过程中的航行距离最短,船的航向又应怎样?渡河所用时间是多少?

b31c2736b908eede97199854460cb7f9.png

8bbc3f606d8a0bb29668875e41576728.png
显然,当sin α=1即α=90°时,v⊥最大,t最小,此时船身垂直于河岸,船头始终垂直指向对岸,但船实际的航向斜向下游,如图所示.
船渡过河时到达正对岸的下游A处,其顺水漂流的位移为xv2tmin=3×25 m=75 m.

61f791b154d412cc289e81b9e65c117d.png
【同类练习】
  • 河宽为d,水流速度为<Object: word/embeddings/oleObject8.bin>,小汽艇在静水中航行的速度为<Object: word/embeddings/oleObject9.bin>,且<Object: word/embeddings/oleObject10.bin>,如果小汽艇航向与河岸成<Object: word/embeddings/oleObject11.bin>角,斜向上游航行,求:
  • (1)它过河需要多少时间?[来源:Z.xx.k.Com]
2)到达对岸的位置
3)若以最短的时间渡河,航向应如何?
4)若要直达正对岸,航向又应怎样?
解析】如图,
<Object: word/embeddings/oleObject12.bin>
1)根据分运动与合运动的独立性和等时性,过河时间可按下列三种方法计算:
    <Object: word/embeddings/oleObject13.bin>
    根据本题可知<Object: word/embeddings/oleObject14.bin>
    2)如上图,C点是O点正对岸上的一点,以v1 v2 为邻边做平行四边形,合速度的方向沿着OA ,则
    <Object: word/embeddings/oleObject15.bin>
3)要用最短的时间过河,船过河所用的时间
<Object: word/embeddings/oleObject16.bin>
可以看出,当<Object: word/embeddings/oleObject17.bin>即船头指向正对岸时,<Object: word/embeddings/oleObject18.bin>最小。
    4)如果直达正对岸,即<Object: word/embeddings/oleObject19.bin>
    <Object: word/embeddings/oleObject20.bin>
    则有<Object: word/embeddings/oleObject21.bin>
<Object: word/embeddings/oleObject22.bin><Object: word/embeddings/oleObject23.bin>  
题型三、关联物体的速度分解问题
例3 如图所示,做匀速直线运动的汽车A通过一根绕过定滑轮的长绳吊起一重物B,设重物和汽车的速度的大小分别为vBvA,则(  )

bca4dec8df434a708db512c6064db6d7.png
A.vAvB  B.vAvB
C.vAvB D.重物B的速度逐渐增大
解析 如图所示,汽车的实际运动是水平向左的运动,它的速度vA可以产生两个运动效果:一是使绳子伸长;二是使绳子与竖直方向的夹角增大,所以车的速度vA应有沿绳方向的分速度v0和垂直绳的分速度v1,由运动的分解可得v0vA cos α;又由于vB=v0,所以vBv0,故C正确.因为随着汽车向左行驶,α角逐渐减小,所以vB逐渐增大,故D正确.

d4ada6dba789a4cb03864b6caf8e3cd5.png
答案 CD
【同类练习】
1.如图所示,中间有孔的物块A套在光滑的竖直杆上,通过滑轮用不可伸长的轻绳将物体拉着匀速向上运动.则关于拉力F及拉力作用点的移动速度v的下列说法正确的是(  )

d194a1e811af67d4e7e35e2cee2e1877.png
A.F不变、v不变
B.F增大、v不变
C.F增大、v增大
D.F增大、v减小
答案 D
解析 设绳子与竖直方向上的夹角为θ,因为A做匀速直线运动,在竖直方向上合力为零,有:Fcos θ=mg,因为θ增大,则F增大.物体A沿绳子方向上的分速度vvcos ,因为θ增大,则v减小.D正确.
【成果巩固训练】
  • 1.关于运动的合成和分解,下列说法正确的是
  • A.合运动的速度一定大于两个分运动的速度   
  • B.合运动的时间一定大于分运动的时间
  • C.两个直线运动的合运动一定是直线运动     
  • D.两个匀速直线运动合运动一定是直线运动
  • 【答案】D
  • 【解析】
  • 试题分析:两匀速直线运动的速度大小分别为V1、V2,则合速度V大小的范围为|V1-V2|≤V≤V1+V2;合速度可以大于、等于、小于分速度;故A错误;合运动与分运动具有等时性,故B错误;平抛运动是曲线运动,其竖直分运动和水平分运动都是直线运动,故C错误;两个匀速直线运动合运动一定是直线运动,D正确;
  • 2.两个互相垂直的匀变速直线运动,初速度分别为V1和V2,加速度分别为a1和a2,它们的合运动轨迹(       ).
  • A.轨迹一定是直线
  • B.如果V1=0,V2=0,那么轨迹一定是曲线
  • C.轨迹一定是曲线
  • D.如果 ,那么轨迹一定是直线
  • 【答案】D
  • 【解析】当v1=v2=0,则将沿着合加速度方向,做匀加速直线运动,那么轨迹一定是直线,故B错误;如果v1≠0,v2≠0,当合初速度方向与合加速度方向共线时,则做直线运动,若两者不共线时,则那么轨迹一定是曲线,故AC错误;当合速度的方向与合加速度的方向在同一条直线上时,即时,运动轨迹为直线,故D正确;故选D。
  • 3.如图所示,跳伞员在降落伞打开一段时间以后,在空中做匀速运动.若跳伞员在无风时竖直匀速下落,着地速度大小是4.0 m/s.当有正东方向吹来的风,风速大小是3.0m/s,则跳伞员着地时的速度(  )

  • A.大小为5.0 m/s,方向偏西
  • B.大小为5.0 m/s,方向偏东
  • C.大小为7.0 m/s,方向偏西
  • D.大小为7.0 m/s,方向偏东
  • 【答案】A
  • 【解析】
  • 将跳伞员的速度分解,竖直分速度还是4m/s,当水平分速度为3m/s,根据平行四边形定则得,合速度为5m/s,方向偏西.故A正确,B、C错误.
  • 故选A.
  • 4.如图所示,在水平地面上做匀速直线运动的汽车,通过定滑轮用绳子吊起一个物体,若汽车和被吊物体在同一时刻的速度分别为v1和v2,则下面说法正确的是(  )

  • A.物体做匀速运动,且v2=v1
  • B.物体做加速运动,且v2>v1
  • C.物体做加速运动,且v2<v1
  • D.物体做减速运动,且v2<v1
  • 【答案】C
  • 【解析】
  • 试题分析:小车的运动可分解为沿绳方向和垂直于绳的方向两个运动,其中沿绳方向的运动与物体上升的运动速度相等.
  • 将汽车的运动分解为沿绳子方向和垂直于绳子方向, 设两段绳子夹角为,沿绳子方向的速度等于重物的速度大小重物的速度,所以,汽车向右匀速行驶,则增大,则增大,所以重物的速度增大,物体在做加速运动,故C正确.
5.在宽度为d的河中,水流速度为v2,船在静水中速度为v1(且v1<v2),船头方向可以选择,现让该船开始渡河,则该船
A.不管船头与河岸夹角是多少,渡河时间和水速均无关
B.过河的最短渡河时间为<Object: word/embeddings/oleObject24.bin>,此时需船头垂直河岸,但不是垂直过河
C.过河的最短位移是<Object: word/embeddings/oleObject25.bin>
D.当最短位移过河时,船头与河岸夹角为<Object: word/embeddings/oleObject26.bin><Object: word/embeddings/oleObject27.bin>,船身斜向下游过河
【答案】ABC
【解析】
A. 船渡河的时间只由船沿着垂直于河岸方向的分速度决定,不管船头与河岸夹角是多少,渡河时间和水速均无关,选项A正确;
B. 当船头垂直河岸时,船沿着垂直于河岸方向的分速度最大,此时过河的时间最短,为<Object: word/embeddings/oleObject28.bin>,但船的实际运动路径不是垂直过河岸,选项B正确;
CD. 因v1<v2,则船不能垂直于河岸渡河,当船的速度方向与合速度方向垂直时,船渡河的位移最短,由几何关系可知,此时合速度的方向与河岸的夹角为α,<Object: word/embeddings/oleObject29.bin>,则渡河的最小位移是<Object: word/embeddings/oleObject30.bin>,此时船身斜向上游方向,选项C正确,D错误。
6.一小船欲渡过宽为d的河流,船头方向始终与河岸垂直,河水的流速<Object: word/embeddings/oleObject31.bin>与时间t的关系如图甲所示,小船在静水中的速度<Object: word/embeddings/oleObject32.bin>与时间t的关系如图乙所示.设小船从t=0时开始出发,t=t0时恰好到达河对岸,则下列说法正确的是(  )

e3a7c2aa934b0e334016f627fbd28cde.png
A.小船到达河对岸时的速度为<Object: word/embeddings/oleObject33.bin>
B.小船过河的平均速度为<Object: word/embeddings/oleObject34.bin>
C.小船到达河对岸时的位移为<Object: word/embeddings/oleObject35.bin>
D.小船到达河对岸的过程中做匀变速运动
【答案】AD
【解析】船头方向始终与河岸垂直,则渡河最短时间为t0,小船在静水中做初速度为零的匀加速运动,当到达河岸时速度为静水中速度与水流速度的合成,即为<Object: word/embeddings/oleObject36.bin>,故A正确;小船在静水中做初速度为零的匀加速运动,水流速度不变,则小船过河的平均速度为<Object: word/embeddings/oleObject37.bin>,故B错误;由于沿河岸方向上的位移为:x=v0t0,所以小船到达河对岸时的位移<Object: word/embeddings/oleObject38.bin>,故C错误;由题意可在,小船做匀变速曲线运动,故D正确;故选AD.
7.质量为2kg的物体在x-y平面上作曲线运动,在x方向的速度图象和y方向的位移图象如图所示,下列说法正确的是(    )

69c5287147dea76d754dfead349ea28a.png
A.质点初速度的方向与合外力方向垂直
B.2s末质点速度大小为6m/s
C.质点的初速度为5m/s
D.质点所受的合外力为3N
【答案】CD
【解析】
从图象可知,物体在x轴做初速度为3m/s,加速度为1.5m/s2的匀加速直线运动,物体在y轴方向做沿y轴负方向,速度为4m/s的匀速直线运动。所以物体所受的合外力大小为F=ma=3N,方向沿x轴正方向,质点的初速度为,方向与x轴方向成53°,A选项错;CD选项正确;2s末质点速度沿x轴方向大小为,B错。
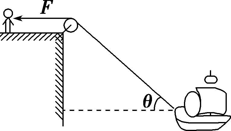
8.如图所示,人在岸上拉船,已知船的质量为m,水的阻力恒为f,当轻绳与水平面的夹角为θ时,人的速度为v,人的拉力为F(不计滑轮与绳之间的摩擦),则以下说法正确的是(  )

3d3e80cad59d816db07e60d1b69d012b.png
A.船的速度为<Object: word/embeddings/oleObject39.bin>        B.船的速度为vsinθ
C.船的加速度为<Object: word/embeddings/oleObject40.bin>        D.船的加速度为<Object: word/embeddings/oleObject41.bin>
【答案】AC
【解析】
AB.船运动的速度是沿绳子收缩方向的速度和绕定滑轮的摆动速度的合速度,根据平行四边形定则有,v=vcosθ,则船的速度为<Object: word/embeddings/oleObject42.bin>,A正确,B错误;
CD.对小船受力分析,有Fcosθ-f=ma,因此船的加速度大小为<Object: word/embeddings/oleObject43.bin>,C正确,D错误。
9.如图甲所示,在杂技表演中,猴子沿竖直杆向上运动,其<Object: word/embeddings/oleObject44.bin>图像如图乙所示,同时人顶着杆沿水平地面运动的<Object: word/embeddings/oleObject45.bin>图像如图丙所示。若以地面为参考系,下列说法正确的是(  )

353804c7f45f47cb0c41acdb175487dd.png
A.猴子的运动轨迹为直线
B.猴子在0~2s内做匀变速曲线运动
C.<Object: word/embeddings/oleObject46.bin>时猴子的速度大小为8m/s
D.猴子在0~2s内的加速度大小为4m/s2
【答案】BD
【解析】
AB.由题图乙可知,猴子在竖直方向做初速度为<Object: word/embeddings/oleObject47.bin>,加速度大小为
<Object: word/embeddings/oleObject48.bin>
的匀减速运动,水平方向做速度大小为
<Object: word/embeddings/oleObject49.bin>
的匀速运动,其合运动为曲线运动,故猴子在<Object: word/embeddings/oleObject50.bin>内做匀变速曲线运动,选项A错误,B正确;
C.<Object: word/embeddings/oleObject51.bin>时猴子的速度大小为
<Object: word/embeddings/oleObject52.bin>
选项C错误;
D.猴子在<Object: word/embeddings/oleObject53.bin>内的加速度大小为<Object: word/embeddings/oleObject54.bin>,选项D正确。
故选BD。
10.物体在一平面直角坐标系内运动,开始时位于坐标原点,物体在x轴和y轴方向运动的速度-时间图像分别如图甲、乙所示。求:
(1) t1=2s时物体的速度大小;
(2) t2=4s时物体的位移大小。

543a466290d43ebfca90579a36a6d471.png
【答案】(1)2.5m/s;(2)10m。
【解析】
由图像可知,物体沿<Object: word/embeddings/oleObject55.bin>轴正方向作<Object: word/embeddings/oleObject56.bin> 的匀速直线运动,沿<Object: word/embeddings/oleObject57.bin>轴正方向作初速度为0,加速度为<Object: word/embeddings/oleObject58.bin> 的匀加速直线运动         
(1)<Object: word/embeddings/oleObject59.bin>s时,x轴方向速度
<Object: word/embeddings/oleObject60.bin>
y轴方向速度
<Object: word/embeddings/oleObject61.bin>
合速度大小
<Object: word/embeddings/oleObject62.bin>
代入数据得
<Object: word/embeddings/oleObject63.bin>
(2)<Object: word/embeddings/oleObject64.bin>s时,x轴方向位移
<Object: word/embeddings/oleObject65.bin>
y轴方向位移
<Object: word/embeddings/oleObject66.bin>
合位移大小
<Object: word/embeddings/oleObject67.bin>
代入数据得
<Object: word/embeddings/oleObject68.bin>
11.某直升机空投物资时,可以停留在空中不动,设投出的物资离开飞机后由于降落伞的作用在空中能匀速下落,无风时落地速度为5 m/s.若飞机停留在离地面100 m高处空投物资,由于风的作用,使降落伞和物资以1 m/s的速度匀速水平向北运动,求:
(1)物资在空中运动的时间;
(2)物资落地时速度的大小;
(3)物资在下落过程中水平方向移动的距离.
【答案】(1)20 s (2) <Object: word/embeddings/oleObject69.bin> m/s (3)20 m
【解析】
物资的实际运动可以看做是竖直方向的匀速直线运动和水平方向的匀速直线运动两个分运动的合运动.
(1)分运动与合运动具有等时性,故物资实际运动的时间与竖直方向分运动的时间相等.
所以th/vy=100/5 s=20 s
(2)物资落地时vy=5 m/s,vx=1 m/s,
由平行四边形定则得
v<Object: word/embeddings/oleObject70.bin><Object: word/embeddings/oleObject71.bin> m/s=<Object: word/embeddings/oleObject72.bin> m/s
(3)物资在下落过程中水平方向移动的距离为:
xvxt=1×20 m=20 m.
答:(1)物资在空中的运动时间20s;
(2)物资落地时的速度大小<Object: word/embeddings/oleObject73.bin>m/s;
(3)物资下落时水平向右移动的距离20m.
12.小船匀速横渡一条河流,当船头垂直对岸方向航行时,在出发点10min到达对岸下游120m处,若船头保持与河岸成α角向上游航行,在出发12.5min到达正对岸,求:
(1)水流的速度,
(2)船在静水中的速度,
(3)河的宽度,
(4)船头与河岸间的夹角α
【答案】(1)0.2m/s;(2)200m;(3)<Object: word/embeddings/oleObject74.bin>m/s;(4)53°
【解析】
(1)设静水速为v1,水流速为v2
船头保持跟河岸垂直的方向航行时有:v2t=120m,
则有:v2=<Object: word/embeddings/oleObject75.bin>m/s=0.2m/s
(2、3)而v1t=d,当合速度与河岸垂直时,合速度为:
<Object: word/embeddings/oleObject76.bin> ,且d=vt′.
联立以上各式解得:d=200m,v1=<Object: word/embeddings/oleObject77.bin>m/s.
(4)斜着航线时,船的速度为:v1sinα=<Object: word/embeddings/oleObject78.bin>
<Object: word/embeddings/oleObject79.bin>
解得:α=53°

您需要登录后才可以回帖 登录 | 立即注册

本版积分规则

Archiver|手机版|小黑屋|5432教案网 ( 蜀ICP备2022024372号-1 |川公网安备51152402000101号 )|网站地图

GMT+8, 2026-4-7 19:24 , Processed in 0.853553 second(s), 31 queries .

Powered by Discuz! X3.5

© 2001-2026 Discuz! Team.

快速回复 返回顶部 返回列表