找回密码
 立即注册
搜索
查看: 1|回复: 0

(必修2)《3 实验:探究平抛运动的特点》课堂教学(统编人教版).doc(教案3)

[复制链接]

2万

主题

224

回帖

14万

积分

管理员

积分
140701
发表于 9 小时前 | 显示全部楼层 |阅读模式
3.实验:探究平抛运动的特点
1.知道什么是抛体运动和平抛运动。
2.能根据运动的合成与分解以及对比法分别探究平抛运动竖直方向和水平方向的分运动特点。

f143b589a27d1ce00b703a6a42b50a01.png
1.抛体运动和平抛运动
2实验原理
(1)实验思路:根据运动的合成与分解原理,平抛运动可看作沿竖直方向和水平方向的两个分运动的合运动。
(2)实验方案
方案一:用频闪照相等方法记录做平抛运动的物体经过相等时间间隔所到达的位置,获得水平方向和竖直方向的位移随时间变化的具体数据,便可以独立分析水平方向和竖直方向的运动规律。
方案二:在水平和竖直两个方向中,先研究其中一个方向的运动规律,再设法分析另外一个方向的运动规律。
3实验器材(方案二)
(1)探究平抛运动竖直分运动特点的实验器材:小锤一个、两个相同的小铁球、平抛竖落仪一个。
(2)探究平抛运动水平分运动特点的实验器材:斜槽、钢球、白纸、复写纸、铅垂线、铅笔、平抛铁架台(有背板及水平放置的可上下调节的挡板)。

6a8b1011dacc44d1c813d39079d06c38.png
课堂任务
171a0178e48b7f4c709157e5cb2ee3d3.png  探究过程·获取数据
仔细观察下列图片,认真参与师生互动

b797e76c0995db665fee1e9ca062005d.png

92171597bfda3980e4db1cf66cfc280c.png

fcb896b5babc24c0a7ab36552abdb7fa.png
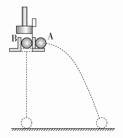
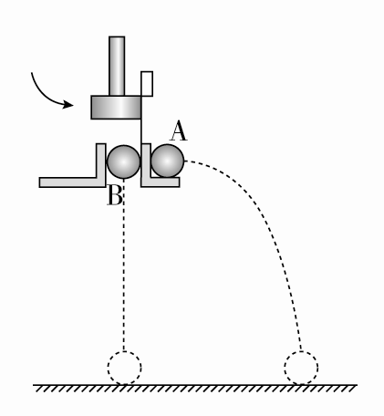
活动1:如图甲,如何探究平抛运动竖直方向的运动特点?
提示:如图甲所示,用小锤打击弹性金属片后,A球沿水平方向抛出,同时B球被松开,自由下落。A、B两球同时开始运动。观察两球哪个先落地。改变小球距地面的高度和打击的力度,重复这个实验。实验时,也可以用耳朵来判断两球落地时刻的先后。
活动2:探究平抛运动竖直方向的运动特点时需要注意什么?
提示:用小锤水平击打在弹性金属片中央位置,确保A球能够沿水平方向飞出;调节好平抛运动演示器,确保用小锤击打弹性金属片的同时B球被松开,自由下落;A、B两小球选择体积小、质量大,大小、材料、质量完全相同的小球;确保A、B两球运动前高度相同,且落到同一水平面上。
活动3:如图乙,如何探究平抛运动水平方向的运动特点?
提示:在图乙所示的装置中,斜槽M末端水平。钢球在斜槽中从某一高度滚下,从末端飞出后做平抛运动。在装置中有一个水平放置的可上下调节的倾斜挡板N,钢球飞出后,落到挡板上。实验前,先将一张白纸和复写纸固定在装置的背板上。钢球落到倾斜的挡板上后,就会挤压复写纸,在白纸上留下印迹。上下调节挡板N,通过多次实验,在白纸上记录钢球所经过的多个位置。最后,用平滑曲线把这些印迹连接起来,就得到钢球做平抛运动的轨迹。
根据活动1得出的平抛运动在竖直方向分运动的规律,设法确定相等的进间间隔。再看相等的时间内水平分运动的位移,进而确定水平分运动的规律。
活动4:探究平抛运动水平方向的运动特点时需要注意什么?
提示:调节铁架台,通过观察铅垂线,使铁架台底座水平,从而使挡板N水平,背板在竖直面内;斜槽的末端必须调节水平;钢球必须从同一位置滚下;钢球应选比较小的,使记录的位置尽量准确。
课堂任务
d55ebfb4a036f1143534f141b49bcfa0.png  分析数据·得出结论
活动1:探究平抛运动竖直方向运动特点时,A、B两球哪个先落地?说明什么?
提示:观察发现,A、B两球同时落地。改变小球距地面的高度和打击的力度,重复实验时,两球在空中的运动时间和A球的水平初速度大小发生改变,但A、B两球总是同时落地。说明A球在竖直方向的运动与B球完全相同,平抛运动在竖直方向的运动为自由落体运动。
活动2:得到钢球做平抛运动的轨迹后,如何选取坐标原点和坐标轴?
提示:一般以小球出槽口时球心在白纸上的投影点为坐标原点,以水平方向为x轴,以竖直方向为y轴。
活动3:如图曲线OP是钢球做平抛运动的轨迹,如何由竖直方向的分运动确定相等的时间间隔

d5dfdccf2c8ca9ccc9e80014ec4b331f.png
提示:竖直分运动为自由落体运动,以起点开始,相邻相等时间间隔的位移之比为1359,在y轴上从O点起,据此量出各段位移,即可确定相等的时间间隔
活动4:根据运动的合成与分解,测出相等时间间隔内的水平位移,你能得出什么结论?
提示:平抛运动在水平方向上的分运动是匀速直线运动。
活动5:由实验得出平抛运动的特点是什么?
提示:由实验探究可知,平抛运动是水平方向的匀速直线运动和竖直方向的自由落体运动的合运动。
课堂任务
c3bcdefef47c722afb3ecdb5f3c5ed67.png  误差分析·实验创新

e25d29d486082457b7212f9c258a39a3.png
1.A、B两球由于不完全相同,因而在空中所受阻力不同,产生误差。
2.探究平抛运动竖直方向的运动特点时,用小锤击打弹性金属片时,A球不能完全水平飞出,B球不能立即被松开、同时下落,产生误差。
3.安装斜槽时,其末端切线不水平,导致小球离开斜槽后不做平抛运动,产生误差。
4.建立坐标系时,坐标原点的位置确定不准确,导致轨迹上各点的坐标不准确,产生误差。
5.小球每次自由滚下时起始位置不完全相同,导致轨迹出现误差。
6.确定小球运动的位置时不准确,会导致误差。
7.量取轨迹上各点坐标时不准确,会导致误差。

8cc31a7ba0c4f9c7d9eeaabdcee70cef.png
1先研究水平方向的运动,再研究竖直方向的运动
可用图a装置,研究水平方向的运动。在如图a所示的装置中,两个相同的弧形轨道M、N分别用于发射小铁球P、Q。两轨道上端分别装有磁铁C、D,调节电磁铁C、D的高度,使ACBD,从而保证小铁球P、Q在轨道出口处的水平初速度v0相等。
将小铁球P、Q分别吸在电磁铁C、D上,然后切断电源,使两小铁球能以相同的初速度v0同时分别从轨道M、N的下端射出。观察两小铁球是否同时到达E处,发生碰撞。增加或者减小轨道M的高度,再进行实验,观察两小铁球是否发生碰撞。

28e0a6b40a85b487ee77bb05732ca200.png
再描绘出平抛运动的轨迹,以水平方向为x轴,竖直方向为y轴,从起点的位置开始,水平方向上相等的位移对应的时间间隔相等,以此确定出相等的时间间隔,测出从起点开始连续相等的时间间隔内的竖直方向的位移,即可研究竖直方向的运动。
2用喷水法描绘物体做平抛运动的轨迹
如图b所示,倒置的饮料瓶内装着水,瓶塞内插着两根两端开口的细管,其中一根弯成水平,且水平端加接一根更细的硬管作为喷嘴。水从喷嘴中射出,在空中形成弯曲的细水柱,它显示了平抛运动的轨迹,可在装置一侧竖直放置一玻璃板,将平抛运动的轨迹描在玻璃板上。

7291e7d5b3dcb7d8270a2ac8e341b5fe.png
3用传感器和计算机描绘物体做平抛运动的轨迹
用传感器和计算机可以方便地描出做平抛运动的物体的轨迹。一种设计原理如图c所示。物体A在做平抛运动,它能够在竖直平面内向各个方向同时发射超声波脉冲和红外线脉冲。在它运动的平面内安放着超声—红外接收装置B。B盒装有B1、B2两个超声—红外接收器,并与计算机相连。B1、B2各自测出收到超声脉冲和红外脉冲的时间差,并由此算出它们各自与物体A的距离。从图c可以看出,在这两个距离确定之后,由于B1、B2两处的距离是已知的,所以物体A的位置也就确定了。计算机可以即时给出A的坐标,如图d所示。

c097f96159f152e59468d645c7e1ce0a.png
课堂任务
9204d4bd6e43bc8dea3ac2848e4ca3f1.png  典例探究·提升能力
 如图所示为喷出细水流的数码相片,照片中刻度尺的最小刻度为毫米,细水流是水平喷出的,试根据该照片研究:
(1)已知水流做平抛运动的水平分运动是匀速直线运动,找出研究其竖直分运动的方法,并证明竖直分运动是初速度为0的匀加速直线运动;
(2)已知竖直方向分运动的加速度a=10 m/s2,试求水流喷出的速度。

e9ffc4fdce0e6ff69391cf45eed742b6.png

ead093299ce5bfca616cc36d2ea23894.png (1)匀速直线运动的位移与时间有什么关系?
提示:xv0t
(2)初速度为0的匀加速直线运动的位移与时间有什么关系?
[规范解答] (1)已知水流做平抛运动的水平分运动是匀速直线运动,可以按水平方向的距离都等于2 cm选取几个点,发现这几个点恰好落在坐标纸格线的交点上,如(2,1)、(4、4)、(6、9)等,可见在相等的时间间隔内,竖直方向的位移之比恰好等于135,证明平抛运动在竖直方向的分运动是初速度为0的匀加速直线运动。
[完美答案] (1)见规范解答 (2)0.447 m/s

c7fe5d896b1445ae49b95094a8068e86.png
平抛运动是简单的曲线运动,由两个简单的直线运动合成:水平方向的匀速直线运动和竖直方向的自由落体运动。

(1)某同学先观察了如图甲所示的演示实验,A、B两球同时落地,说明____________________________________________________________________;
该同学设计了如图乙所示的实验:将两个斜滑道固定在同一竖直面内,最下端水平,把两个质量相等的小钢球,从斜面的同一高度由静止同时释放,滑道2与光滑水平板衔接,则他将观察到的现象是____________________________________________________________________,
这说明____________________________________________________________________。

1984b5918a9553a541abf0c6290e6b8b.png
(2)该同学用频闪照相机拍摄到如图丙所示的小球做平抛运动的照片,图中背景方格的边长为L=5 cm,ABC是拍摄的三个小球位置,如果取g=10 m/s2,那么:
照相机拍摄时每________ s曝光一次;
小球做平抛运动的初速度的大小为________ m/s。
答案 (1)平抛运动在竖直方向上是自由落体运动 球1落到光滑水平板上并击中球2 平抛运动在水平方向上是匀速直线运动
(2)0.1 1.5
解析 (1)题图甲中A、B两球同时落地,说明B球的平抛运动在竖直方向的分运动与A球的运动相同;题图乙中球1与球2恰好在平板上相碰,说明球1在水平方向的分运动与球2的运动相同。
(2)由ΔygT2,Δy=2L=0.1 m,可得T=0.1 s。
xv0Tx=3L=0.15 m,可得v0=1.5 m/s。

eb62006350b262f1357a20253e7b8163.png
1.(实验原理与操作)用如图所示的装置研究平抛运动。小锤打击弹性金属片,A球水平抛出,同时B球被松开,自由下落。关于该实验,下列说法中不正确的是(  )

c698e8a96e65b6d3bb4d555a0798bf2f.png
A.两球同时落地
B.应改变装置的高度,多次实验
C.实验能说明A球在竖直方向上做自由落体运动
D.实验能说明A球在水平方向上做匀速直线运动
答案 D
解析 根据装置图可以知道,两球由相同高度同时运动,A做平抛运动,B做自由落体运动,因此将同时落地,所以A正确;要多次实验,观察现象,则应改变装置的高度,多次实验,所以B正确;因为两球同时落地,因此说明A、B在竖直方向运动规律是相同的,故根据实验结果可以知道,平抛运动在竖直方向的分运动是自由落体运动,所以C正确,D错误。
2.(实验原理与数据分析)为了探究平抛运动的规律,将小球A和B置于同一高度,在小球A做平抛运动的同时静止释放小球B。同学甲直接观察两小球是否同时落地,同学乙拍摄频闪照片进行测量、分析。通过多次实验(  )

d23f0b0bfc4093cd09ac69420a7f31d3.png
A.只有同学甲能证明平抛运动在水平方向是匀速运动
B.两位同学都能证明平抛运动在水平方向是匀速运动
C.只有同学甲能证明平抛运动在竖直方向是自由落体运动
D.两位同学都能证明平抛运动在竖直方向是自由落体运动
答案 D
解析 在图甲的实验中,改变高度和平抛小球的初速度大小,发现两球同时落地,说明平抛运动在竖直方向上做自由落体运动,不能得出水平方向上的运动规律。在图乙的实验中,通过频闪照片,发现自由落体运动的小球与平抛运动的小球任何一个时刻都在同一水平线上,知平抛运动在竖直方向上的运动规律与自由落体运动相同,所以平抛运动竖直方向上做自由落体运动。频闪照片显示小球在水平方向相等时间内的水平位移相等,知水平方向做匀速直线运动,所以D正确,A、B、C错误。
3.(综合)(多选)为了研究平抛运动的分运动性质,用如图所示的装置进行实验。小锤打击弹性金属片,A球水平抛出,同时B球被松开下落。关于该实验,下列说法中正确的是(  )

6a30049f816344e9e53b18a4bfeb7093.png
A.两球的质量必须要相等
B.如果两球同时落地,则可以验证平抛运动的竖直分运动是自由落体运动
C.控制小锤打击力度来改变平抛初速度多次实验,可以验证分运动的独立性
D.该实验也能研究平抛运动的水平分运动性质
答案 BC
解析 平抛运动过程中,在竖直方向上做自由落体运动,运动性质与质量无关,A错误;改变A球速度后仍然会和B球同时落地,证明平抛运动的竖直分运动不受水平分运动的影响,验证了分运动的独立性,B、C正确;本实验只能研究竖直方向上的分运动,D错误。
4.(注意事项)如图,在探究平抛运动的水平分运动的规律的实验中,下列哪些因素对探究规律没有影响(  )

953d6360276cb74f03d19ed7d8e0d7d5.png
A.弧形轨道末端不水平
B.弧形轨道不光滑
C.实验小球为轻质小球
D.水平轨道不光滑
答案 B
解析 弧形轨道末端不水平,小球抛出后不做平抛运动,对实验有影响,故A错误;只要每次释放小球的位置相同,轨道末端水平,弧形轨道是否光滑对实验没有影响,故B正确;实验小球为轻质小球,空气阻力对小球影响较大,故C错误;水平轨道不光滑,沿水平轨道运动的小球做减速直线运动,对实验有影响,故D错误。
5.(实验原理)(多选)在探究平抛运动的规律时,可以选用如图所示的各种装置图,则以下操作合理的是(  )

ea6d0b2104fa490cc7448c98b651f4b6.png
A.选用装置图甲研究平抛物体的竖直分运动时,应该用眼睛看A、B两球是否同时落地
B.选用装置图乙并要获得稳定的细水柱显示出平抛运动的轨迹,竖直管上端A一定要低于水面
C.选用装置图丙并要获得钢球做平抛运动的轨迹,每次不一定从斜槽上同一位置由静止释放钢球
D.除上述装置外,还可以用数码照相机拍摄钢球做平抛运动时每秒15帧的录像以获得平抛运动的
答案 BD
解析 小球下落的速度很快,运动时间很短,用眼睛很难准确判断出小球落地的先后顺序,应听声音,A不合理;竖直管的上端A应低于水面,这是因为竖直管与空气相通,A处的压强始终等于大气压,不受瓶内水面高低的影响,因此可以得到稳定的细水柱,B正确;只有每次从同一高度释放钢球,钢球做平抛运动的初速度才相同,C错误;获得每秒15帧的录像就等同于做平抛运动实验时描方格图的方法,同样可以探究平抛运动的规律,D正确。
6.(数据处理)如图所示为频闪摄影方法拍摄的研究物体做平抛运动规律的照片,图中A、B、C为三个同时由同一点出发的小球。AA为A球在光滑水平面上以速度v做匀速直线运动的轨迹;BB为B球以速度v被水平抛出后的运动轨迹;CC为C球做自由落体运动的轨迹。通过分析上述三条轨迹可知,平抛运动可分解为水平方向上的________和竖直方向上的________。

8c1ba8f1542c4ee2d5c115934f1ef601.png
答案 匀速直线运动 自由落体运动
解析 由题知,A球沿水平方向做匀速直线运动,B球做平抛运动,C球做自由落体运动,相同时间内,A、B两球水平位移相等,B、C两球竖直位移相等,所以说明平抛运动的物体水平方向做匀速直线运动,竖直方向做自由落体运动。
7.(综合)研究平抛运动实验中,
(1)图1是用横挡条卡住平抛小球,用铅笔标注小球最高点,确定平抛运动轨迹的方法,坐标原点应选小球在斜槽末端点时的________在坐标纸上的投影点。

3c7bc715e19d734168b902355fa38e16.png
A.球心
B.球的上端
C.球的下端
在此实验中,下列说法正确的是________。
A.斜槽轨道必须光滑
B.记录的点应适当多一些
C.用光滑曲线把所有的点连接起来
D.y轴的方向根据重锤线确定
(2)图2是利用图1装置拍摄小球做平抛运动的频闪照片,由照片可判断实验操作错误的是________。

f0e7ded086b1c31df4a54f380bb2087f.png
A.释放小球时初速度不为0
B.释放小球的初始位置不同
C.斜槽末端切线不水平
答案 (1)B BD (2)C
解析 (1)由题干中确定小球平抛运动轨迹的方法及实验原理知,坐标原点应选球在斜槽末端点时小球的上端在坐标纸上的投影点,所以选B。
实验过程中,斜槽轨道不一定光滑,只要能够保证小球从同一位置静止释放,即使轨道粗糙,离开斜槽末端的速度也是一样的,所以A错误;记录点应适当多一些,能够保证描点所得的轨迹更平滑、准确,B正确;描点时与平滑曲线偏差过大的点需舍去,C错误;y轴必须是竖直方向,即用重锤线确定,D正确。
(2)由题图2可知斜槽末端切线不水平,才会造成小球做斜抛运动,C符合题意。
8.(综合)在做研究平抛运动的实验时,通过描点法画出小球平抛运动的轨迹,并求出平抛运动的初速度,实验装置如图甲所示。

8bf7569122051e019a02b354f06da439.png
(1)实验时将固定有斜槽的木板放在实验桌上,实验前要检查木板是否水平,请简述你的检查方法:________________________________________________________________________________________________________________________________________________。
(2)关于这个实验,下列说法正确的是________。
A.小球释放的初始位置越高越好
B.每次小球要从同一高度由静止释放
C.实验前要用重锤线检查坐标纸上的竖线是否竖直
D.小球的平抛运动要靠近木板但不接触
(3)在做研究平抛运动的实验时,坐标纸应当固定在竖直的木板上,图中坐标纸的固定情况与斜槽末端的关系正确的是________。

4606cafc5f6a1c1a14346ceba1124e42.png
(4)某同学在描绘平抛运动轨迹时,得到的部分轨迹曲线如图乙所示。在曲线上取ABC三个点,测量得到ABC三点间竖直距离h1=10.20 cm,h2=20.20 cm,ABC三点间水平距离x1x2x=12.40 cm,g取10 m/s2,则小球平抛运动的初速度v0的计算式为________(用字母h1h2xg表示),代入数据得其大小为________ m/s。

c712c370c13611b5c607fbf1304aa9fc.png
答案 (1)将小球放在水平木板的任意位置,小球静止不动,则木板水平(或用水平仪检查木板是否水平等)
解析 (1)使小球做平抛运动,关键是使斜槽末端切线水平,判断是否水平可以将小球放在斜槽的末端(或木板上)看小球能否静止,或用水平仪检查木板是否水平等方法。
(2)小球释放的初始位置并非越高越好,若是太高,导致水平抛出的速度太大,实验难以操作,故A错误;因为要画同一运动的轨迹,每次释放小球的位置必须相同,且由静止释放,以保证获得相同的初速度,故B正确;小球竖直方向做自由落体运动,水平方向做匀速运动,为了正确描绘其轨迹,必须确保坐标纸上的竖线是竖直的,故C正确;实验要求小球滚下时不能碰到竖直木板平面,避免因摩擦而使运动轨迹改变,最后轨迹应连成平滑的曲线,故D正确。
(3)斜槽末端是水平的,小球做平抛运动,要分解为水平和竖直方向的分运动,故方格纸应该水平竖直,坐标原点应该与小球在斜槽末端静止时在竖直木板上的投影重合,故C正确。
9.(实验创新)某同学设计了一个研究平抛运动的实验。实验装置示意图如图甲所示,A是一块平面木板,在其上等间隔地开凿出一组平行的插槽(图中P0P0P1P1),槽间距离均为d。把覆盖复写纸的白纸铺贴在硬板B上。实验时依次将B板插入A板的各插槽中,每次让小球从斜轨的同一位置由静止释放。每打完一点后,把B板插入后一槽中同时向纸面内侧平移距离d。实验得到小球在白纸上打下的若干痕迹点,用平滑曲线连接各痕迹点就可得到平抛运动的轨迹。

636793f90445f10ba357cede992528fd.png
(1)实验前应对实验装置反复调节,直到斜轨________、A板________、插槽P0P0垂直于斜轨并在斜轨末端正下方。每次让小球从同一位置由静止释放,是为了使小球每次做平抛运动的________。
(2)每次将B板向纸面内侧平移距离d,是为了使记录纸上每两点之间的水平距离等于小球在________________________。
(3)如图乙所示,该同学在实验中记录小球做平抛运动的起点位置OQ1为小球运动一段时间后的位置,根据图中所示平抛运动的部分轨迹,求出小球做平抛运动的初速度为________ m/s。
答案 (1)末端水平 水平 初速度都相同
(2)水平方向实际运动的距离 (3)2.0
解析 (1)实验前应对实验装置反复调节,直到斜槽末端水平,保证小球抛出时初速度水平,做平抛运动,每次让小球从同一位置由静止释放,是为了保持小球水平抛出的初速度相同。
(2)平抛运动在水平方向上的分运动为匀速直线运动,每次将B板向纸面内侧平移距离d,是为了使小球在相邻痕迹点的水平距离等于小球在水平方向实际运动的距离。
您需要登录后才可以回帖 登录 | 立即注册

本版积分规则

Archiver|手机版|小黑屋|5432教案网 ( 蜀ICP备2022024372号-1 |川公网安备51152402000101号 )|网站地图

GMT+8, 2026-4-7 19:32 , Processed in 0.766811 second(s), 31 queries .

Powered by Discuz! X3.5

© 2001-2026 Discuz! Team.

快速回复 返回顶部 返回列表