找回密码
 立即注册
搜索
查看: 1|回复: 0

(必修2)《2 运动的合成与分解》优质课.doc(教案3)

[复制链接]

2万

主题

224

回帖

14万

积分

管理员

积分
140701
发表于 9 小时前 | 显示全部楼层 |阅读模式
2.运动的合成与分解
1.知道什么是合运动和分运动。
2.理解分运动的独立性,掌握运动合成与分解的方法。
3.能用平行四边形定则分析运动的合成与分解。

f143b589a27d1ce00b703a6a42b50a01.png
1.一个平面运动的实例
在蜡块匀速上升的同时,将玻璃管紧贴着黑板沿水平方向向右匀速移动。

40d3d34073e810cbf33dd7c854bd073b.png
2运动的合成与分解
判一判
(1)合速度就是两个分速度的代数和。(  )
(2)合速度不一定大于任一分速度。(  )
(3)合位移一定大于任意一个分位移。(  )
(4)运动的合成就是把两个分运动加起来。(  )
(5)运动的分解就是把一个运动分成两个完全相同的运动。(  )
(6)运动的合成与分解遵循平行四边形定则。(  )
提示:(1)× 合速度是各分速度的矢量和,而不是代数和。
(2)
(3)× 根据矢量三角形可知,合位移不一定大于任一分位移。
(4)× 运动的合成遵从平行四边形定则,而不是简单相加。
(5)× (6)

6a8b1011dacc44d1c813d39079d06c38.png
课堂任务
171a0178e48b7f4c709157e5cb2ee3d3.png  运动的合成与分解
仔细观察下列图片,认真参与师生互动

e6664b7c8347e01fa3d4124bcbee0d3e.png

fcb896b5babc24c0a7ab36552abdb7fa.png
活动1:如果玻璃管沿水平方向匀速运动,蜡块实际的运动会怎么样?
提示:蜡块参与了两个运动,就是水平方向的匀速直线运动和竖直方向的匀速直线运动。蜡块实际上做匀速直线运动,如图乙中斜线。
活动2:如果玻璃管沿水平方向做加速运动,蜡块的运动又会怎么样?
提示:玻璃管沿水平方向做加速运动,蜡块也被迫在水平方向做加速运动,这样,蜡块运动到玻璃管顶部的过程不再是条直线而是曲线。
活动3:怎么求蜡块经过一段时间后的位移和速度?
提示:可以建立平面直角坐标系,分别求蜡块经过一段时间后在两个方向的位移和速度,再求合位移、合速度即可。
活动4:讨论、交流、展示,得出结论。
1合运动与分运动的关系
(1)等时性:合运动与分运动经历的时间相等,即同时开始、同时进行、同时停止。
(2)独立性:各分运动之间互不相干、彼此独立、互不影响。
(3)等效性:各分运动的共同效果与合运动的效果相同。
2合运动性质的判断
分析两个直线运动的合运动的性质时,应先根据平行四边形定则,求出合运动的合初速度v0和合加速度a,然后进行判断。
(1)判断是否做匀变速运动
a=0,物体沿合初速度v0的方向做匀速直线运动。
a0且a恒定,物体做匀变速运动。
a变化,物体做非匀变速运动。
(2)判断轨迹的曲直
av0共线,物体做直线运动。
av0不共线,物体做曲线运动。
3合位移和合速度的计算
4运动的分解:运动的分解是运动合成的逆运算,可以将曲线运动问题转化为直线运动问题。

f2c026a20e3a18368eda0967424946d7.png
例1 (多选)质量为2 kg的质点在xOy平面内做曲线运动,在x方向的速度图像和y方向的位移图像如图所示,下列说法正确的是(  )

1dd72c148dbaa16539485fbded8099e1.png
A.质点的初速度大小为5 m/s
B.质点所受的合外力为3 N,做匀变速曲线运动
C.2 s末质点速度大小为6 m/s
D.2 s内质点的位移大小约为12 m

ead093299ce5bfca616cc36d2ea23894.png (1)通过速度图像能看出什么?
(2)通过位移图像能看出什么?
[完美答案] ABD

6c76b229721409cedddec219ea660a3d.png
求解合运动或分运动的步骤
(1)根据题意确定物体的合运动与分运动。
(2)根据平行四边形定则作出矢量合成或分解的平行四边形。


0c193595634d25d1dedcca0cdf703d4d.png
A.笔尖留下的痕迹是一条曲线
B.笔尖留下的痕迹是一条倾斜的直线
C.在运动过程中,笔尖运动的速度方向始终保持不变
D.在运动过程中,笔尖运动的加速度方向始终保持不变
答案 AD
解析 由题可知,铅笔尖既随三角板向右做匀速运动,又沿三角板直角边向上做匀加速运动,其运动轨迹应是曲线,故A正确,B错误。在运动过程中,笔尖运动的速度方向是轨迹的切线方向,时刻在变化,故C错误。笔尖水平方向的加速度为零,竖直方向的加速度方向向上,则根据运动的合成规律可知,笔尖运动的加速度方向始终竖直向上,保持不变,故D正确。

58f467b944d987c47e050e3c20f37791.png
(1)物体所受的合外力;
(2)物体的初速度;
(3)t=8 s时物体的速度;
(4)t=4 s内物体的位移。
答案 (1)1 N,沿y轴正方向
(2)3 m/s,沿x轴正方向
(3)5 m/s,与x轴正方向的夹角为53°
解析 (1)物体在x方向:ax=0;
根据牛顿第二定律:Fmay=1 N,方向沿y轴正方向。
(2)由题图可知vx0=3 m/s,vy0=0,
则物体的初速度为v0=3 m/s,方向沿x轴正方向。
(3)由题图知,t=8 s时,vx=3 m/s,vy=4 m/s,
设速度方向与x轴正方向的夹角为θ
即速度方向与x轴正方向的夹角为53°。
设位移方向与x轴正方向的夹角为α
课堂任务
d55ebfb4a036f1143534f141b49bcfa0.png  小船渡河与关联速度问题
仔细观察下列图片,认真参与师生互动

3b55c36d106d9ffa07290cde5e12b664.png

fcb896b5babc24c0a7ab36552abdb7fa.png
活动1:甲图反映的是小船渡河的什么情况?
提示:甲图反映的是小船渡河的分速度与合速度的情况。
活动2:乙图反映的是什么情况?
提示:乙图反映的是小船靠岸时的分运动与合运动的情况。
活动3:甲、乙两图的共同点是什么?
提示:物体的运动(合运动)都参与了两个分运动,由合运动与分运动的情况反映物体的运动规律。
活动4:讨论、交流、展示,得出结论。
1小船渡河问题
(1)三个速度:v(船在静水中的速度)、v(水流速度)、v (船的实际速度)。
(2)两个问题:
渡河时间
最短航程

96221c6c3491cd1918bfa0ce2b84936d.png
2关联速度问题
(1)对关联速度的理解
用绳、杆相牵连的物体在运动过程中的速度通常不同,但两物体沿绳或杆方向的分速度大小相等。
(2)关联速度问题的解题步骤
确定合速度:牵连物端点的速度(即所连接物体的实际速度)是合速度。
分解合速度:按平行四边形定则进行分解,作好矢量图。合运动所产生的实际效果:一方面产生使绳或杆伸缩的效果;另一方面产生使绳或杆转动的效果。两个分速度的方向:沿绳或杆方向和垂直于绳或杆方向。常见的模型如图所示:

0514baa03052225a6bd2c41928962c66.png

38d3c446c8df86e7ffe4020952a35975.png
沿绳或杆方向的分速度大小相等,列方程求解。例如:vv(甲图);vv(乙图、丙图)。

f2c026a20e3a18368eda0967424946d7.png
例2 一小船渡河,河宽d=180 m,水流速度v1=2.5 m/s,船在静水中的速度为v2=5 m/s,则:
(1)欲使船在最短的时间内渡河,船头应朝什么方向?用多长时间?位移是多少?
(2)欲使船渡河的航程最短,船头应朝什么方向?用多长时间?位移是多少?
(3)如果其他条件不变,水流速度变为6 m/s。船过河的最短时间和最小位移是多少?

ead093299ce5bfca616cc36d2ea23894.png (1)小船渡河时同时参与了几个分运动?如何渡河时间最短?
提示:参与了两个分运动,一个是船相对水的运动(即船在静水中的运动),一个是船随水漂流的运动(即水的运动)。当v垂直于河岸时到达对岸用时最短,最短时间与v无关。
(2)当v<vvv时,分别怎样渡河位移最小?
[规范解答] (1)欲使船在最短时间内渡河,船头应朝垂直河岸方向。当船头垂直河岸时,如图甲所示。

3c9ecb30b89964654aa99f53732a49d8.png

6c76b229721409cedddec219ea660a3d.png
小船渡河的最短时间与最短航程
(2)当vv时,合运动的速度方向可垂直于河岸,最短航程为河宽。


c4ec1a64ef06b1471c77d52fd833baf3.png
答案 AB
解析 小船渡河的运动可看做水流的运动和小船运动的合运动。虚线为小船从河岸M驶向对岸N的实际航线,即合速度的方向,小船合运动的速度方向就是其实际运动的方向,分析可知,实际航线可能正确的是A、B。
例3 (多选)如图所示,做匀速直线运动的汽车A通过一根绕过定滑轮的长绳吊起一重物B,设重物和汽车的速度的大小分别为vBvA,则(  )

95c0354cf3483b20f9d05149181e2beb.png
A.vAvB  B.vAvB
C.vAvB  D.重物B的速度逐渐增大

ead093299ce5bfca616cc36d2ea23894.png (1)汽车实际的运动是什么运动?它与绳子末端点的速度有什么关系?
提示:汽车实际的运动是水平方向的直线运动,绳子末端点就在汽车上,所以绳子末端点的速度和汽车速度相同。
(2)汽车的分速度是什么速度?
提示:汽车的分速度包含拉动速度(沿着绳)和摆动速度(垂直绳)。
[规范解答] 如图所示,汽车的实际运动是水平向左的运动,它的速度vA可以产生两个运动效果:一是使绳子伸长;二是使绳子与竖直方向的夹角增大,所以车的速度vA应有沿绳方向的分速度v0和垂直绳的分速度v1,由运动的分解可得v0vAcosα;又由于vBv0,所以vAvB,故C正确。因为随着汽车向左行驶,α角逐渐减小,所以vB逐渐增大,故D正确。

47d887730ae7d7fe4bfe734f441521b9.png
[完美答案] CD

6c76b229721409cedddec219ea660a3d.png
关联速度问题,关键是要弄清楚哪个速度是合速度、哪个速度是分速度,然后弄清楚哪个分速度才是我们需要用来解题的。


0cf9a5302e395856bfd947b8aa41bb36.png
A.v1v2          B.v1v2cosθ
C.v1v2tanθ          D.v1v2sinθ
答案 C
解析 如图所示,轻杆A端下滑速度v1可分解为沿杆方向的速度v1和垂直于杆方向的速度v1B端水平速度v2可分解为沿杆方向的速度v2和垂直于杆方向的速度v2,两端沿杆方向的速度相等,即v1v2,又v1v1cosθv2v2sinθ,解得v1v2tanθ,故C正确。

710bca8db2670944c99722ede3b5dc6d.png

c75054d70c313eaf49a8ec974200023b.png
(1)车B运动的速度vB为多大?
(2)车B是否做匀速运动?
答案 (1)vAcosθ (2)不做匀速运动
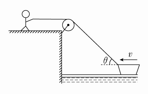
解析 (1)把vA分解为一个沿绳子方向的分速度v1和一个垂直于绳的分速度v2,如图所示,所以车前进的速度vB大小应等于vA的分速度v1,即vBv1vAcosθ

18fa894595a6efd396a8c2ab906b5240.png
(2)当船匀速向前运动时,θ角逐渐减小,车速vB将逐渐增大,因此,车B不做匀速运动。

eb62006350b262f1357a20253e7b8163.png
A组:合格性水平训练
1.(运动的合成与分解)(多选)关于运动的合成与分解,下列说法中正确的是(  )
A.物体的两个分运动是直线运动,则它们的合运动一定是直线运动
B.若不在一条直线上的分运动分别是匀速直线运动和匀加速直线运动,则合运动一定是曲线运动
C.合运动与分运动具有等时性
D.速度、加速度和位移的合成都遵从平行四边形定则
答案 BCD
解析 物体的两个分运动是直线运动,若合初速度方向与合加速度方向共线,则为直线运动,否则为曲线运动,故A错误,B正确;合运动和分运动,同时开始同时结束,具有等时性,故C正确;速度、加速度和位移都是矢量,矢量合成都遵从平行四边形定则,故D正确。
2.(合运动的性质)(多选)如果两个不在同一直线上的分运动都是匀变速直线运动,关于它们的合运动的描述,正确的是(  )
A.合运动一定是匀变速运动
B.合运动可能是曲线运动
C.只有当两个分运动的速度垂直时,合运动才为直线运动
D.以上说法都不对
答案 AB
解析 两个分运动都是匀变速直线运动,则物体所受合力恒定不变,故一定是匀变速运动,但因合力的方向与速度的方向不一定在同一直线上,物体可能做匀变速曲线运动,故C、D错误,A、B正确。
3.(合运动的性质)(多选)若ab为两个不在同一条直线上的分运动,它们的合运动为c,则下列说法正确的是(  )
A.若ab的轨迹为直线,则c的轨迹必为直线
B.若c的轨迹为直线,则ab必为匀速运动
C.若a为匀速直线运动,b为匀速直线运动,则c必为匀速直线运动
D.若ab均为初速度为零的匀变速直线运动,则c必为初速度为零的匀变速直线运动
答案 CD
解析 ab两个分运动的合初速度与合加速度如果不共线,则合运动c必为曲线运动,A错误;若c为直线运动,ab可能为匀速直线运动,也可能为变速直线运动,且ab的合初速度与合加速度共线,合加速度方向恒定,B错误;两个匀速直线运动的合运动必为匀速直线运动,C正确;两个初速度为零的匀加速直线运动的合运动必为初速度为零的匀加速直线运动,D正确。
4.(运动的合成)如图所示,帆板在海面上以速度v朝正西方向运动,帆船以速度v朝正北方向航行,以帆板为参照物(  )

a691e6787da8b1aca2bf132a779470c9.png
A.帆船朝正东方向航行,速度大小为v
B.帆船朝正西方向航行,速度大小为v
答案 D
5.(合运动的性质)如图所示,一块橡皮用细线悬挂于O点,用铅笔靠着线的左侧水平向右匀速移动,运动中始终保持悬线竖直,则橡皮运动的速度(  )

8bc264e8f5c4a5de619e89e8b6f61df3.png
A.大小和方向均不变
B.大小不变,方向改变
C.大小改变,方向不变
D.大小和方向均改变
答案 A
解析 橡皮在水平方向做匀速直线运动,在竖直方向做匀速直线运动,其合运动仍是匀速直线运动,其速度大小和方向均不变,故选A。
6.(分运动的独立性)跳伞表演是人们普遍喜欢的观赏性体育项目,如图所示,当运动员从直升机由静止跳下后,在下落过程中不免会受到水平风力的影响,下列说法中正确的是(  )

2a02adc989ceb69fad34ff90d96e1e8a.png
A.风力越大,运动员下落时间越长,运动员可完成更多的动作
B.风力越大,运动员着地速度越大,有可能对运动员造成伤害
C.运动员下落时间与风力有关
D.运动员着地速度与风力无关
答案 B
解析 运动员同时参与了两个分运动,竖直方向下落运动和水平方向随风飘动,两个分运动同时发生,相互独立,因而,水平风力越大,落地的合速度越大,但落地时间不变,故B正确。
7.(合运动的性质)一质点在xOy平面内运动的轨迹如图所示,已知质点在x轴方向的分运动是匀速运动,则关于质点在y轴方向的分运动的描述正确的是(  )

63415566119104c89342ecc707f43217.png
A.匀速运动
B.先匀速运动后加速运动
C.先加速运动后减速运动
D.先减速运动后加速运动
答案 D
解析 依题意知,质点沿x轴方向做匀速直线运动,故该方向上质点所受外力Fx=0;由图像看出,沿y轴方向,质点运动的轨迹先向y轴负方向弯曲后向y轴正方向弯曲;由质点做曲线运动的条件以及质点做曲线运动时轨迹弯曲方向与所受外力的关系知,沿y轴方向,该质点先受沿y轴负方向的力,后受沿y轴正方向的力,即质点沿y轴方向先做减速运动后做加速运动,D正确。
8.(小船过河问题)某小船在静水中的速度大小保持不变,该小船要渡过一条河,渡河时小船船头垂直指向河岸。若船行至河中间时,水流速度突然增大,则(  )
A.小船渡河时间不变  B.小船航行方向不变
C.小船航行速度不变  D.小船到达对岸地点不变
答案 A
解析 因为分运动具有等时性,所以分析渡河时间时,只分析垂直河岸方向的速度即可,渡河时小船船头垂直指向河岸,即在静水中的速度方向指向河岸,而其大小不变,因此,小船渡河时间不变,故A正确;当水流速度突然增大时,由矢量合成的平行四边形定则知船的合速度变化,航行方向变化,因而小船到达对岸地点变化,故B、C、D错误。
9.(小船过河问题)一小船在静水中的速度为3 m/s,它在一条河宽150 m、水流速度为4 m/s的河流中渡河,则该小船(  )
A.能到达正对岸
B.渡河的时间可能少于50 s
C.以最短时间渡河时,它沿水流方向的位移大小为200 m
D.以最短位移渡河时,位移大小为150 m
答案 C
10.(关联速度问题)(多选)如图所示,人在岸上拉船,已知船的质量为m,水的阻力恒为f,当轻绳与水面的夹角为θ时,船的速度为v,人的拉力大小为F,则此时(  )

b159e207836b4ccb48fe0ad67ac4ea20.png
A.人拉绳行走的速度为vcosθ
答案 AC

f87795d87692e9ba2ced4b295dc6fd3b.png
B组:等级性水平训练
11.(关联速度问题)如图所示,不计所有接触面之间的摩擦,斜面固定,两物体M、N的质量分别为m1m2,且m1<m2。若将N从位置A由静止释放,当落到位置B时,N的速度为v2,绳子与竖直方向的夹角为θ,则这时M的速度大小v1等于(  )

4ed6909250d70fc40fa3747d44ff22f9.png
答案 C
解析 N的实际运动情况是沿杆竖直下滑,这个实际运动是合运动。M的速度与绳上各点沿绳方向的速度大小相等,所以绳的速度等于M的速度v1,合速度v2可分解为沿绳方向的分速度和垂直于绳的分速度。因此v1v2的关系如图所示,由图可看出M的速度大小为v1v2cosθ,故C正确。

bfbd6008a8fdc5bc6b2b7c808babd8ba.png
12.(小船过河问题)一条河宽为L=900 m,水的流速为v=50 m/s,并在下游形成壮观的瀑布。一艘游艇从距离瀑布水平距离为l=1200 m的上游渡河。
(1)为了不被冲进瀑布,游艇船头指向如何才能使航行速度最小,最小值为多少?
(2)在(1)的情况中游艇在河中航行的时间为多少?
答案 (1)船头与河岸成53°角指向上游 30 m/s
(2)37.5 s
解析 (1)为了不被冲进瀑布,而且速度最小,则游艇的临界航线OA如图所示。船头应与航线垂直,并偏向上游,由几何关系可得

c672513c73e7c570cf64e9d3d87c6ccd.png
船头与河岸成53°角并指向上游,
(2)在(1)中情况下,游艇在河中航行的时间为
您需要登录后才可以回帖 登录 | 立即注册

本版积分规则

Archiver|手机版|小黑屋|5432教案网 ( 蜀ICP备2022024372号-1 |川公网安备51152402000101号 )|网站地图

GMT+8, 2026-4-7 19:26 , Processed in 0.786284 second(s), 32 queries .

Powered by Discuz! X3.5

© 2001-2026 Discuz! Team.

快速回复 返回顶部 返回列表