找回密码
 立即注册
搜索
查看: 1|回复: 0

(必修2)《2 向心力》最新教研(教案3)

[复制链接]

2万

主题

224

回帖

14万

积分

管理员

积分
140701
发表于 9 小时前 | 显示全部楼层 |阅读模式
2.向心力

a1ad95b519cbbe5a4534b95830e68f93.png
1.理解向心力的概念,知道它是根据力的作用效果命名的。
2.体验向心力的存在,会分析向心力的来源。
3.实验探究向心力大小的表达式。
4.掌握向心力的表达式,并能用来进行计算。
5.理解变速圆周运动中合力的两个分力的效果,知道一般曲线运动的研究方法。

d5cfac21aca9349c2acba02a4084fa16.png
1.向心力
2向心力的大小
(1)实验探究
控制变量
探究内容
mr相同,改变ω
mω相同,改变r
ωr相同,改变m
3变速圆周运动和一般曲线运动的受力特点
(1)变速圆周运动:做变速圆周运动的物体所受合外力产生两个方面的效果,如图所示。

0d5b4ed847016a6eea972d14ca2276c5.png
(2)一般曲线运动的研究方法
判一判
(1)做匀速圆周运动的物体所受合力不变。(  )
(2)随水平圆盘一起匀速转动的物体受重力、支持力和向心力作用。(  )
(3)由公式Fn2r可知,圆周运动的半径越大,向心力越大。(  )
提示:(1)× 做匀速圆周运动的物体合力指向圆心,方向时刻改变。
(2)× 向心力是效果力,物体受重力、支持力、圆盘给它的静摩擦力,静摩擦力充当向心力。
(3)× 只有当质量、角速度一定时,向心力才与半径成正比。
想一想
1.匀速圆周运动中,物体的合力就是向心力吗?合力一定指向圆心吗?在变速圆周运动中呢?
提示:在匀速圆周运动中,物体的合力就是向心力,合力一定指向圆心;在变速圆周运动中,物体的合力不是向心力,合力不指向圆心,但向心力指向圆心。
2.什么情况下质点做速度越来越大的圆周运动?什么情况下质点做速度越来越小的圆周运动?
提示:当合力与速度的夹角为锐角时,质点的速度越来越大;当合力与速度的夹角为钝角时,质点的速度越来越小。

52ac6118c4b73c8858c7189171d9c72c.png
课堂任务
171a0178e48b7f4c709157e5cb2ee3d3.png  向心力及其方向
仔细观察下列图片,认真参与师生互动

35e882e72adb38f34b72ad8ce81a7bb6.png

fcb896b5babc24c0a7ab36552abdb7fa.png
活动1:图A中有几个力提供向心力?
提示:只有一个力提供向心力,就是太阳对地球的引力。
活动2:图B、F的向心力由什么提供,有什么共同点?
提示:如果都做匀速圆周运动,它们受到的合外力提供向心力。对于B,重力和支持力平衡;对于F,重力和静摩擦力平衡;故也可以说都是一个力提供向心力,B是静摩擦力提供向心力,F是壁的弹力提供向心力。
活动3:图C、D的向心力有什么共同点?
提示:都受两个力,都可以由这两个力的合力提供向心力而做匀速圆周运动,C中的支持力相当于D中线的拉力。
活动4:图D、E的向心力有什么共同点?有什么不同点?
提示:D、E的向心力都由重力和绳子的拉力的合力提供。但是D是水平面内的圆周运动,重力和绳子的拉力的合力可以全部充当向心力而做匀速圆周运动。E是竖直面内的圆周运动,重力和拉力的合力只有一部分充当向心力。
活动5:讨论、交流、展示,得出结论。
1向心力的方向
无论是否为匀速圆周运动,其向心力的方向总是沿着半径指向圆心且时刻改变,故向心力是变力。
2向心力的作用效果
向心力是为了描述圆周运动而引入的一种力的名称,是一种效果力。它并不是一种新的性质的力。
向心力的效果是改变线速度的方向。由于向心力始终指向圆心,其方向与物体运动方向始终垂直,故向心力不改变线速度的大小,只改变线速度的方向。
3向心力的来源
(1)向心力可以由某个力来提供,也可以由某个力的分力或几个力的合力来提供。
(2)对于匀速圆周运动,合外力提供物体做圆周运动的向心力;对于非匀速圆周运动,其合外力不指向圆心,它既要改变线速度大小,又要改变线速度方向,向心力是合外力的一个分力。
(3)无论是匀速圆周运动还是非匀速圆周运动,物体所受各力沿半径方向分量的矢量和为向心力。

f2c026a20e3a18368eda0967424946d7.png
例1 (多选)如图所示,在粗糙水平木板上放一个物块,使木板和物块一起在竖直平面内沿逆时针方向做匀速圆周运动,ab为水平直径,cd为竖直直径,在运动中木板始终保持水平,物块相对于木板始终静止,则(  )

0faf436d5eebf995af4d8daf19222315.png
A.物块始终受到三个力作用
B.物块受到的合外力始终指向圆心
C.在cd两个位置,物块所受支持力Nmg,摩擦力f为零
D.在ab两个位置物块所受摩擦力提供向心力,支持力Nmg

ead093299ce5bfca616cc36d2ea23894.png (1)匀速圆周运动的物体所受的合外力有什么特点?
提示:匀速圆周运动的合外力提供向心力,合外力的方向始终指向圆心。
(2)图中物块所受的重力和支持力一直是平衡力吗?
提示:物块受竖直方向的重力和支持力、水平方向的摩擦力,合力为向心力,指向圆心,故只有在ab位置重力与支持力平衡,摩擦力提供向心力,其他位置重力和支持力不可能平衡。
[规范解答] 物块在竖直平面内做匀速圆周运动,受到的重力与支持力在竖直方向上,cd两点物块所受的向心力由重力和支持力的合力提供,摩擦力为零,重力与支持力不相等,其他时候要受到摩擦力的作用,故A、C错误;物块在竖直平面内做匀速圆周运动,合外力就是向心力,匀速圆周运动的向心力指向圆心,故B正确;

95bdcd64d5292f556ca3571f2740aeaa.png
b位置受力如图,因物块做匀速圆周运动,故合力指向圆心,支持力Nmg,摩擦力f提供向心力,同理可得,在a位置的情形相同,故D正确。
[完美答案] BD

6c76b229721409cedddec219ea660a3d.png
向心力可以是弹力、摩擦力,也可以是物体受到的合力或某个力的分力。匀速圆周运动中合力提供向心力,合力的方向一定指向圆心。

A.物体由于做圆周运动而产生了一个向心力
B.向心力不改变圆周运动中物体线速度的大小
C.做匀速圆周运动的物体其向心力即为其所受的合外力
D.做圆周运动的物体所受各力的合力一定充当向心力
答案 BC
解析 由于向心力的作用物体做圆周运动,A错误;因向心力始终垂直于速度方向,所以它不改变线速度的大小,只改变线速度的方向,B正确;做匀速圆周运动的物体所受合外力指向圆心,完全提供向心力,C正确;变速圆周运动中合外力沿半径方向的分力提供向心力,D错误。
课堂任务
d55ebfb4a036f1143534f141b49bcfa0.png  探究向心力大小的表达式
仔细观察下列图片,认真参与师生互动

3a99e08b2bde3c59e02a3fb823a718a1.png

fcb896b5babc24c0a7ab36552abdb7fa.png
活动1:手握绳结A,如图乙所示,使沙袋在水平方向做匀速圆周运动,每秒运动一周,体会此时绳子拉力的大小。改为手握绳结B,其他操作不变,体会到两次绳的拉力有何不同?猜测向心力大小与什么有关?
提示:手握绳结B时绳的拉力更大。两次操作只有沙袋做圆周运动的半径不同,猜测向心力大小与半径有关,半径越大,向心力越大。
活动2:改为使沙袋在水平方向上每秒运动2周,其他操作不变,体会到两次绳的拉力有何不同?猜测向心力大小与什么有关?
提示:沙袋每秒运动2周时绳的拉力更大。两次操作只有沙袋做圆周运动的角速度不同,猜测向心力大小与角速度有关,角速度越大,向心力越大。
活动3:改为使用质量更大的沙袋,其它操作不变,体会到两次绳的拉力有何不同?猜测向心力大小与什么有关?
提示:沙袋质量更大时绳的拉力更大。两次操作只有沙袋质量不同,猜测向心力大小与质量有关,质量越大,向心力越大。
活动4:如何探究向心力大小与半径、角速度、质量的定量关系?
提示:用控制变量法,如先保证角速度、质量不变,探究向心力与半径的定量关系,同理探究向心力与角速度、质量的定量关系。
活动5:讨论、交流、展示,得出结论。
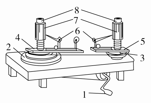
1实验目的:(1)学会使用向心力演示器;(2)通过实验探究向心力与半径、角速度、质量的关系。
2实验仪器:向心力演示器(如图),三个金属球(半径相同,其中两个为质量相同的钢球,另一个为质量是钢球一半的铝球)。

5264a7b9790009d56a9c30704fe21bb1.png
3实验原理
如图所示,匀速转动手柄1,可以使变速塔轮2和3以及长槽4和短槽5随之匀速转动,槽内的小球也随着做匀速圆周运动。使小球做匀速圆周运动的向心力由横臂6的挡板对小球的压力提供。球对挡板的反作用力,通过横臂的杠杆作用使弹簧测力套筒7下降,从而露出标尺8。根据标尺8上露出的红白相间等分标记,可以粗略计算出两个球所受向心力的比值。
4实验步骤及观察结果
(1)调整标尺,使两根标尺起点和套筒上口处于同一水平面上,皮带放在第一挡,转速为11的皮带盘处,质量相同的两钢球分别放在两个槽上半径相等的横臂挡板内侧,然后摇动手柄,观察到标尺读数始终相等。
(2)将长槽上钢球由第一挡板内侧移至第二挡板内侧,此时两个质量相同的钢球转动半径之比为21,转动手柄,观察到标尺格数之比为21。
(3)将长槽上的钢球换成铝球,并移至第一挡板内侧,两个金属球质量比为12,转动手柄,观察到标尺格数之比为12。
(4)把皮带放在第二挡,转速之比为21,将长槽上铝球换成钢球,转动手柄,两球角速度之比为21,观察到标尺格数之比为41。
(5)将皮带放在第三挡,转速之比为31,转动手柄,两球角速度之比为31,观察到标尺格数之比为91。
5实验结论
由步骤(1)及其结果可知,半径、角速度、质量相同时,向心力大小相同;
由步骤(2)及其结果可知,角速度、质量相同时,向心力与半径成正比;
由步骤(3)及其结果可知,半径、角速度相同时,向心力与质量成正比;
由步骤(4)(5)及其结果可知,半径、质量相同时,向心力与角速度的平方成正比。
由以上可推知:Fn2r
6实验误差
(1)污渍、生锈等使小球质量半径变化,带来的误差。
(2)仪器不水平带来的误差。
(3)标尺读数不准带来的误差。
(4)皮带打滑带来的误差。
7注意事项
(1)实验前要做好横臂支架安全检查,检查螺钉是否有松动,保持仪器水平。
(2)实验时转速应从慢到快,且转速不宜过快,以免损坏测力计弹簧。
(3)注意防止皮带打滑,尽可能保证ω比值不变。
(4)注意仪器的保养,延长仪器使用寿命,并提高实验可信度。

f2c026a20e3a18368eda0967424946d7.png
例2 向心力演示器如图所示。转动手柄1,可使变速塔轮2和3以及长槽4和短槽5随之匀速转动。皮带分别套在塔轮2和3上的不同圆盘上,可使两个槽内的小球分别以几种不同的角速度做匀速圆周运动。小球做圆周运动的向心力由横臂6的挡板对小球的压力提供,球对挡板的反作用力,通过横臂的杠杆使弹簧测力套筒7下降,从而露出标尺8,标尺8上露出的红白相间等分格子的多少可以显示出两个球所受向心力的大小。现将小球分别放在两边的槽内,为探究小球受到的向心力大小与角速度的关系,下列做法正确的是(  )

783b574bb2075ebb722d2b32f7613845.png
A.在小球运动半径相等的情况下,用质量相同的钢球做实验
B.在小球运动半径相等的情况下,用质量不同的钢球做实验
C.在小球运动半径不等的情况下,用质量不同的钢球做实验
D.在小球运动半径不等的情况下,用质量相同的钢球做实验

ead093299ce5bfca616cc36d2ea23894.png (1)本实验的实验方法是什么?
提示:控制变量法。
(2)探究向心力与角速度的关系,应怎样操作?
提示:保证运动半径和钢球质量相同。
[规范解答] 根据Fn2r,可知若研究小球受到的向心力大小与角速度的关系,需控制小球的质量和运动半径不变,故A正确。
[完美答案] A

c7fe5d896b1445ae49b95094a8068e86.png
1.控制变量法,影响向心力大小的因素比较多,应采用控制变量法进行研究。在让某个因素如半径变化的同时,控制其他因素如质量和角速度不变,便于找出这个因素影响向心力大小变化的规律。然后依次分别研究其他的影响因素。


1c94c54d8e3575a8ea0fe64e2aba1518.png
(1)该同学采用的实验方法为________。
A.等效替代法  B.控制变量法
C.理想化模型法
(2)改变线速度v,多次测量,该同学测出了五组Fnv数据,如下表所示:
v/(m·s-1)
1.0
1.5
2.0
2.5
3.0
Fn/N
0.88
2.00
3.50
5.50
7.90
该同学对数据分析后,在图乙坐标纸上描出了五个点。
作出Fnv2图线;
若圆柱体运动半径r=0.2 m,由作出的Fnv2图线可得圆柱体的质量m=________ kg。(结果保留两位有效数字)
答案 (1)B (2)如图所示 0.18

dcfbb2c6ab6941614ed97edd9b1ae8cf.png
解析 (1)实验中研究向心力与线速度的关系,保持圆柱体质量和运动半径不变,采用的实验方法是控制变量法,B正确。
(2)Fn­v2图线如答图所示。
课堂任务
c3bcdefef47c722afb3ecdb5f3c5ed67.png  向心力的大小的计算
仔细观察下列图片,认真参与师生互动

73334ab151629a2fff716005b869cb47.png

fcb896b5babc24c0a7ab36552abdb7fa.png
活动1:若已知小球质量m,绳拉力F,绳与竖直方向的夹角α,如何求小球做匀速圆周运动的向心力?
提示:小球受重力mg和绳的拉力F,其合力等于向心力,由力的合成知向心力为Fnmgtanα
活动2:若已知小球质量m,小球做圆周运动的角速度ω、半径r,如何求小球的向心力?
提示:由向心力公式可知Fn2r
活动3:若已知mvr,如何求Fn?若已知mTr呢?
活动4:讨论、交流、展示,得出结论。
1向心力的大小
(1)根据受力分析求得:圆周运动平面上,指向圆心方向的合力即为向心力。
2向心力公式的瞬时性
对于匀速圆周运动,向心力大小始终不变,但对非匀速圆周运动(如用一根绳拴住小球绕固定圆心在竖直平面内做的圆周运动),其向心力大小随速率v的变化而变化,公式表述的只是瞬时值。

f2c026a20e3a18368eda0967424946d7.png
例3 图甲为游乐园中空中飞椅的游戏设施,它的基本装置是将绳子上端固定在转盘的边缘上,绳子的下端连接座椅,人坐在座椅上随转盘旋转而在空中飞旋。若将人和座椅看成一个质点,则可简化为如图乙所示的物理模型,其中P为处于水平面内的转盘,可绕竖直转轴OO转动,设绳长l=10 m,质点的质量m=60 kg,转盘静止时质点与转轴之间的距离d=4.0 m,转盘逐渐加速转动,经过一段时间后质点与转盘一起做匀速圆周运动,此时绳与竖直方向的夹角θ=37°,不计空气阻力及绳重,且绳不可伸长,sin37°=0.6,cos37°=0.8,g=10 m/s2,求质点与转盘一起做匀速圆周运动时:

dfcadad96c1543d08cb5c4ee6d6efe81.png
(1)绳子拉力的大小;
(2)转盘角速度的大小。

ead093299ce5bfca616cc36d2ea23894.png (1)人和座椅做匀速圆周运动的半径是什么?
提示:这个情景和圆锥摆模型相似,在圆锥摆的半径基础上加圆盘的半径即等于人和座椅做匀速圆周运动的半径。
(2)什么力提供人和座椅做匀速圆周运动的向心力?
提示:人和座椅整体所受的重力和拉力的合力提供其做匀速圆周运动的向心力。
[规范解答] (1)如图所示,对人和座椅进行受力分析,图中F为绳子的拉力。质点在水平面内做匀速圆周运动,在竖直方向上合力为零。

9e8b67de49428e7941cb52b94b4fd260.png
Fcos37°-mg=0,
(2)人和座椅在水平面内做匀速圆周运动,重力和绳子拉力的合力提供向心力,
mgtan37°=mω2R
分析可知Rdlsin37°

6c76b229721409cedddec219ea660a3d.png
匀速圆周运动中力学问题的解题步骤
(1)明确研究对象,确定物体在哪个平面内做匀速圆周运动,明确圆心和半径r


e778745f5fa3654960e7ed9f61b95479.png
A.0.04 m  B.0.08 m  C.0.16 m  D.0.32 m
答案 BCD
课堂任务
9204d4bd6e43bc8dea3ac2848e4ca3f1.png  变速圆周运动和一般曲线运动
仔细观察下列图片,认真参与师生互动

fd2a84b713090c928e90ae44f52180f6.png

fcb896b5babc24c0a7ab36552abdb7fa.png
活动1:图中小球在细线拉力的作用下在竖直面内做圆周运动,小球受哪些力?
提示:小球受重力和细线对它的拉力。
活动2:什么力提供小球做圆周运动的向心力?

a15ad19a9e46befcec13ebaafe09ddc2.png
提示:向心力是指向圆心的,也就是细线的方向。而重力的方向竖直向下,重力和细线对它的拉力的合力不可能沿着线的方向(如图所示),故不可能是整个合力提供向心力。可以把合力沿细线方向和垂直细线方向分解,其中沿细线方向的分力提供向心力。
活动3:小球在竖直面内可能做匀速圆周运动吗?和圆锥摆有什么不同?
提示:不可能做匀速圆周运动,因为合力沿切线方向也就是速度方向有分力,它一定会改变线速度的大小。而圆锥摆的重力和拉力的合力总是沿圆周运动半径指向圆心,提供向心力,所以圆锥摆做匀速圆周运动。
活动4:讨论、交流、展示,得出结论。
1变速圆周运动
(1)受力特点:变速圆周运动所受的合力不指向圆心,产生两个方向的效果:

3973640e9e735b84b10cbdbdb3d2e387.png
2一般的曲线运动的处理方法
如图所示,可以把曲线分割成许多很短的小段,每一小段可看作一小段圆孤,只是每一小段圆弧对应的半径不同,研究质点在这一小段的运动时,可以采用圆周运动的处理方法进行处理。

2e296d715449c2d5ebb2c83df6416b0d.png
3匀速圆周运动与变速圆周运动的比较

a50d07a820077cd7c8f040a27caadf69.png

f2c026a20e3a18368eda0967424946d7.png
例4 如图所示,物块P置于水平转盘上随转盘一起运动,图中c方向沿半径指向圆心,a方向与c方向垂直。当转盘逆时针转动时,下列说法正确的是(  )

215d24e21c10724f1898d4383e69c1e2.png
A.当转盘匀速转动时,P受摩擦力方向为c
B.当转盘匀速转动时,P不受转盘的摩擦力
C.当转盘加速转动时,P受摩擦力方向可能为a
D.当转盘减速转动时,P受摩擦力方向可能为b

ead093299ce5bfca616cc36d2ea23894.png (1)匀速圆周运动中物体受合外力有何特点?
提示:合外力就是向心力,始终指向圆心。
(2)变速圆周运动中合力如何使物块加速或减速?
提示:变速圆周运动中物块受到的合外力一定不会指向圆心,如果沿切向的分力与速度方向一致,则会使物块加速,相反就会使物块减速。
[规范解答] 转盘匀速转动时,物块P所受的重力和支持力平衡,摩擦力提供其做匀速圆周运动的向心力,故摩擦力方向指向圆心O点,A正确,B错误。当转盘加速转动时,物块P做加速圆周运动,不仅有沿c方向指向圆心的向心力,还有沿a方向的切向力,使线速度增大,两方向的合力即摩擦力,方向可能为b,C错误。当转盘减速转动时,物块P做减速圆周运动,不仅有沿c方向指向圆心的向心力,还有沿a相反方向的切向力,使线速度减小,两方向的合力即摩擦力,方向可能为d,D错误。
[完美答案] A

6c76b229721409cedddec219ea660a3d.png
1物体做变速圆周运动时,在任何位置均是合力沿半径指向圆心方向的分力提供向心力。
2物体做变速圆周运动时必然有一个切向分力改变速度的大小。


a8ae8063690cd866c80332b0814dd3f8.png
A.物体的合力为零
B.物体的合力大小不变,方向始终指向圆心O
C.物体的合力就是向心力
D.物体的合力方向始终与其运动方向不垂直(最低点除外)
答案 D
解析 物体做加速曲线运动,合力不为零,A错误;物体做速度大小变化的圆周运动,合力不指向圆心,合力沿半径方向的分力等于向心力,合力沿切线方向的分力使物体速度变大,即除在最低点外,物体的速度方向与合力的方向夹角为锐角,合力与速度不垂直,B、C错误,D正确。
例5 如图所示,质量为1 kg的小球用细绳悬挂于O点,将小球拉离竖直位置释放后,到达最低点时的速度为2 m/s,已知球心到悬点的距离为1 m,重力加速度g=10 m/s2,求小球在最低点时对绳的拉力的大小。

c187d07e8469543aa815fe43becbe93d.png

ead093299ce5bfca616cc36d2ea23894.png (1)小球做什么运动?在最低点时受力有什么特点?
提示:小球在重力和拉力作用下做变速圆周运动,在最低点时两个力都在沿半径的方向,没有切向分力,故其合力就是向心力。
提示:适合,只是注意速度是瞬时速度。
[规范解答] 小球在最低点时做圆周运动的向心力由重力mg和绳的拉力FT的合力提供,如图所示。

84f6fe23db884bd933cd0472345956b3.png
小球对绳的拉力与绳对小球的拉力是一对作用力和反作用力,所以小球在最低点时对绳的拉力大小为14 N。
[完美答案] 14 N

6c76b229721409cedddec219ea660a3d.png
变速圆周运动中需要明白是什么力提供了向心力,vFnω这几个量的大小是怎么变化的,要注意代入瞬时值。


39a505936f9d8aeb53575769cb217072.png
答案 3.5 rad/s 2.8 m/s
解析 当物体运动到最低点时,物体受重力mg、绳子拉力FT
根据牛顿第二定律及向心力公式得FTmg2r
又由牛顿第三定律可知,绳子受到的拉力和绳子拉物体的力大小相等,绳子被拉断时受到的拉力为
FT=7.84 N,故FT=7.84 N。
所以,绳子被拉断时物体的角速度为
物体的线速度为vωr=3.5×0.8 m/s=2.8 m/s。

28258099d9e902516985fe5d5ac78d1c.png
A组:合格性水平训练
1.(对向心力的理解)(多选)关于向心力,下列说法正确的是(  )
A.做匀速圆周运动的物体一定受到一个向心力的作用
B.向心力是指向圆心方向的合外力,它是根据力的作用效果命名的
C.向心力可以是重力、弹力、摩擦力等各种力的合力,也可以是某个力的分力
D.向心力只能改变物体的运动方向,不能改变物体运动的快慢
答案 BCD
解析 向心力是根据力的作用效果命名的,而不是一种性质力,物体之所以能做匀速圆周运动,不是因为物体受了一个向心力的作用,而是物体所受各种力的合外力始终指向圆心,从而只改变速度的方向而不改变速度的大小,故A错误,B、C、D正确。
2. (实验探究向心力大小的表达式)在探究向心力大小的表达式的实验中,如图所示的情景研究的是(  )

5a7868a445055d99151fc8577826caa2.png
A.向心力与质量之间的关系
B.向心力与角速度之间的关系
C.向心力与半径之间的关系
D.向心力与线速度之间的关系
答案 A
解析 由题图知,两个小球质量不同,故实验研究的是向心力与质量之间的关系,A正确。
3.(匀速圆周运动的向心力)在水平面上,小猴拉着小滑块做匀速圆周运动,O点为圆心,能正确表示小滑块受到的牵引力F及摩擦力f的图是(  )

6ad5450f41e7f7469a9db022645061ca.png
答案 A
解析 滑动摩擦力的方向与相对运动的方向相反,故滑动摩擦力的方向沿圆周的切线方向,B、D错误;小滑块做匀速圆周运动,其合力提供向心力,故合力方向一定指向圆心,A正确,C错误。
4. (向心力的来源)如图所示,有一个水平大圆盘绕过圆心的竖直轴匀速转动,小强站在距圆心为r处的P点相对圆盘静止。关于小强的受力,下列说法正确的是(  )

b920b8f2ad54398594a960653155bbf1.png
A.小强在P点不动,因此不受摩擦力作用
B.若使圆盘以较小的转速转动时,小强在P点受到的摩擦力为零
C.小强随圆盘做匀速圆周运动,圆盘对他的摩擦力充当向心力
D.如果小强随圆盘一起做变速圆周运动,那么其所受摩擦力仍指向圆心
答案 C
解析 由于小强随圆盘做匀速圆周运动,一定需要向心力,该力一定指向圆心方向,而重力和支持力在竖直方向上,它们不能充当向心力,因此他会受到摩擦力作用,摩擦力充当向心力,A、B错误,C正确;当小强随圆盘一起做变速圆周运动时,合力不再指向圆心,则其所受的摩擦力不再指向圆心,D错误。
5. (匀速圆周运动的向心力)(多选)一个小物块从内壁粗糙的半球形碗边下滑,在下滑过程中由于摩擦力的作用,物块的速率恰好保持不变,如图所示,下列说法中正确的是(  )

22f52fbd2c11a7a577f24830f0a4f257.png
A.物块所受合外力为零
B.物块所受合外力越来越大
C.物块所受合外力大小保持不变,但方向时刻改变
D.物块所受摩擦力大小变化
答案 CD
解析 由于物块做匀速圆周运动,故合外力时刻指向圆心,且大小保持不变,A、B错误,C正确;对物块受力分析知物块所受摩擦力总是与重力沿切线方向的分力G1相等,因随物块下滑G1逐渐减小,故物块所受摩擦力也逐渐减小,D正确。
6. (向心力的计算)如图所示,半径为r的圆筒绕竖直中心轴OO旋转,小物块a靠在圆筒的内壁上,它与圆筒内壁间的动摩擦因数为μ,最大静摩擦力等于滑动摩擦力。现要使a不下落,则圆筒转动的角速度ω至少为(  )

ef56b745c664cecbeb03e1d0c3a87ebc.png
答案 D

b3d374ddd214a3b7d4845faeed32776e.png
7. (圆周运动的物理量的比较)(多选)如图所示,A、B两球穿过光滑水平杆,两球间用一细绳连接,当该装置绕竖直轴OO匀速转动时,两球在杆上恰好不发生滑动。若两球质量之比mAmB=21,那么关于A、B两球的下列说法中正确的是(  )

6c6fbfe2c80bf819d61e79ed79551f06.png
A.A、B两球受到的向心力之比为21
B.A、B两球角速度之比为11
C.A、B两球运动半径之比为12
D.A、B两球线速度之比为12
答案 BCD
解析 两球的向心力都由细绳的拉力提供,大小相等,两球都随杆一起转动,角速度相等,A错误,B正确。设两球的运动半径分别为rArB,转动角速度为ω,则mAω2rAmBω2rB,所以运动半径之比为rArB=12,C正确。由vωr可知vAvB=12,D正确。
8. (变速圆周运动)飞机由俯冲转为上升的一段轨迹可以看成圆弧,如图所示,如果这段圆弧的半径r=800 m,飞行员能承受的力最大为自身重力的8倍。飞机在最低点P的速率不得超过多少?(g=10 m/s2)

6ca40455ec2ac662fcd8091c9df5596b.png
9. (向心力的计算)如图,置于圆形水平转台边缘的小物块随转台加速转动,当转速达到某一数值时,物块恰好滑离转台开始做平抛运动。现测得转台半径R=0.5 m,离水平地面的高度H=0.8 m,物块平抛落地过程水平位移的大小s=0.4 m。设物块所受的最大静摩擦力等于滑动摩擦力,取重力加速度g=10 m/s2。求:

1fbfa87138c6c80a49f6d9753a78c18b.png
(1)物块做平抛运动的初速度大小v0
(2)物块与转台间的动摩擦因数μ
答案 (1)1 m/s (2)0.2
在水平方向上有sv0t
①②式解得v0=1 m/s。
(2)物块离开转台时,最大静摩擦力提供向心力,有
fmaxμNμmg
③④⑤式解得μ=0.2。
B组:等级性水平训练
10.(向心力的计算) 链球运动员在将链球抛掷出去之前,总要双手抓住链条,加速转动几圈,如图所示,这样可以使链球的速度尽量增大,抛出去后飞行得更远,在运动员加速转动的过程中,能发现他手中与链球相连的链条与竖直方向的夹角θ随链球转速的增大而增大,则以下几个图像中能描述ωθ的关系的是(  )

a790ac6bae48183008534533c2a45e1c.png

421cc6d0055cfc978f22213cd5d77b88.png
答案 D
解析 链球在水平面内做匀速圆周运动,对链球受力分析可知,受到重力、链条的拉力作用,如图所示。

a4499e4af7ec11006e5a1a12fc3a9fe1.png
竖直方向Fcosθmg
水平方向Fsinθ2Lsinθ
11.(一般曲线运动)(多选)一质点沿螺旋线自外向内运动,如图所示,已知其走过的弧长s与时间t成正比。则关于该质点的运动,下列说法正确的是(  )

c20d5559cb2683e7ecf6987ec2d0778e.png
A.质点运动的线速度越来越大
B.质点运动的向心力越来越大
C.质点运动的角速度越来越大
D.质点所受的合力不变
答案 BC
12. (圆周运动的物理量的比较)在光滑的圆锥漏斗的内壁,两个质量相同的小球A和B,分别紧贴着漏斗在水平面内做匀速圆周运动,其中小球A的位置在小球B的上方,如图所示。下列判断正确的是(  )

f4a7e863ec09104b361692600957e790.png
A.A球的速率小于B球的速率
B.A球的角速度大于B球的角速度
C.A球对漏斗壁的压力大于B球对漏斗壁的压力
D.A球的转动周期大于B球的转动周期
答案 D
解析 先对A、B两球进行受力分析,两球均只受重力和漏斗给的支持力,如图所示,

efaaa84c9d5087d7c039f77e6f22504f.png
对A球,根据牛顿第二定律:
NAsinαmg
对B球,根据牛顿第二定律:NBsinαmg

a767fbd6f0509271b948e4e7ba23faa8.png
A.小球的角速度突然增大
B.悬线的拉力突然减小
C.小球的向心力突然增大
D.小球的线速度突然增大
答案 AC
14. (圆周运动的向心力及有关计算)长为L的细线,拴一质量为m的小球,细线上端固定,让小球在水平面内做匀速圆周运动,如图所示,求细线与竖直方向成θ角时(重力加速度为g):

160e80006c02d3a5f60568f8bfbffc76.png
(1)细线中的拉力大小;
(2)小球运动的线速度的大小。
解析 (1)小球受重力及细线的拉力两个力作用,如图所示,

0a810085620f56a3060b5644e2292c83.png
竖直方向Tcosθmg
(2)小球做圆周运动的半径
rLsinθ
您需要登录后才可以回帖 登录 | 立即注册

本版积分规则

Archiver|手机版|小黑屋|5432教案网 ( 蜀ICP备2022024372号-1 |川公网安备51152402000101号 )|网站地图

GMT+8, 2026-4-7 19:26 , Processed in 0.757640 second(s), 32 queries .

Powered by Discuz! X3.5

© 2001-2026 Discuz! Team.

快速回复 返回顶部 返回列表