找回密码
 立即注册
搜索
查看: 1|回复: 0

05(九年级)电动机(导学案4)

[复制链接]

2万

主题

224

回帖

14万

积分

管理员

积分
140057
发表于 9 小时前 | 显示全部楼层 |阅读模式
人教版物理九年级全册
第二十章 电与磁
第4节 电动机
知识梳理  预习感知
知识点1  磁场对通电导线的作用
1.通电导线在磁场中要受到,力的方向跟的方向、的方向都有关系,当电流的方向或者磁感线的方向变得相反时,通电导线受力的方向也变得。
2.能量转化:转化为。
知识点2  电动机
1.构造:电动机由和两部分组成。
2.工作原理:在里受力转动。
3.换向器的作用:当线圈刚转过平衡位置时,能自动地改变线圈中的。

课堂练习     当堂反馈
1. (知识点1)借助如图所示的实验装置,晓明探究磁场对通电直导线的作用闭合开关,原本静止的轻质硬直导线AB水平向右运动要使AB水平向左运动,下列措施中可行的是(   )
A. AB两端对调
B. 将滑动变阻器的滑片P向右移动
C. 换用磁性更强的蹄形磁体
D. 将蹄形磁体的NS极对调

901e7a1a464b0760ce87c9c19e752905.jpg       
d4013ce64df4329c265a8787c1e0f37d.jpg
第1题                                 第2题
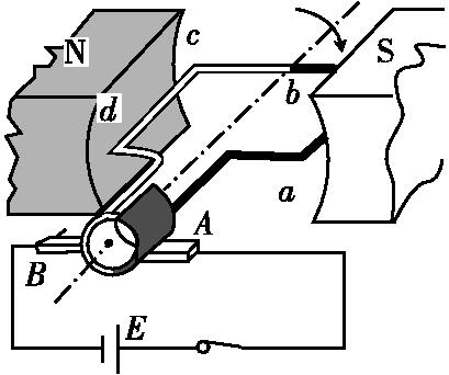
2. (知识点1)如图所示是直流电动机的模型,闭合开关后线圈顺时针转动.现要线圈逆时针转动,下列方法中可行的是(     )
A. 只改变电流大小                            B. 只改变电流方向
C. 对换磁极同时改变电流方向                  D. 换用磁性更强的磁铁
3. (知识点2)电动机的工作原理是,只改变线圈中的电流方向,电动机的转动方向(选填不会)发生改变电风扇、洗衣机、抽油烟机等家用电器中都装有电动机,这些用电器是联接入家庭电路的
4. (知识点1)如图所示的实验装置中,将一根直导线ab放在蹄形磁铁的磁场中,接通电源,根据实验现象回答以下问题

58a5888ec793e0fccdbd00452d02db23.jpg
(1)静止在导轨上的导线ab通电后,就会,这说明
(2)不改变磁感线的方向,只改变通过导线ab的电流方向,导线ab的运动方向,这说明
(3)不改变电流的方向,只改变磁感线方向,导线ab的运动方向,这说明
同步练习     易学精练
1. 小明将直流电动机模型接入电路闭合开关后发现电动机不工作他用手轻轻地碰了一下线圈后直流电动机模型开始正常转动其原因可能是(   )
A. 直流电动机的铜半环与电刷接触不良
B. 电源电压太低
C. 线圈刚好处于平衡位置
D. 线圈中的电流太小
2. 要使直流电动机的转速加快下列采取的措施不可行的是(   )
A. 增大线圈中的电流
B. 更换电压较高的直流电源
C. 将磁铁的两极对调
D. 再增加一个磁铁使该磁铁的磁场与原有的磁感线方向一致
3. 要改变直流电动机线圈转动的方向可行的办法是(   )
A. 改变电流的大小
B. 改变磁场的强弱
C. 只改变电流方向
D. 同时改变电流方向和磁场方向
4. 如图所示线圈abcd位于磁场中K与1接通时ab段导线受磁场力F的方向向上当K改为与2接通时ab段导线受磁场力(   )
A. 方向向下
B. 方向向上
C. 为零因为电源反接
D. 为零因为电路一定是断路

5a62f2514a0cc1472a8fc8a075dbbc9a.jpg         
5464135f0abb2ef667f827c80080c2e7.jpg
第4题                              第5题
5. 如图所示为直流电动机的工作原理以下相关的分析中正确的是(   )
A. 电动机工作过程中消耗的电能全部转化为内能
B. 电动机工作过程中消耗的电能全部转化为机械能
C. 电动机工作过程中线圈受磁场力的作用而转动
D. 电动机工作过程中线圈中的电流方向保持不变
6. 如图所示给直导线通电直导线周围产生了蹄形磁体对通电直导线有的作用根据这个原理可以制成

a62a08676c32a4b946b3d106b01ddf80.jpg         
c50024eac4b25afdcd5a20edf238b599.jpg
第6题                              第7题
7. 探究磁场对电流的作用
过程如图闭合开关导体ab向右运动说明通电导体在磁场中受到的作用据此原理可以制成 电动机 
问题讨论为使实验现象更明显若把导体换用轻质塑料棒实验(不能)成功因为
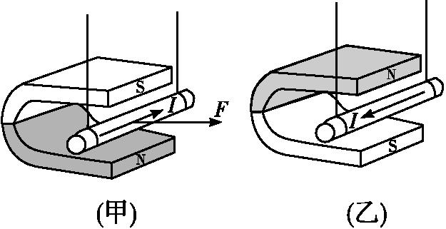
8. 如图所示通电导线中电流的方向向右磁场对通电导线作用力的方向如图甲所示改变实验条件在图乙中画出磁场对通电导线作用力的示意图

47c0e69cecea22c867786d80e0dab201.jpg
甲                        乙
9. 1879年10月经过对1600多种材料进行几千次试验后爱迪生制成了第一个可供实用的碳丝灯泡
(1)如图甲所示当磁体的磁极靠近正常工作的碳丝灯泡时灯丝上端被磁体吸引这是因为通电后的灯丝在磁场里受到了的作用
(2)要从图甲现象变为图乙中灯丝上端被排斥的现象可以改变方向

8d3c61c9fe8006d24f86f5898ff51d7e.jpg
甲               乙
10. (1)按图甲组装实验器材给直导线通电直导线向左运动这说明对通电直导线有力的作用只对调电源正负极接线通电直导线会向运动这说明通电导线的受力方向与
有关

c1288763424a99beac0569b07af5affe.jpg
甲                    乙
(2)如图乙是某兴趣小组制作的神奇转框框的上部中央与电池正极相连下部紧贴在与电池负极相连的柱形物两侧金属框就可以绕电池持续转动据此你认为构成柱形物的材料应具有较好的(填物理属性)

您需要登录后才可以回帖 登录 | 立即注册

本版积分规则

Archiver|手机版|小黑屋|5432教案网 ( 蜀ICP备2022024372号-1 |川公网安备51152402000101号 )|网站地图

GMT+8, 2026-4-6 14:53 , Processed in 0.892630 second(s), 31 queries .

Powered by Discuz! X3.5

© 2001-2026 Discuz! Team.

快速回复 返回顶部 返回列表