找回密码
 立即注册
搜索
查看: 1|回复: 0

17(九年级)热机(导学案4)

[复制链接]

2万

主题

224

回帖

14万

积分

管理员

积分
140057
发表于 9 小时前 | 显示全部楼层 |阅读模式
人教版物理九年级上册
第十四章  内能的利用
第1节 热  机
知识梳理  预习感知
知识点1  热机
1. 原理:利用做功的机械,具体为:燃料的化学能<Object: word/embeddings/oleObject1.bin>内能<Object: word/embeddings/oleObject2.bin>机械能。
2. 种类:分为蒸汽机、、汽轮机、喷气发动机等。
知识点2  内燃机
1. 概念:燃料直接在发动机内燃烧产生动力的热机;内燃机分为汽油机和两大类。
2. 四冲程内燃机的一个工作循环包括冲程、压缩冲程、冲程、排气冲程。一个工作循环中,曲轴和飞轮转动周,对外做功次。
3. 汽油机汽缸顶部有,汽油在汽缸内燃烧时将能转化为能;柴油机汽缸顶部有一个,通过直接点燃柴油。
课堂练习     当堂反馈
1. (知识点1)以下机械属于热机的是(     )
A. 火箭发动机         B. 发电机         C. 滑轮组          D. 洗衣机
2.(知识点1)四冲程汽油机在工作过程中,将内能转化为机械能的冲程是(    )
A. 吸气冲程           B. 压缩冲程       C. 做功冲程        D. 排气冲程
3.(知识点2)关于汽油机和柴油机的下列说法中,错误的是(    )
A. 柴油机的汽缸顶部是喷油嘴
B. 柴油机的飞轮大,比汽油机笨重
C. 在压缩冲程中,柴油机比汽油机压缩程度高
D. 柴油机用点燃式完成做功
4.(知识点2)四冲程柴油机在一个工作循环中,下列说法不正确的是(    )
A. 对外做功一次                          B. 有两次能量转化
C. 曲轴转动两圈                          D. 压缩冲程把内能转化为机械能
5.(知识点2)如图所示,某单缸四冲程汽油机正处于冲程,将能转化为能,接下来它应该处于冲程。

c519a2d9b02ea8a62fefe117241b7649.jpg
同步练习     易学精练
一、选择题
1.如图所示的四种交通工具不用热机作为动力机械的是(    )

4ebc4a083bacad28961f3de03d124b11.jpg
A                                       B

632a8a16ea8a5d2d07232bb7645f1abf.jpg
C                                        D
2. 汽车已成为现代生活中不可缺少的一部分汽油机的四个冲程中使汽车获得动力的是(   )
A. 吸气冲程            B. 压缩冲程           C. 做功冲程           D. 排气冲程
3.如图为四冲程汽油机汽缸的工作示意图若按吸气、压缩、做功、排气的顺序排列下列排序正确的是(      )

cd591b07eb33d9e04a6ee3cb4b5ac957.jpg
甲              乙              丙                丁
A. 乙甲丙丁             B. 甲丁乙丙            C. 丙乙甲丁          D. 丙丁甲乙
4. 汽油机在做功冲程中高温高压的气体膨胀对外做功它的温度和内能的变化情况是(    )
A. 温度降低内能增大                          B. 温度不变内能不变
C. 温度升高内能增大                          D. 温度降低内能减小
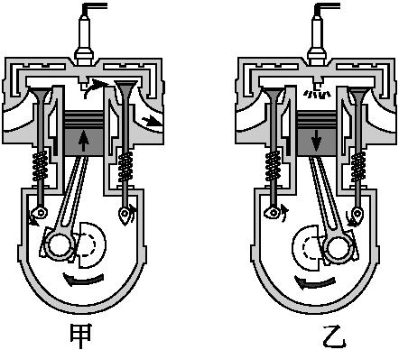
5.如图所示是四冲程汽油机工作状态示意图下列说法正确的是(    )

18142965c20a1793a750f7275d88b123.jpg
A. 该图表示的是压缩冲程
B. 该冲程是内能转化为机械能的过程
C. 该冲程中汽缸内气体分子运动剧烈程度减弱
D. 该冲程中主要是通过热传递的方式改变汽缸内物质的内能
二、填空题
6.一台单缸四冲程内燃机正常工作时的转速为1800 r/min该内燃机每秒共经历了个冲程。
7.如图所示工作中的四冲程汽油机正处于冲程该冲程将能转化为机械能若该汽油机每秒完成40个冲程则每秒它对外做功飞轮转过

6fe7848da21afb19f83cf4a9f36c9f0d.jpg
8.如图所示是四冲程汽油机工作的部分冲程示意图其中图是做功冲程图是依靠飞轮的惯性来完成的冲程

11857c391ac47908be3632c3bd553c44.jpg
甲                乙
9.如图所示是演示点火爆炸的实验装置按动电火花发生器的按钮点燃盒内酒精盒盖被打出去这是因为酒精燃烧产生的燃气对外燃气的能转化为盒盖的这与四冲程汽油机的冲程的能量转化相同

68c4cde0d5a4c6b945150f7587144db9.jpg
三、实验探究题
10. 在如图所示的汽油机模型实验中厚壁有机玻璃圆筒内底部装有两根与静电起电机相连接的放电针

5e0d17fab3b12276db1591448a7a0b79.jpg
(1)将适量的汽油喷入筒内用软木塞塞住筒口摇动起电机.如果观察到放电针放电汽油燃烧软木塞被高温高压的气体冲出即可模拟四冲程汽油机工作时的冲程
(2)实验时若发现点火装置不能工作可用火柴替代放电针为了点燃圆筒内的火柴可用
会聚太阳光使其点燃
11.如图所示图ABCD是四冲程汽油机的工作示意图图EF是演示实验的示意图C图是冲程与它原理相同的是图所示的演示实验汽油机的工作示意图中机械能转化为内能的冲程是(后两空选填字母)

720805a71948a1947dc00c5a703261d6.jpg
A                    B                      C

720805a71948a1947dc00c5a703261d6.jpg
D                    E                      F
您需要登录后才可以回帖 登录 | 立即注册

本版积分规则

Archiver|手机版|小黑屋|5432教案网 ( 蜀ICP备2022024372号-1 |川公网安备51152402000101号 )|网站地图

GMT+8, 2026-4-6 14:57 , Processed in 0.815759 second(s), 31 queries .

Powered by Discuz! X3.5

© 2001-2026 Discuz! Team.

快速回复 返回顶部 返回列表