找回密码
 立即注册
搜索
查看: 1|回复: 0

10(九年级)电阻的测量(导学案4)

[复制链接]

2万

主题

224

回帖

14万

积分

管理员

积分
140057
发表于 9 小时前 | 显示全部楼层 |阅读模式
人教版物理九年级全册
第十七章 欧姆定律
第3节 电阻的测量
知识梳理  预习感知
知识点1  伏安法测定值电阻的阻值
1.实验原理:。
2.实验方法:用测出待测电阻两端的电压,用测出通过待测电阻的电流,算出电阻。
知识点2  伏安法测小灯泡的电阻
1.伏安法测小灯泡的电阻的原理和方法与测定值电阻的阻值相同,但伏安法测定值电阻阻值的实验中,多次测量的目的是为了减小,而伏安法测小灯泡的电阻实验中,多次测量的目的是为了探究灯丝电阻与的关系。
2.实验结论:灯丝的电阻随的升高而增大。

课堂练习     当堂反馈
1. (知识点1)伏安法测电阻实验中滑动变阻器不能起到的作用是(   )
A. 改变待测电阻两端的电压                    B. 改变电路中的电流
C. 保护电路                                  D. 改变待测电阻的阻值
2. (知识点2)如图所示是小红测定小灯泡电阻的电路图当闭合开关S时发现灯L不亮电流表、电压表均无示数若电路故障只出现在灯L和变阻器R中的一处则下列判断正确的是(   )

b18a368d3b3008d85db9e283f75ced7e.jpg A. 灯L短路
B. 灯L断路
C. 变阻器R短路
D. 变阻器R断路
3. (知识点1)小英按图甲所示的电路图连接实验图,测量电阻的阻值。闭合开关S,调节滑动变阻器的滑片P后,观察到电压表和电流表的示数分别如图乙、丙所示,则电压表的示数为V,电流表的示数为A,待测电阻的阻值为Ω

1893b57c0c3ee36c4843b7ab967b5db8.jpg
甲                         乙                          丙
4. (知识点2)如图甲是利用伏安法测小灯泡电阻的实验电路图图乙是根据实验数据画出的通过小灯泡的电流I与它两端电压U之间的关系图像通过图像可以得出小灯泡两端的电压为4 V时灯丝电阻为 Ω当小灯泡两端的电压增大时灯丝的电阻将其原因是

fed5b42a5939a186229948462b04ab6e.jpg
甲                             乙
同步练习     易学精练
1. 小明同学练习用伏安法测电阻他所测电阻的阻值约为2 Ω所用电压表的量程是0~3 V所用电流表的量程是0~3 A测量结束后他测得的待测电阻的阻值为10 Ω则他在测量中所出现的错误可能是(   )
A. 电压表和电流表的位置接反了
B. 他没有多次测量取平均值致使误差偏大
C. 电压表按0~15 V量程读数电流表按0~3 A的量程读数
D. 电压表按0~15 V量程读数电流表按0~0.6 A的量程读数
2. 如图是测量小灯泡电阻的电路图当开关闭合后发现小灯泡不亮移动滑动变阻器的滑片时电压表无示数电流表的示数有明显变化则以下分析正确的是(   )
A. 电流表正、负接线柱接反了                       B. 电压表的量程选大了
C. 小灯泡处发生短路                               D. 小灯泡处发生断路

2ebc04090a8421c937d15192c905ddbb.jpg    
d30b1140fac8278662a62ae059bfba42.png
第2题                                    第3题
3. 在用伏安法测电阻的实验中有两位同学分别选用定值电阻和小灯泡为测量对象在处理数据时分别画出了UI图像如图甲、乙所示则对于图像的分析以下说法错误的是(   )
A. 由图甲可知定值电阻的阻值为1 Ω
B. 由图甲可知电阻是导体本身的一种性质它不随导体两端的电压和导体中的电流改变而改变
C. 由图乙可知小灯泡的电阻跟灯丝的温度有关
D. 为了减小误差应该用多次测量取平均值的方法测定小灯泡的电阻
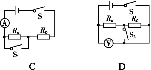
4. (多选题)某同学在只有电流表或电压表的情况下想测量未知电阻Rx的阻值其中电源电压未知定值电阻和滑动变阻器的最大阻值均已知下列电路中可以测出Rx阻值的是(   )

8b7b780f1f5e6c5d195ddce8ffb56fbe.jpg
A                                    B

2c05ceff8f3a5ea9a4146d86997f1ce4.jpg
C                                   D
5. 为测量阻值约10 Ω的电阻阻值设计并连接了如图所示的电路所使用的电源为两节干电池请指出他在电路设计和连接上存在的两个问题
(1)
(2)

9bd407311a010e99ff07c5eabf5dbabe.jpg   
629be8439ed2293367516f00e3b8d9c7.png
第5题                                     第6题
6. 小明同学利用电流表A、单刀双掷开关S、电阻箱R、滑动变阻器R0和电源测量未知电阻Rx的阻值实验电路图如图甲所示实验操作如下
①移动滑动变阻器的滑片P使滑动变阻器接入电路的阻值最大将S拨至a再次移动滑片P使滑动变阻器的部分阻值接入电路读出电流表的示数I1
②保持滑片P位置不变将电阻箱值调到最大再将S从a拨至b调节电阻箱使电流表的示数为I2此时电阻箱的示数为R'
(1)若I1=I2则待测电阻值RxR'(选填>”“<=)
(2)若I1>I2则待测电阻值Rx<Object: word/embeddings/oleObject1.bin>R'(选填>”“<=)
(3)图乙所示电阻箱的示数为Ω
7. 用如图甲的电路测量定值电阻R的阻值
(1)测量电阻的实验原理是。
(2)按图甲电路,将图乙中的滑动变阻器正确连入电路。
(3)连接电路时,开关必须,正确连接电路后,闭合开关前,滑动变阻器的阻值应处于       值。
(4)闭合开关,将图乙中的滑动变阻器的滑片P向左移动时,电流表的示数会,当滑片P滑到某一位置时,电流表的示数为0.5 A,电压表的示数如图丙。由此可知被测电阻的阻值R=Ω。
(5)该同学完成一次实验后,为确保测量结果的准确性,接下来的操作是。
A. 换用阻值不同的电阻再进行几次测量
B. 调节滑动变阻器的滑片P到不同位置再进行几次测量

95d938f8172376f90c70db3758257c8f.jpg
8cde39e18be835a94e3ff3ea64e918b9.jpg
ac48af01524a4e1cda25af512ac788c7.jpg
甲                           乙                            丙
8. 小亮用伏安法测小灯泡的电阻小灯泡额定电压2.5 V电源电压4.5 V
(1)请用笔画线代替导线将如图甲所示的实物电路连接完整

55f6bc30a2a1021e10b9f3937ff6c15a.jpg    
8f479d713d100c7c4cf6768923655c8a.jpg
甲                                     乙
(2)在连接电路时开关应滑动变阻器滑片P应位于(选填AB)端
(3)闭合开关移动滑动变阻器的滑片P当电压表的示数为2.5 V时电流表示数如图乙所示此时小灯泡的电阻约为 Ω(保留一位小数)他把多次测量的电流值和电压值绘制成IU图像发现IU图线是一条曲线原因是
(4)如果还想测量额定电压为3.8 V的小灯泡正常发光时的电阻但是电压表的15 V量程已经损坏在不改变原器材的情况下你的办法是
9. 在测量标有电压为2.5 V的小灯泡电阻的实验中,第一次测量时的电压等于2.5 V,小灯泡正常发光.以后调节滑动变阻器,让小灯泡两端的电压逐次下降,使灯丝温度不断降低,灯泡变暗直至完全不发光,测量数据如下表所示:
数据序号
1
2
3
4
5
6
7
电压U/V
2.5
2.1
1.7
1.3
0.9
0.5
0.1
电流I/A
0.28
0.26
0.24
0.21
0.19
0.16
0.05
(1)根据题目要求,请用笔画线代替导线将电压表接入电路中。

3fb1afb7440f1c916ed702a043ccba0f.jpg
(2)从数据可以看出,实验中滑动变阻器的滑片逐渐向(选填“a”或“b”)端滑动。
(3)小灯泡正常发光时的电阻为Ω,小灯泡不接入电路中时,其电阻最接近Ω。
(4)对比不同电压下的小灯泡电阻值,我们得出结论:随着小灯泡灯丝温度不断降低,小灯泡的电阻逐渐。
10. 如图甲是用伏安法测量定值电阻Rx的实物电路图
(1)请用笔画线代替导线将图甲中的实物电路连接完整
(2)闭合开关前应将滑动变阻器的滑片移到闭合开关发现电流表几乎无示数电压表指针明显偏转则出现的故障可能是Rx
(3)排除故障后闭合开关当滑片移动到某位置时电压表示数为2.4 V电流表示数如图乙所示其读数为A则未知电阻Rx= Ω

74d0669e6865c77045d873cb098dbba3.jpg
26a52ae30418cce5a828cc9d11b6d65d.jpg
甲                                    乙
(4)若实验中电压表损坏利用其他的原有器材也能测出未知电阻Rx的阻值实验电路如图丙所示(滑动变阻器最大阻值为R0电源电压未知且不变)请将下列相关实验步骤补充完整
①闭合开关S将滑动变阻器的滑片P移到a记录电流表示数I1
②闭合开关S将滑动变阻器的滑片P移到记录电流表示数I2
③写出待测电阻的表达式Rx=(用已知量和测量量符号表示)
您需要登录后才可以回帖 登录 | 立即注册

本版积分规则

Archiver|手机版|小黑屋|5432教案网 ( 蜀ICP备2022024372号-1 |川公网安备51152402000101号 )|网站地图

GMT+8, 2026-4-6 14:55 , Processed in 0.763089 second(s), 31 queries .

Powered by Discuz! X3.5

© 2001-2026 Discuz! Team.

快速回复 返回顶部 返回列表