找回密码
 立即注册
搜索
查看: 23|回复: 0

[人教版] 16(九年级)特殊方法测电阻(导学案1)

[复制链接]

4万

主题

224

回帖

19万

积分

管理员

积分
192579
发表于 2026-4-6 04:53:32 | 显示全部楼层 |阅读模式
                   第2课时    特殊方法测电阻
【学习目标】
1、知道测量电阻的特殊方法有:伏阻法、安阻法、等效替代法及其实验原理、
2通过解决特殊方法下电阻测量的问题,体会灵活运用欧姆定律解决问题。
  • 通过运用欧姆定律解决实际问题,体验物理规律与生活实际的密切联系。
【复习巩固】
1. 欧姆定律的公式及其变形
2. 串联电路的电流特点 :
3、并联电路的电压特点 :
3、 给你一个未知阻值的电阻,你将如何测出它的电阻?  
【合作探究一】  伏阻法
运用电压表(无电流表),一个阻值为R0的定值电阻,测量待测电阻阻值。
(1)器材:一只电压表,一个阻值为R0的定值电阻、电源(电压未知)、开关和导线若干。
(2)实验步骤:
步骤一、请你在虚线框中画出实验时所需的电路图,并连接电路
步骤二、将电压表在Rx两端,闭合开关,读出电压表的示数Ux
步骤三、将电压表在R0两端,闭合开关,读出电压表的示数U0
步骤四、根据你设计的电路的特点和实验所测得的物理量,
写出Rx的表达式(用符号表示)
【知识深化一】
所给器材:电源(电压未知)、开关、 电压表、定值电阻R、 导线若干、未知电阻Rx(要求:画出实验电路图,写出实验步骤和表达式,尽可能想出多种方法)
【合作探究二】  安阻法
运用电流表(无电压表),一个阻值为R0的定值电阻,测量待测电阻阻值。
(1)器材:一只电流表,一个阻值为R0的定值电阻、电源(电压未知)、开关和导线若干。
(2)实验步骤:
步骤一、请你在虚线框中画出实验时所需的电路图,并连接电路
步骤二、将电流表和Rx,闭合开关,读出电流表的示数Ix
步骤三、将电流表和R0,闭合开关,读出电流表的示数I0
步骤四、根据你设计的电路的特点和实验所测得的物理量,
写出Rx的表达式(用符号表示)
【知识深化二】
所给器材:电源(电压未知)、开关、 电流表、定值电阻R、 导线若干、未知电阻Rx(要求:画出实验电路图,写出实验步骤和表达式,尽可能想出多种方法)
【随堂小测】

98d7f8bc0298f57aa2662c379838627a.jpg 1、如图6所示,几个同学在只有电流表或电压表时,利用一个已知阻值的电阻R0设计了四个测未知电阻Rx的电路,其中不可行的是   (  )

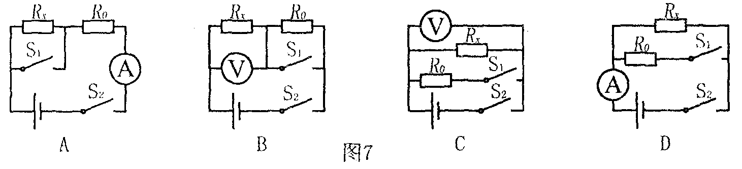
073fb72622768ab2432b3840ee1de5b1.png 2、如图7所示的四种电路中,电阻RO已知,当通过闭合或断开电路中的不同开关时,不能测算出未知电阻Rx阻值的电路是      (   )
您需要登录后才可以回帖 登录 | 立即注册

本版积分规则

Archiver|手机版|小黑屋|5432教案网 ( 蜀ICP备2022024372号-1 |川公网安备51152402000101号 )|网站地图

GMT+8, 2026-4-24 05:04 , Processed in 0.788339 second(s), 31 queries .

Powered by Discuz! X3.5

© 2001-2026 Discuz! Team.

快速回复 返回顶部 返回列表