找回密码
 立即注册
搜索
查看: 156|回复: 0

[人教版] 13(九上)第4单元-课题2+水的组成(第1课时)(教案4)

[复制链接]

4万

主题

224

回帖

19万

积分

管理员

积分
196389
发表于 2026-3-30 07:16:37 | 显示全部楼层 |阅读模式
单元《自然界的水》教学设计
课题2 水的组成
第1课时 水的组成的探究
课题1 水资源及其利用
课时
2
授课年级
初三
课标要求
1.认识水的组成。
2.学生必做实验及实践活动:水的组成及变化的探究。
3.跨学科实践活动:制作模型并展示科学家探索物质组成与结构的历程。
教材
分析
本课时以人类认识水组成的简要史实引入并展开,模拟史实的研究过程,分水的生成和水的分解两步展开。
水生成的部分为氢气的燃烧实验,水分解的部分为电解水实验,通过对实验现象的分析,并结合元素观、守恒观的理念,从宏观和微观两个角度认识了水的组成和构成。
2024版新教材在电解水实验中强调了水的电解属于化学变化,通过此知识渗透物质组成探究的方法,即通过物质的化学变化探究物质组成的思想。
学情分析
探究物质的组成是化学学习的任务之一,通过前面的学习和生活经验的积累,学生不仅知道水是我们身边最常见的物质之一,而且对水的物理性质也有了一定的了解。但对于水的组成,学生并不完全了解。根据化学反应前后元素的种类不变来确定物质的组成是一种常用的方法,这种思想学生可能不会想到,但经过引导学生还是能理解的。
本课时的难点是学生在氢气燃烧和水电解这两个化学反应中强化证据推理、模型建构等科学思维,逐步建构起探究物质组成的一般思路。
教学目标
1.通过氢气燃烧实验和电解水实验认识水的组成,了解探究物质组成的一般思想和方法。
2.了解并体验科学家认识水的组成的过程和方法。
教学重、难点
重点1.认识水的组成。
2.体验科学界认识水的组成的过程和方法。
难点:了解探究物质组成的一般思想和方法。
核心素养
化学观念:通过“水的生成”“水的分解”形成“在一定条件下通过化学反应可以实现物质转化”的观念;通过对“水的分解”过程的微观分析,深化理解“化学变化的本质是原子的重新组合”。
科学思维:通过对“水的生成”“水的分解”实验探究,运用分析、归纳的科学方法,发展学生基于实验事实进行证据推理和建构模型的思维能力;通过“水的电解”发展学生从宏观、微观、符号相结合的视角探究物质及其变化规律的认识方式。
科学探究与实践:通过对“水的生成”“水的分解”实验探究,发展学生以实验为主的科学探究能力,在分析研讨中增强与他人沟通交流、合作问题解决的能力。
科学态度与责任:通过对水的组成的化学史的了解,初步学会批判性思维方法,勇于修正或放弃错误观点的科学精神。
教学过程
教学环节
教学活动
设计意图
环节一、
新课导入
【新课导入】从宏观角度认识物质的元素组成,从微观角度认识物质的微粒构成是化学研究的重要内容,那么如何探究物质的组成和结构呢?我们就从水这种熟悉的物质入手,认识探究物质组成的一般思路和方法,同时也从更多的角度认识水。

5aaf8dbe8fe55d07cc7c99f37b518bc0.png
化学史在学习元素的概念时我们了解到,古人曾认为水是一种“元素”,是不能再分的。如我国古代的“五行说”中就有“水”,西方的“四元素说”中也有“水”,而随着人类的不断探索和科学家的实验发现,“水”不是一种“元素”。
通过化学研究物质的角度引入本节课的主题——水的组成的研究,一方面使学生认识化学学科的特点,另一方面培养学生从多角度认识物质的思路。
环节二、
氢气燃烧实验
【学生活动1】阅读教材P93科学史话,了解水组成的发现史。
师生总结】科学解密水的组成
1.18世纪末,英国化学家普里斯特利把“易燃空气”(氢气)和空气混合后放在干燥、洁净的玻璃瓶中,当用电火花点火时,发出震耳的爆鸣声,且玻璃瓶上出现了液滴。
  • 不久另一位英国的化学家卡文迪什用纯氧代替空气进行上述实验,确认所得液滴是水,并确认大约2份体积的“易燃空气”与1份体积的氧恰好化合成水。
上述实验实际已经揭示水不是一种元素,可惜两位科学家受当时错误观念的束缚,没能认识这一点,反将其解释为两种气体里都含有水。
【实验重现】“易燃空气”氢气,仿照科学家的实验,探究氢气的燃烧。
【实验4-4】教师演示实验或播放实验视频,学生观察并描述实验现象。

cb5d49318937969e683d4d955e730b18.jpg
【学生展示】氢气燃烧的现象。
【总结】氢气燃烧的实验现象:产生淡蓝色火焰,放出大量热,烧杯内壁凝结有水雾。
【思考与讨论】氢气由氢元素组成,氧气由氧元素组成,那么根据上述反应你能否推导出水的元素组成呢?
      氢元素   氧元素   氢元素和氧元素   
【总结】根据化学反应前后元素种类不变,该实验已经证明了水是由氢、氧两种元素组成。
【思考】两位科学家虽然有了新发现,但未能打破传统观念的束缚,仍认为水是一种“元素”,对此你有何感想?(学生畅聊,不设限)
利用科学家探索“水的组成”的科学史实,启发学生根据实验现象,学习运用分析、推理的思维方法,了解科学家的严谨求实的科学态度。
环节三、
电解水实验
【过渡】通过氢气在空中燃烧的实验已经证明水是由氢元素和氧元素组成的。还有其他的方法证明水的组成吗?
化学史】科学解密水的组成
拉瓦锡重复了普利斯特里和卡文迪什的实验,并做了一个相反的实验:将水蒸气通过1050℃的高温金属管,重新获得“易燃空气”,拉瓦锡将这种气体叫做“生成水的气体”。
【过渡】下面我们再次模拟化学家的实验,从水的分解的角度探究水的组成。
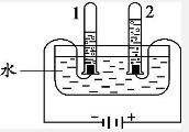
探究水的组成及变化。如图为电解的实验装置,一个直流电源,正负极分别连接一个带尖嘴的玻璃管。
【学生活动】教师演示实验或播放实验视频,学生观察并描述实验现象。
【操作1】玻璃管中加满水,接通直流电源。

56d2a23f855c9801ff31a148d477ac70.png
【提示】主要从下表所示的角度观察实验现象。
现象
与电源正极
相连的玻璃管内
与电源负极
相连的玻璃管内
有气体产生
有气体产生
比较两个玻璃管内现象的差异
负极与正极产生的气体体积比约为2:1
【操作2】切断上述装置中的电源,用燃着的木条分别在两个玻璃管尖嘴口检验电解反应中产生的气体。
实验内容
检验与电源正极相连的
玻璃管内的气体
检验与电源负极相连的
玻璃管内的气体
现象
使燃着的木条燃烧更旺
气体燃烧,产生淡蓝色火焰
解释
正极产生的气体为氧气
负极产生的气体为氢气
【分析与结论】
(1)水在通电后发生了什么变化?
(2)写出水电解反应的文字表达式,分析水的元素组成?
【解析】(1)经实验验证,水通电后有氧气和氢气两种新物质生成,说明水在通电后发生了化学变化。
(2)依据反应前后元素守恒可知,水是由氢元素和氧元素组成的
氢元素和氧元素 氢元素   氧元素
【疑问】那么水电解只有这两种物质生成吗?还有没有其他物质生成?如何验证?
【资料】二百多年前,拉瓦锡做了著名的水的化合和分解实验:将一定质量的氢气和氧气在一起燃烧,化合后生成了同质量的水;再将这些水分解,仍然得到原来的同质量的氢气和氧气。
【总结】拉瓦锡从定量的角度得出结论:电解水只生成氢气和氧气。
【实验总结】水在直流电的作用下,发生化学反应,在正负极分别生成了氧气和氢气,且产生氢气和氧气的体积比约为2:1并依据反应前后元素守恒可知,水是由氢元素和氧元素组成的
【讲解】根据精确的实验结果,每个水分子是由2个氢原子和1个氧原子构成的,因此水可以表示为H2O。

3258703483cd448af9972dfce17d6f9e.png
学生活动交流讨论:怎样从微观的角度分析水分解的变化过程呢?

8ac3f7014583b0d00c25e2106dcfc86c.png
总结】1个水分子由2个氢原子和1个氧原子构成水分子电解后分解成氢原子和氧原子,2个氢原子结合成1个氢分子2个氧原子结合成1个氧分子
通过逐步引导学生对实验现象的观察、描述和分析,使学生认识实验探究对认识物质组成的重要性,加强学生的实验探究能力和分析推理能力
通过对水的宏观和微量认识,促进学生形成宏微结合的化学思维方式,,帮助学生建立宏观和微观之间的联系。
课堂总结
本节课我们从水的生成和水的分解两个角度认识了水的组成,还从微观的角度认识了水分解的实质。

e81c75b67350b0286e31affe852e1c98.png
课堂练习
1.电解水实验如图。下列说法不正确的是(     )

a19c3888df209d4dbc7fc21453920ac3.png
A.试管2中得到氧气
B.产生氢气与氧气的体积比约为2:1
C.该实验说明水由氢气和氧气组成
D.该化学反应的条件是通直流电
2.下列有关电解水实验的说法错误的是(  )

e1e4e0818e8068881fd7f032148ef571.png
A.a和b体积比约为2:1        
B.氢气(H2)具有可燃性        
C.水是由氢元素和氧元素组成的        
D.水的电解是物理变化
3.如图是电解水的简易装置和电解水的微观示意图。

b6e43707813fdd462edf49c24107dc05.png
(1)图1中,通电一段时间后,写出A、B试管内产生气体的体积比:________。
(2)电解水的微观示意图(图2)中正确的排列顺序为_______。
【答案】1.C   2.D   3.(1)1:2   (2)②③①
板书
设计
课题2 水的组成
第1课时 水的组成的探究
一、氢气:可燃性
氢元素   氧元素   氢元素和氧元素   (元素守恒)
二、电解水:正氧负氢、氢二氧一
氢元素和氧元素 氢元素 氧元素   (元素守恒)
教学
反思
本节课以科学史实为主线,运用反应前后元素种类不变的思想,通过氢气燃烧实验和电解水实验得出水是由氢元素和氧元素组成的,形成认识物质组成的思路和方法,在观察现象的基础上进行讨论,达到发展科学思维,养成科学态度的目的。
不足之处:在水的电解演示和学生探究实验中,时间把握不当,电解时间太短,使实验现象不明显。
您需要登录后才可以回帖 登录 | 立即注册

本版积分规则

Archiver|手机版|小黑屋|5432教案网 ( 蜀ICP备2022024372号-1 |川公网安备51152402000101号 )|网站地图

GMT+8, 2026-5-19 17:13 , Processed in 4.844950 second(s), 31 queries .

Powered by Discuz! X3.5

© 2001-2026 Discuz! Team.

快速回复 返回顶部 返回列表