找回密码
 立即注册
搜索
查看: 1|回复: 0

(必修1)2.1 大气的组成和垂直分层导学案(2)

[复制链接]

2万

主题

224

回帖

13万

积分

管理员

积分
134502
发表于 4 小时前 | 显示全部楼层 |阅读模式
第二章地球上的大气 
第1节 大气的组成和垂直分层

ebba3c46d7188b3adf0ec516673616b9.png
  • 理解大气的组成及其作用;
  • 理解大气的垂直分层及各主要层次的主要特点。

8782edf28c15ac32d21d6947456ef67c.png
1.重点:大气主要成分的环境意义;对流层、平流层大气的特点;人类活动与各层大气的关系
2.难点:大气垂直分层的依据;对流层、平流层大气的特点

5cde7c138e5cdfc19d45d5fcc80be4f8.png
一、大气的组成和垂直分层
(一)、大气的主要组成成分及作用
1、低层大气主要是由        、      三部分组成。
干洁空气主要由__________(78%)、__________组成。
组成成分
在地理环境中作用





含量最,是地球生物体内蛋白质的重要组成部分。

是生物维持生命活动必需的物质。
CO2
是绿色植物进行的原料,是温室气体。
O3
含量极少,能够吸收,被誉为
水汽
水的三相变化,产生了云、雨、雾、雪等天气现象
固体杂质
作为,是成云致雨的必要条件
(二)、大气的垂直分层
读“大气的垂直分层”图,

3c081bce78a6ca8ff7a81b6b4a407919.jpg
1、依据大气在垂直方向上密度、温度等物理性质和运动状况,可以将大气分为________、________、________三层。
2、各层特点及对人类的影响:
高度
特点
高层大气
平流层顶
以上
气压低,密度小;
在80—500千米的高空,有若干_______,能反射_________________,对无线电通讯有重要作用。
气温先降后升
能传播无线电短波
平流层
对流层以上到50千米—55千米
气温随高度的增加而_______,因为该层气温基本不受地面影响,而是靠_______吸收太阳紫外线增温。22-27千米有臭氧层
气流以____运动为主。 该层上热下冷,不易对流,大气稳定
大气稳定,上水汽和固体杂质少,天气能见度好, ,有利于高空飞行
臭氧大量吸收紫外线,成为人类生存环境的天然屏障
有利于__________________
对流层
低纬度17—18千米;
中纬10—12千米;
高纬度仅8—9千米。
气温随高度的增加而______,对流层大气主要的直接热源是
______;(主要靠吸收地面长波辐射增温)离地面越高,气温越低;    对流层中海拔每上升100米,气温下降
________运动显著。对流层高度由低纬度向高纬______,
天气现象__________:整个大气质量的3/4和几乎全部的水汽、固体杂质都集中在对流层,通过对流运动上升、降温,成云致雨。风、云、雨、雪等现象均发生在这一层。
与人类关系_________

aa66ee625a1bef87bbb9ae6d83c38435.png
1.为什么对流层天气现象复杂多变而平流层多晴朗天气?
2.非洲最高的山峰乞力马扎罗山,地处赤道附近,山顶却终年积雪,这是为什么?
3.一架飞机沿一万米高空从南极飞到北极,依次穿过了哪几层大气?(提示:对流层的厚度与地面的温度有关。地面温度越高,大气对流运动越强烈,对流层厚度越大;反之,厚度越小。)
4.月球表面有很多的陨石坑,但是在地球表面却几乎看不到,这是为什么?

158541c629500e9a76c1b30735b46a3e.png
1.关大气中各主要成分作用的叙述,正确的是(    )
  A.二氧化碳大量吸收太阳辐射中的紫外线
  B.氧气对地面有保温作用
  C.水汽和固体杂质是成云致雨的必要条件
  D.氮是人类和一切生物维持生命活动所必需的物质
2.东京飞往旧金山的班机,航行在8000m的高空,突遇雷暴天气,下列几种应急措施中最可行的是(    )
A.迅速着陆  B.保持原高度  C.降低飞行高度  D.拉升至本航线的上限高度11千米
3.关于平流层的叙述,正确的是(    )
  在平流层中存在一个电离层,能反射无线电波气温基本上不受地面影响  平流层底部气温随高度增加而迅速上升气流以平流运动为主
4. 破坏臭氧层的最主要物质是(    )
A.碳氢化合物    B.氟氯烃化合物  C.氮氧化合物    D.二氧化碳
5.海平面附近某对流层顶气温为一50%,近地面气温为11%,该地对流层厚度为(    )
A.10.17km    B.9.34kin  C.11.47km D.12.02km
下图示意大气垂直分层,读图回答6~8题。

2b36a2238f439adba2eca7257703ae3f.png
6.图中正确表示大气层气温垂直变化的曲线是(    )
A.    B.  C.    D.
7.对短波通信具有重要意义的电离层位于(    )
A.工层顶部  B.Ⅱ层底部  C.Ⅱ层中部  D.Ⅲ层
8. “神舟”五号飞船运行轨道所在大气层(    )
A.气温在一50~20℃之间               B.气温随高度增加平稳下降
C.最低气温约为一80℃                 D.最高气温约为40℃
2017年8月28日,遥感卫星17号从酒泉发射升空。据此回答9~10题。
9.下列图示能正确反映遥感卫星17号在升空过程中经历的大气环境状况的是(  )

7eb553f2aca72e67058f7b35fceb638f.jpg
10.下列有关Ⅰ、Ⅱ层可能出现的现象描述不正确的是        (  )
A.飞机在Ⅰ层飞行有时会出现颠簸现象
B.飞机在Ⅱ层飞行时,飞行员常感觉是万里无云
C.在Ⅰ层中有时会出现气温随高度增加而上升现象
D.在Ⅱ层中沐浴阳光时不会损伤皮肤
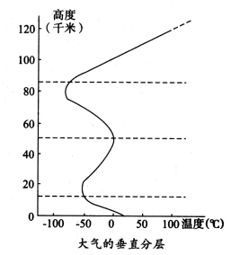
11.读“大气的垂直分层图”,完成下列问题。

51d3da94c3a062d5af22e4a1a455a3ca.jpg
(1)大气垂直分层的依据是什么?
(2)A层大气在气温、气流状况及与人类关系方面,各有哪些特点?
(3)人类生存环境的天然屏障指的是哪一层?为什么?该层空气的主要运动方式是什么?气温在垂直方向上如何变化?
(4)电离层分布在__________(填字母);利于高空飞行的是__________(填字母),为什么?
您需要登录后才可以回帖 登录 | 立即注册

本版积分规则

Archiver|手机版|小黑屋|5432教案网 ( 蜀ICP备2022024372号-1 |川公网安备51152402000101号 )|网站地图

GMT+8, 2026-3-28 09:13 , Processed in 0.668784 second(s), 31 queries .

Powered by Discuz! X3.5

© 2001-2026 Discuz! Team.

快速回复 返回顶部 返回列表