找回密码
 立即注册
搜索
查看: 243|回复: 0

[浙教版] (八上)1.2水的组成(原卷版)(导学案1)

[复制链接]

4万

主题

224

回帖

19万

积分

管理员

积分
196389
发表于 2026-3-23 09:45:50 | 显示全部楼层 |阅读模式



24e3cefaedb626594a8c375b0081bd11.jpg
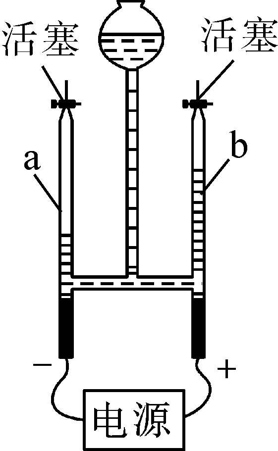
知识点1 水的电解
1实验仪器和药品
(1)仪器:水电解器、玻璃管、直流电源等。
(2)药品:水(由于纯净水的导电性很弱实验中常在水中加入少量稀硫酸或氢氧化钠溶液且不影响实验结果)
2实验现象

12abe5c175b8ee3daa6d8ee76d9dc1f6.png
(1)接通直流电时可以观察到:两个电极上出现气泡正极产生气泡的速率慢负极产生气泡的速率快两支玻璃管内液面经过一段时间后正、负极所产生气体的体积比约为
(2)用点燃的火柴接近液面下降较多(产生气体较多)的玻璃管尖嘴慢慢打开活塞观察到气体能燃烧且火焰呈淡蓝色点燃时发出一声轻微的爆鸣声;用带火星的木条接近液面下降较少(产生气体较少)的玻璃管尖嘴慢慢打开活塞观察到带火星的木条复燃。
说明 氢气具有可燃性能够在空气中燃烧发出淡蓝色火焰;氧气具有助燃性,能使带火星的木条复燃。这也是检验氢气和氧气常用的方法。
3实验结论
知识点2 水分子的构成
水的电解实验可以说明水分子中含有两种不同的、更小的粒子这种粒子就是。科学实验证明一个水分子中含有两个和一个水电解的过程示意图如图所示:

ecedb3fc93ef4e1f1ad5563d016d0c73.png

8ed54eba730d6a417f861723a868945a.jpg
一、单选题
1用如图所示的装置进行电解水实验,有以下描述:  

8b0e4ddb9cc7fedb94b0d68b9fad1dda.png
向水中加入少量硫酸,能使水电解产生气体的速度变大
甲、乙两试管内收集到的气体的体积比约为21
甲试管内产生的气体能燃烧
乙试管内产生的气体能使带火星的木条复燃,
以上描述中正确的是(  )
A①②③④        B        C①②        D①②③
2如图是电解水的过程示意图。分析该图,下列判断错误的是(  )

b359dcfc0c383ce006e6d7516389faab.png
A.水在通电条件下生成氢气和氧气B.水分子中含有更小的粒子
C.氧原子在通电条件下组合为氧分子D.氢原子在这个过程中没有发生变化
3在电解水的实验中可以直接观察到的现象是(  )   
A.水是由氢、氧元素组成
B.有氢气和氧气产生,且体积比为1∶2
C.水由氢气和氧气组成
D.两电极均冒气泡,阴极管内气体与阳极管内气体的体积比约为2∶1
4电解水过程由如图步骤的模型构成(图中表示氧原子,〇表示氢原子),完整表示电解水过程的顺序是(  )  

80bc3f2b9ab24e27a5d273a2270efa4f.png
A①②③④        B②③④①        C②①④③        D④①②③
5下列说法中不正确的是(  )
A.电解水时,阴、阳两极产生气体的体积比为21
B.电解水生成氢气和氧气,说明水是由氢气和氧气组成的
C.氢气和氧气在点燃的条件下生成水,说明水是由氢和氧组成的
D.水结成冰或变成水蒸气,水的组成没有变
6有关水电解过程微观示意图,下列说法不正确的是 (  )  

1a97e273c0e2179cefdc16aa7499b811.png
A.氧分子由氧原子构成,氢分子由氢原子构成的
B.这个微观示意图说明了水分子是由氧原子和氢原子构成的
C.这个微观示意图说明了原子是化学变化中的最小粒子
D.该实验证明了水中含有氢气和氧气
7如图是某同学自制的电解水的装置。下列说法正确的是(  )

7a474aeda4af0a3774cc94fd2c1b6dcb.png A.这个实验证明水是由氢气和氧气组成的
BA极试管得到的是氧气
CB极产生的气体能使带火星的木条复燃
D.连接A极的是电源的负极
8下列有关电解水实验的说法正确的是(  )  
A.电解水实验证明水是由氢氧两种元素组成的
B.负极端产生的气体能使带火星的木条复燃
C.两个电极产生气泡的速率一样
D.正极端产生的气体体积更大
9水是宝贵的资源,我们应当了解水、认识水、用好水.下列关于水的说法中,正确的是(  )
A.无色透明的自来水大多是纯净物
B.水是最常见的溶剂,广泛用于工农业生产
C.用水可以灭火,是因为水降低了可燃物的着火点
D.电解水时,与电源正负极相连的两个电极上产生的两种气体的质量比是12
10水是最常见的物质,下面是同学们对水的认识,你认为正确的是(  ).  
水是由氧气和氢气组成的一种物质;水是生物生存所需的最基本的物质;
水通常以固、液、气三态存在;     ④在实验室中,水是不常用的溶剂
A① ②        B② ③        C② ③ ④        D① ② ③ ④

6dc4f434377991dbddae4ddaadf50a14.png 11在一定条件下水分子分解的示意图如图(表示氧原子,表示氢原子)。下列关于该反应的说法中,错误的是(  )  
A.水分解后生成氢气和氧气   
B.生成氢分子和氧分子的个数比为21
C.反应前后原子的个数不变   
D.反应前后分子的个数不变
12同学们用电解水氢气燃烧两个反应探究水的组成,他们依次进行了如下实验。有关描述正确的是(无水CuSO4可以吸收水分,且不与氧气反应)(  )  

3064b4bce9648d2376dc972291049a4c.png
A.无水CuSO4的作用是检验氢气燃烧的产物
B.实验中若在空气中点燃氢气,一定会发生爆炸
C.实验中集气瓶内壁上会出现小水滴
D.以上说法都不正确

ba62cac47a0212f14db907457aaf8bcd.png 13用如图所示装置进行电解水实验(其中乙电极连接了电源的正极),反应一段时间后,对有关现象和结论的描述,正确的是(  )  
A.甲试管中收集到的气体能支持燃烧
B.乙试管中收集到可燃的气体
C.甲、乙两试管中收集到的气体质量比为2∶1
D.甲、乙两试管中收集到的气体体积比为2∶1
14构建化学基本观念是学好化学的基础。 下列对化学基本观念的认识不正确的是(  )  
A.元素观:过氧化氢和水都是由氢元素和氧元素组成的
B.结构观:过氧化氢和水的化学性质不同是因为两者的分子结构不同
C.微粒观:过氧化氢是由氢分子和氧分子构成的
D.转化观:过氧化氢在一定条件下可以转化为水
15用如图所示的装置进行电解水实验,有以下描述:向水中加少许硫酸,能增强水的导电性;、乙两试管内收集到的气体的质量比约为21甲试管内产生的气体能燃烧;该实验说明水是由氢原子和氧原子构成的。以上描述中正确的是(  )

0f268f57da848ccde8c728e4603a85b7.png
A①②③④        B①③④        C③④        D①③
二、填空题
16如图是电解水的简易装置和电解水生成气体体积与时间的关系图。试回答下列问题:

dd51dafe30c3a1f765c07e5fc82670ad.png
1)若甲试管中生成B气体,则B气,b应接电源的极。
2)图中的现象表明实验(选填未开始”“刚开始已进行一段时间”)
3)该实验可以说明,水在通直流电的条件下,生成了两种不同的气体,请书写其文字表达式:
17学习科学以后,我们对水有了更全面的认识。关于回答下列问题:
1)水是生命之源,人类的生产生活都离不开水。水是常用溶剂,配制下列溶液时,以水为溶剂的是(填序号)。生理盐水  ②医用碘酒硫酸铜溶液
2)写出电解水所发生反应的文字表达式 。所以水是由 组成的。  
3)将浑浊的河水用简易净水器进行净化,净化后得到的 (填纯净物混合物)。  
18水是宝贵的资源,兴趣小组同学开展了有关水的研究。

efcd236835fc103e54c7114d0abbdcd1.png
1)用喷雾加湿器工作时将水变成细小雾滴,并通过风送入房间,从而对空气进行加湿。该过程主要模拟了水循环中的(选填下列各项的序号)水汽输送:蒸发;降水。   
2)如图甲中,一根竖直放置的环形管内注满水,内水有一个轻质小球。若在A处加热,则小球将(选填)时针随水运动。   
3)如图乙是水电解的示意图,通直源电一整时间后,在左侧试管内收集到的气体是
19电解水的实验装置如图所示,据图回答:

ad6dbd5b2d8668e475709c9c45f5276d.png
1)电源A端是 (”)极。
2)通电一段时间后,甲试管与乙试管中气体体积比为,试管甲中的气体是,验证此气体的方法是
3)实验中发现两种气体体积比值和教材中不符,可能的原因是
20如图是电解水的实验装置,通电后,两电极上都有气体放出。

a349005de7b4731ec39e39fcdccd356c.png
1)检验试管 D 中的气体,发现它能能使带火星的木条复燃,说明这种气体是,所以 B 为电源的极。
2)该反应能得出的结论是
三、实验探究题
21如图是水电解实验示意图。

a43e428d0462ac020b7d2e982fe4c057.png
1)该实验使用的电源应是直流电,A连接电源的极。
2)做该实验往往在水中加入少量的氢氧化钠和稀硫酸的目的是
3)怎样用实验来检验乙试管中产生的气体?答:
4)由这个实验可以得出:
水电解实验,这个变化是什么变化,为什么?答:
写出水电解的文字表达式
5)试分析实验中得到的氢气和氧气的体积比略大于2∶1的可能原因是
22小金利用如图所示的装置研究影响电解水速度的因素,他在水中加入少许硫酸溶液以增强其导电性(硫酸本身不会减少)。实验中记录数据如下表:
63bb7d55ebb6a9e22a1d8f4546f1a160.png
实验次数
1
2
3
4
5
6
7
蒸馏水体积/毫升
200
200
200
200
200
200
200
加入10mL硫酸的质量分数
0
10%
15%
20%
25%
30%
35%
收集到氢气体积/mL
20
20
20
20
20
20
20
收集到氢气时间/
2648
1236
885
423
262
216
205
1)电解时观察到的现象有:两个电极上都有气泡产生,且正极与负极气体的体积比约为
2)用燃着的木条分别置于玻璃管尖嘴口,打开活塞,若观察到,则证明气体为氢气。
3)本实验通过比较来判断电解水的速度。
4)通过实验得到的结论是

您需要登录后才可以回帖 登录 | 立即注册

本版积分规则

Archiver|手机版|小黑屋|5432教案网 ( 蜀ICP备2022024372号-1 |川公网安备51152402000101号 )|网站地图

GMT+8, 2026-5-20 00:31 , Processed in 2.258031 second(s), 32 queries .

Powered by Discuz! X3.5

© 2001-2026 Discuz! Team.

快速回复 返回顶部 返回列表