找回密码
 立即注册
搜索
查看: 151|回复: 0

[浙教版] (七上)第2章《丰富多彩的生命世界》单元练习(原卷版)(导学案4)

[复制链接]

4万

主题

224

回帖

19万

积分

管理员

积分
196389
发表于 2026-3-21 02:11:26 | 显示全部楼层 |阅读模式
2章《丰富多彩的生命世界》单元练习
.选择题
1.下列各选项中,可以看作一个生态系统的是(  )
A.一片草地上的阳光、土壤和空气等无机环境        
B.一个池塘中的所有动物、植物和微生物        
C.一块农田上的所有生物和它们的生活环境        
D.一片森林中的所有树木
2.被某化工企业污染了的河流里,生物体内残留的有毒物质的含量情况如表。那么,据此可知该河流内最可能的食物链的构成是(  )
生物体
A
B
C
D
有毒物质浓度
0.06
1.23
8
78
ADCBA        BABDC        CBACD        DABCD
3.下列有关生物多样性的叙述错误的是(  )
A.不同地区的生物物种多样性是不同的        
B.大多数生物的灭绝都是丧失栖息地造成的        
C.自然界中的任何一种生物都有存在的价值        
D.要保护生物物种的多样性,必须禁止对生物资源的开发和利用
4.生物多样性是人类赖以生存和发展的基石,下列措施不利于生物多样性保护的是(  )
A.建立濒危动物繁育中心        
B.大量收集珍稀物种做标本        
C.不随意引进外来物种        
D.建立自然保护区
5202345月,多次断崖式的“倒春寒”导致部分地区玉米生长发育不良,甚至死亡。这体现了生物与环境的关系是(  )
A.环境影响生物        B.环境适应生物        
C.生物影响环境        D.生物适应环境
6.“朵朵葵花向太阳”所表现出的生物特征是(  )
A.生物能进行呼吸        
B.生物能排出体内产生的废物        
C.生物的生活需要营养        
D.生物能对外界刺激作出反应
7.小科在学习“练习使用显微镜”内容后,对显微镜使用过程中出现的问题与对应的解决方法作了如下总结,其中正确的是(  )
A.物像偏左方——向左移动        
B.物像太小——换用凹面反光镜        
C.视野较暗——换高倍目镜或高倍物镜        
D.物像不清晰——调节粗准焦螺旋
8.用显微镜观察“洋葱表皮细胞”临时装片时,观察的视野如图所示,导致该现象出现的关键操作步骤应该是(  )

d66f6fc8b4dd33f6a5c565aaab59e3c3.png
A
194c9d7366ecdd0ddd0bdb6200aa9a97.png 取材料        B
8f35ecd2f6980a673d10b611c9670dbe.png 滴加清水        
C
891c089919312c7235408b7c90e7c947.png 展平材料        D
cd720eaf378988491e8fbfc60b31a393.png 盖盖玻片
9.如图是小金同学利用彩色橡皮泥制作的植物细胞模型,不同颜色的橡皮泥表示不同的细胞结构。其中哪一种颜色的橡皮泥表示能控制物质进出的结构(  )

937cea4d1fdb6c7a8a28e38b37ad0f5f.png
A.黑色        B.红色        C.蓝色        D.绿色
10.课堂上老师介绍了二分类检索表后,要求同学们回家也制作一张简易检索表,将:鳄鱼、蜗牛、鸽子、蝗虫、草鱼进行分类。小明同学制作的检索表如表所示,RM分别对应的动物是(  )
a 无脊骨…………………………2
1b有脊椎骨…………………………3
2a身体分节,有外骨骼……………R
2b身体分节………………………S
3a卵生,体温不恒定………………4
3b卵生,体温恒定…………………P
4a 生活在水中,用鳃呼吸…………Q
4b 生活在陆地上,用肺呼吸……M
A.蜗牛鳄鱼        B.蝗虫鳄鱼        C.蝗虫鸽子        D.草鱼鸽子
11.如图中14表示某些科学概念之间的关系,下列选项符合图中所示关系的是(  )

2aa5bc9df27bc44f1b9c4ff39088fdd7.png
A1脊椎动物、2爬行动物、3哺乳动物、4青蛙        
B1孢子植物、2蕨类植物、3苔藓植物、4树蕨        
C1种子植物、2被子植物、3裸子植物、4松树        
D1无脊椎动物、2扁形动物、3节肢动物、4蛔虫
12.学习了绿色植物的主要类群后,小海同学进行了如下梳理总结,其中正确的是(  )
A.紫菜是藻类植物,依靠它的根固着在浅海岩石上        
B.葫芦藓孢萌中的孢子,落在向阳、干燥的土壤中长成新的植株        
C.肾蕨有根、茎、叶的分化,用孢子进行繁殖        
D.银杏是最古老的裸子植物之一,其果实俗称“白果”
13.第19届亚运会在主办城市杭州(120°E30°N)、浙江师范大学(119°E29°N)等六大赛区举行。我国运动员表现出色,同时亚运会上机器狗,吉祥物琮琮、莲莲、宸宸让人印象深刻。结合上述信息回答下面小题:吉祥物“莲莲”取名源于西湖中无穷碧色的接天莲叶,有诗云:“接天莲叶无穷碧,映日荷花别样红”就是描述此景。这种植物属于(  )
A.被子植物        B.裸子植物        C.蕨类植物        D.苔藓植物
14.长江江豚、白鳍豚、中华鲟、扬子鳄均属长江流域的珍稀物种。小温设计了一张检索表对这四种动物进行分类。依据检索表,下列属于白鳍豚和长江江豚共同特征的是(  )
1a有四肢……扬子鳄
1b无四肢……2
2a尾鳍竖立……中华
2b尾鳍水平……3
3n嘴狭长……白鳍豚
3b嘴短阔……长江江豚
A.尾鳍竖立        B.尾鳍水平        C.嘴狭长        D.嘴短阔
15.实验课上,同学们使用显微镜观察洋葱表皮细胞的过程中出现了以下的现象,下列说法错误的是(  )
ffb6233607ad947caceea52a38ed3b92.png
A.图甲现象是在操作过程中表皮撕取太厚引起的        
B.图乙现象是在操作过程中盖盖玻片不当造成的        
C.针对图丙现象,应将片向右上方移动使其位于视野中央        
D.针对图丁现象,可以通过调节细焦螺旋和反光镜获得清晰图像
二.填空题
16.歌曲《洋葱》中有这样一句歌词,“如果你愿意一层一层一层地剥开我的心,你会鼻酸,你会流泪”。对此现象进行分析:
1)如图甲所示,被“一层一层一层地剥开”的结构是洋葱的鳞片叶,其结构层次为 。洋葱为伞状花序,开白色小花,则洋葱属于 (选填“被子”或“裸子”)植物。
2)“你会鼻酸,你会流泪”是因为洋葱中含有“辣”眼睛的物质,这种物质存在于图乙洋葱细胞内的 中,与动物细胞比较,洋葱细胞“棱角分明”是因为细胞结构中的细胞壁具有 作用。

f9e4b821f86b905b611feb5cade0c029.png
17.玉米、玫瑰、桃3种植物的分类情况如下:玉米在分类上隶属于:玉米属、禾本科、禾本目、单子叶植物纲、种子植物门;玫瑰在分类上隶属于:蔷薇属、蔷薇科、蔷薇目、双子叶植物纲、种子植物门;桃在分类上隶属于:梅属、蔷薇科、蔷薇目、双子叶植物纲、种子植物门。玉米、玫瑰、桃这三种植物中, 的共同特征相对较多, 的共同特征相对较少。
18.中国科学院邹承鲁院士说:“我发现许多生命科学的问题,都要到细胞中去寻找答案。”如图是细胞结构或生理功能模式图,请据图回答下列问题:
1)甲、乙两图中,属于植物细胞的是 图。
2)细胞的各个结构都有各自独特的功能。丙图反映了[]具有的 的作用。
3)细胞内每时每刻都发生着非常复杂的物质和能量的变化,需要在 (填序号和名称)指挥和控制下进行。

29bb7608bd9aaee52ad1b0d4af909ab2.png
19.小科观察了四种植物叶片的特征,尝试对这四种植物进行分类,并制作了二式分类检索表,表中“****”处信息已省略。此检索表中“?”处的信息是
种类
叶片信息

叶缘内有褐色纹;叶呈盾形、浅裂

叶缘内无褐色纹;叶呈掌形、深裂

叶缘内无褐色纹;叶呈盾形、深裂

叶缘内无褐色纹;叶呈掌形、浅裂
1a****
1b****2
2a****
2b3
3a****
3b****
20.如图为某镇稻田生态系统示意图,与传统稻田管理相比,引鸭入田,实现了稻鸭共育,增加了农业生态经济效益。

76b5fae6896addadd5cf6b8a7a3c20a7.png
1)写出图中含鸭的一条食物链:
2)除温度、水、空气、无机盐外,影响水稻产量的非生物因素还有
三.实验探究题
21.某班同学进行临时装片制作,并制作细胞模型,请回答下列问题。

72a8efacce437549bb166ae049e115ef.png
1)制作临时装片盖好盖玻片后,用滴管在盖玻片一侧滴加12滴红墨水(或碘液)。在另一侧用吸水纸吸水,其目的是
2)图甲中,观察装片时,在视野从AD的调节过程中,一定不需要调节图中显微镜结构中的 (选填序号)。
3)图乙是小科用橡皮泥制作植物细胞示意图,如下表是制作的指标评价标准:
等级
优秀
良好
待改进
指标
符合细胞的形态特征,结构完整,名称标注正确且齐全,整体美观。
符合细胞的形态特征,结构完整,名称标注正确但有遗漏,整体整洁。
不符合细胞的形态特征,结构不完整,名称标注有误或不全。
根据评价指标,小科同学制作的模型应被评为
22.为研究生物细胞的结构,小青同学用洋葱鳞片叶内表皮细胞、人的口腔上皮细胞等材料做实验。请观察图,回答问题。

8d84283f8a5abee6f9f919700021814c.png
1)旋转图1的粗准焦螺旋使镜筒缓缓下降时,为了避免压碎片标本,操作者的眼睛一定要看着 (填字母)。
2)小琴同学用显微镜观察时,看到了一个黑点,该同学为了正确快速判断黑点可能存在的位置,画出了如图2所示的思维导图,其中所填的文字应是
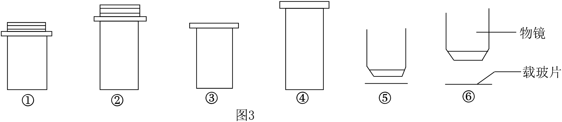
3)为使圆形视野中看到的细胞数目最少,某同学使用了图3中的 (填序号)镜头组合及物镜和玻片距离

2827b779007f23b6849cab8d4d32eeb1.png
4)如图4要把视野中的物像从图A转为图B所示情况,其正确的操作顺序为

a1e68f492370ce7925b2de8e39a08ce1.png
a.片向右下方移动使细胞移至视野中
b.转动转换器,把低倍物镜换成高倍物镜
c.片向左上方移动使细胞移至视野中央
d.转动转换器,把高倍物镜换成低倍物镜
e.调节粗准焦螺旋至物像清晰
f.调节细准焦螺旋至物像清晰
A.abf                B.bdf                C.cbf                D.dae
5)小青发现4中的目镜有5×和8×的,物镜有40×和10×,则在不调整光圈和反光镜的情况下,视野内亮度最亮的镜头组合的放大倍数为
23.学校开展细胞模型制作活动,同学们在老师的带领下分小组进行项目规划,开启了项目学习的探究实践之旅。请你运用所学知识回答下列问题:

4033b862845f033f3658d6be95fb9b42.png
1)第一组同学制作了口腔上皮细胞临时装片,在显微镜下看到图像如图所示,若想让物像移动到视野中央,应向 方向移动装片。
同学们在老师的指导下制作了细胞模型,同时针对该模型的科学性设计了如下评价量规。第二组同学利用彩色橡皮泥等材料制作了植物细胞模型,如图所示。
植物细胞模型评价量规(节选)
评价指标
优秀
良好
待改进
指标a
结构完整,无缺失,且能选择与其功能相匹配的材料
结构不完整,有 12 处缺失,且选择的材料与其功能匹配度一般
结构不完整,缺失3处及以上,且选择的材料与其功能不匹配
指标b
模型的设计与材料的选择,至少能展示细胞中2个结构的功能
模型的设计与材料的选择,能展示细胞中1个结构的功能
模型的设计与材料的选择,未能展示细胞结构的功能
2)制作细胞膜时,有两种材料可供选择,一种是透明塑料薄膜,另一种是网眼很小的细纱网。你会选择哪种材料?并简要说明理由
3)根据评价指标a,该组同学的作品被评定良好,为使该模型“指标a”达到优秀水平,请你对该模型提出合理的改进建议:
四.解答题
24.小科参加学校开展的“自制简易显微镜”项目化学习活动,他利用2块放大镜(AB)、纸筒、光盘、平面镜和升降支架等材料制作了一台“简易显微镜”(如图甲)。通过适当调节支架高度,调整标本和放大镜之间的距离,可实现与实验室光学显微镜相似的成像效果。项目化评价小组制定的“自制简易显微镜”评价表如表。

05f80901a72d9b7ab0f5075f50026d2c.png
评价指标
优秀
合格
待改进
指标
能精细调节像的清晰度
能粗略调节像的清晰度
无法调节像的清晰度
指标二
对像的大小和亮度都能进行调节
只能对像的大小或亮度进行调节
对像大小和亮度都不能进行调节
1)放大镜A相当于实验室光学显微镜中的 (填结构名称)。
2)产品调试:小科利用自制的“简易显微镜”观察细胞时,视野内的像如图乙所示,若要获得像的清晰度如丙图所示,他接下去操作是
3)产品评价:根据“指标二”,小科自制的“简易显微镜”评为“待改进”。为使“指标二”达到优秀水平,请你对该“简易显微镜”提出合理的改进建议:
25.互花米草是一种原产于北美洲的植物,进入我国后,已对我国湿地生态系统造成巨大威胁。
材料:互花米草广泛分布在我国沿海滩涂。滩涂是沿海大潮高潮位与低潮位间的潮浸地带,生活着各种贝类、蟹类和鱼类等生物。我国东部滩涂涨潮和落潮时间大多持续6小时左右,是东亚—澳大利亚鸟类迁徙飞行路线的重要途经点。
材料二:高大的互花米草单种群密集。它茎秆坚韧、直立,高可达23米;叶呈拔针形,长可达90厘米,具有盐腺,能排出大部分盐分;根系发达,有短而细的须根和长而粗的根状茎,可进行繁殖;具有高度发达的通气组织。一株互花米草可以产生超过600粒种子,12可以产生上百万种子。
材料三:科研人员在互花米草侵占的滩涂成功种植红树植物无瓣海桑无瓣海桑是引自南亚地区的大型乔木,生长速度快,5年能大量开花结果。各林龄群落的相关特征见下表。
林龄(年)
群落高度(米)
植株种类(种)
林下互花米草密度(株/2
3
3.2
30
8
11.0
3
15
16
12.5
2
0
1)结合材料和材料二信息并综合运用所学知识,解释互花米草会对迁徙的珍稀鸟类产生重大威胁的原因。
2)有专家认为可利用红树植物无瓣海桑除治互花米草。结合材料三,你是否赞同专家的观点并说明理由:
26.为了向七年级新生介绍校园的植物,学校开展了“制作校园植物手册”的项目化学习,要求选定藻类、苔藓、蕨类、裸子、被子植物等五类植物中的4类编制手册和检索表。下表是某同学制作的植物手册:
植物
葫芦藓
金毛狗蕨
红叶石楠
桂树
图谱

ae992391b96b0eccb2f1ee148da61bfc.png

b150771b6a13584a8ff82cae553d0376.png

859a992138779d365d64d0d9ba9623cd.png

63526be87d8ec0f8fe68f116ae765d26.png
特征
植株矮小,有茎、叶的分化
和茎卧生,顶端生有叶、叶下有孢子囊
叶缘带锯齿,花多,果实呈黄红色
叶对生,花丝极短,果实呈紫黑色
植物种类
苔藓植物
蕨类植物
1)手册中有一种植物在阴暗潮湿的墙壁上容易找到,根据植物的习性推测,它是
2)植物手册的一项评价指标如下,请根据该指标对手册进行等级评定,并简述理由
评价指标
评价等级
优秀
合格
待改进
植物种类数量
包含4类植物
包含3类植物
包含2类植物
3)如下图是小组对上述四种植物编制的检索表,请判断乙代表的植物是
1a有花.............2
1b无花............
2a叶缘光滑平整......
2b叶缘带锯齿.........

29ba6ca997ec5803ef110c87ee0942be.png
植物铭牌——金毛狗蕨

4)编制植物手册后,同学们开展为校园植物书写铭牌的活动,查阅发现金毛狗蕨分布于我国云南、四川南部、广东、广西、福建、台湾等地,请你为金毛狗蕨写一段铭牌资料,要求25字左右,包含植物具有的器官、繁殖方式和适宜生活的环境等信息。

您需要登录后才可以回帖 登录 | 立即注册

本版积分规则

Archiver|手机版|小黑屋|5432教案网 ( 蜀ICP备2022024372号-1 |川公网安备51152402000101号 )|网站地图

GMT+8, 2026-5-20 00:23 , Processed in 2.910684 second(s), 32 queries .

Powered by Discuz! X3.5

© 2001-2026 Discuz! Team.

快速回复 返回顶部 返回列表